N7202A043B - 第49页
Ref No. Remarks R 1 Q'ty 7 POWER UNIT 2:NPM-D3 POW ER UNIT 2:NPM-D3 イラスト No. Part No. 品 名 品 番 数量 R 2 パーツリスト Kit No. キット品番 Kit Name キット名称 N610161321AA Part Nam e 備 考 セク ション No . PARTS LIST Section No. R 3 Tr est le T…

7
POWER UNIT 2:NPM-D3
POWER UNIT 2:NPM-D3
パーツレイアウト
Kit No.
キット品番
Kit Name
キット名称
N610161321AA
セクションNo.
PARTS LAYOUT
Section No.
--
S27
( KN610161321AA-03 )

Ref
No.
Remarks R
1
Q'ty
7
POWER UNIT 2:NPM-D3
POWER UNIT 2:NPM-D3
イラスト
No.
Part No.
品 名品 番 数量
R
2
パーツリスト
Kit No.
キット品番
Kit Name
キット名称
N610161321AA
Part Name
備 考
セクションNo.
PARTS LIST
Section No.
R
3
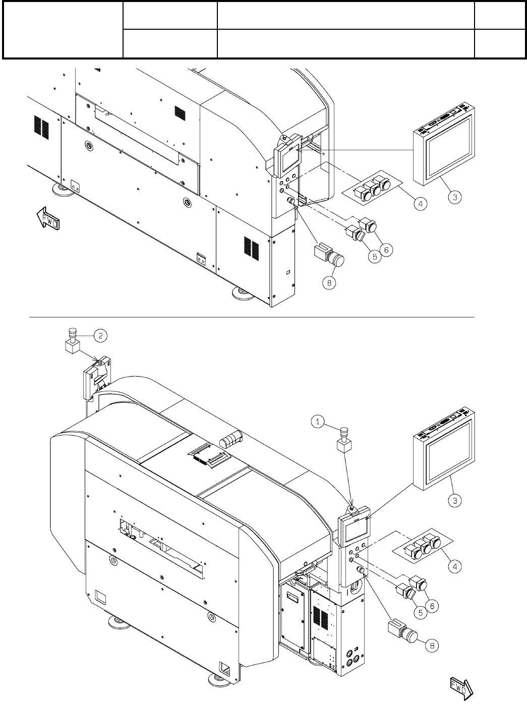
Trestle Transportation Control ILK PCB
1
1 N610161195AA
S
RELAY
2
2 N510025698AA
S
G9SC-400-CNP4E
S28
--
( KN610161321AA-03 )

8
操作部制御:NPM-D3
Operation Parts (H):NPM-D3
パーツレイアウト
Kit No.
キット品番
Kit Name
キット名称
N610161322AA
セクションNo.
PARTS LAYOUT
Section No.
--
S29
( KN610161322AA-02 )