N7202A043B - 第577页
Ref No. Remarks R 1 Q'ty 115 ヘッド無しアタッチメント :NPM-D 2 Headless Attachment:NPM -D2 イラスト No. Part No. 品 名 品 番 数量 R 2 パーツリスト Kit No. キット品番 Kit Name キット名称 N610157969AB Part Nam e 備 考 セク ション No . PARTS LIST Section No. R 3 …

115
ヘッド無しアタッチメント:NPM-D2
Headless Attachment:NPM -D2
パーツレイアウト
Kit No.
キット品番
Kit Name
キット名称
N610157969AB
セクションNo.
PARTS LAYOUT
Section No.
--
O383
( KN610157969AB-01 )

Ref
No.
Remarks R
1
Q'ty
115
ヘッド無しアタッチメント:NPM-D2
Headless Attachment:NPM -D2
イラスト
No.
Part No.
品 名品 番 数量
R
2
パーツリスト
Kit No.
キット品番
Kit Name
キット名称
N610157969AB
Part Name
備 考
セクションNo.
PARTS LIST
Section No.
R
3
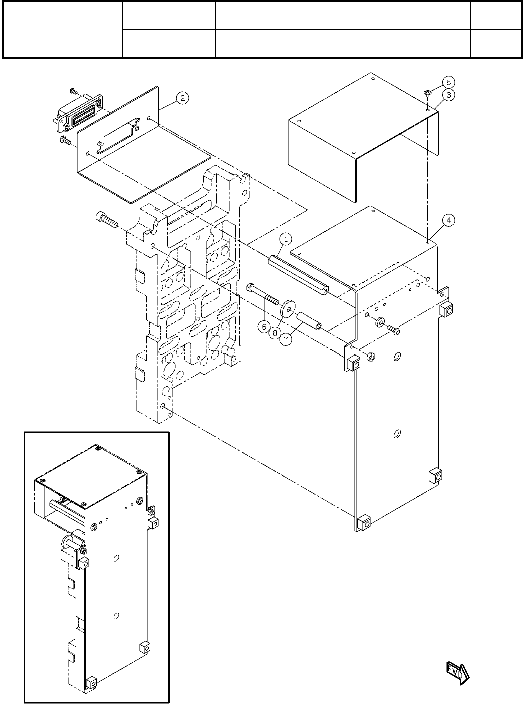
POST
2
1 N210127161AA
BRACKET
1
2 N210128460AA
COVER
1
3 N210130609AA
PLATE
1
4 N210186530AA
SCREW
4
5 N510045431AA
Cross recessed pan head machine screw with RPW M3X5-4.8 A2S
BOLT
2
6 N510041334AA
Hexagon head bolt Best class M5X40-6g 4T A2J (Trivalent)
SPACER
2
7 N510031805AA CB-530E
WASHER
2
8 N210117332AA
O384
--
( KN610157969AB-01 )

116
有線ハンディスキャナー:NPM
Wired Handy Scanner:NPM
パーツレイアウト
Kit No.
キット品番
Kit Name
キット名称
N610101135AB
セクションNo.
PARTS LAYOUT
Section No.
--
O385
( KN610101135AB-00 )