CM232-M - 第170页
9-B 一 括交換台車( コンパ ク ト タ イプ ) Feeder Cart(Co mpact Type) パーツレイアウト Kit No. キット品 番 Kit N a me キット名称 N610088987AA セクションN o. PARTS LAYOUT Section No. - - S35 ( KN610088987AA-17-2 )

Ref
No.
Remarks
R
1
Q'ty
9-A
一
括交換台車(
コンパ
ク
ト
タ
イプ
)
Feeder Cart(Compact Type)
イラスト
No.
Part No.
品 名品番 数量
R
2
パーツリスト
Kit N
o
.
キット品
番
Kit Name
キット名称
N610088987AA
Part Name
備 考
セクションNo.
PARTS LIST
Section No.
R
3
STOPPER
1
1 N210129516AB
STOPPER
1
2 N210129517AB
BASE
1
3 N210021944AB
BASE
1
4 N210021946AB
SPACER
2
5 KXFB02EHA00
GUIDE
21
6 N210092714AB
GUIDE
21
7 N210092715AA
STOPPER
2
8 N210188363AA
COVER
1
9 N210021958AA
COVER
1
10 N210024451AC
SCREW
1
11 N510018282AA
Cross recessed Truss head machine screw M4X8-4.8 A2J (Trivalent)
WASHER
8
12 N210143841AB
PIN
4
13 N510020620AA MMS6-25
SPACER
21
14 KXF0CTQAA00 BRU-309S
WASHER
10
15 N510031422AA 87FWSSB-D13.0-V5.0-T5.0
PIN
6
16 KXF0CXKAA00 1017003-60012
BUSH
2
17 N510044842AA 87JBA12-16
PIN
84
18 KXF0CXLAA00 1017003-30010
WASHER
2
19 N510020099AA Thick washer M4
WASHER
1
20 XWC4BFN
Toothed lock washer 4 External tooth Steel Nickel plating
PACKING
1
21 N210028643AA
BOLT
42
22 N510017316AA
Hexagon socket head cap screw M3X20-10.9 A2J (Trivalent)
BOLT
4
24 N510017386AA
Hexagon socket head cap screw M5X10-10.9 A2J (Trivalent)
BOLT
10
25 N510017395AA
Hexagon socket head cap screw M5X16-10.9 A2J (Trivalent)
BOLT
20
26 N510017438AA
Hexagon socket head cap screw M6X30-10.9 A2J (Trivalent)
WASHER
20
27 N510018499AA
Round finish plain washer 5 10H A2J (Trivalent)
WASHER
8
28 N510018330AA Spring lock washer No.2 4 S A2J (Trivalent)
NUT
21
29 N510017849AA
Hexagon nut Type-1 Best class M3-6H-4T A2J (Trivalent)
S34
--
( KN610088987AA-17-1 )

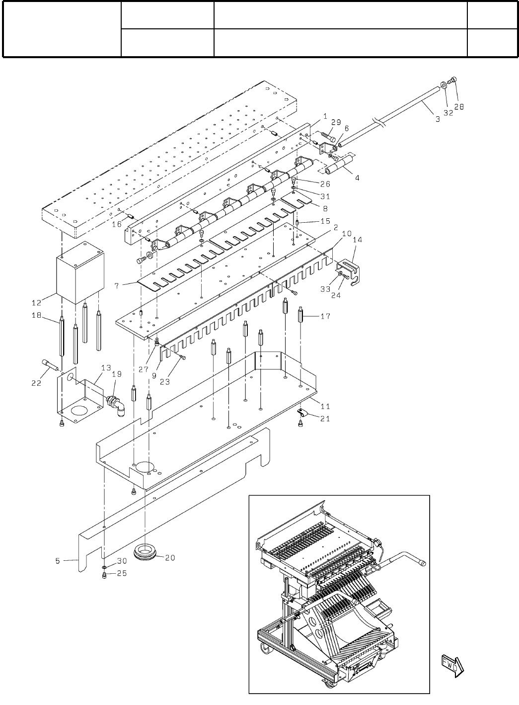
9-B
一
括交換台車(
コンパ
ク
ト
タ
イプ
)
Feeder Cart(Compact Type)
パーツレイアウト
Kit No.
キット品
番
Kit Name
キット名称
N610088987AA
セクションNo.
PARTS LAYOUT
Section No.
--
S35
( KN610088987AA-17-2 )

Ref
No.
Remarks
R
1
Q'ty
9-B
一
括交換台車(
コンパ
ク
ト
タ
イプ
)
Feeder Cart(Compact Type)
イラスト
No.
Part No.
品 名品番 数量
R
2
パーツリスト
Kit N
o
.
キット品
番
Kit Name
キット名称
N610088987AA
Part Name
備 考
セクションNo.
PARTS LIST
Section No.
R
3
PLATE
1
1 N210021947AC
PLATE
1
2 N210021948AA
SHAFT
1
3 N210021949AA
COLLAR
21
4 MTPA001544AA
COVER
1
5 N210111303AA
BRACKET
8
6 KXFB02F4A00
GUIDE
2
7 KXFB02F5A00
GUIDE
1
8 N210021950AA
COVER
1
9 KXFB02F6A00
COVER
1
10 N210021959AA
COVER
1
11 N210021957AA
COVER
1
12 N210022420AA
COVER
1
13 N210022421AA
GUIDE
1
14 N210029161AA
PIN
4
15 KXF0CXHAA00 1017003-40008
PIN
2
16 KXF0CXJAA00 1017003-50010
SPACER
8
17 N510016261AA BSF-425E
SPACER
4
18 N510016262AA BSF-480E
JOINT
1
19 KXF08GBAA00 KQLE06-00
GROMMET
1
20 KXF007TAA00 C-30-SG-32A
BAND
1
21 KXF0290AA00 KCA-34
PLUG
1
22 KXF02CRAA00 KQP-06
BOLT
10
23 N510017341AA
Hexagon socket head cap screw M3X8-10.9 A2J (Trivalent)
BOLT
1
24 N510017305AA
Hexagon socket head cap screw M3X10-10.9 A2J (Trivalent)
BOLT
18
25 N510017376AA
Hexagon socket head cap screw M4X6-10.9 A2J(Trivalent)
BOLT
15
26 N510017381AA
Hexagon socket head cap screw M4X8-10.9 A2J (Trivalent)
BOLT
6
27 N510017344AA
Hexagon socket head cap screw M4X10-10.9 A2J (Trivalent)
BOLT
16
28 N510017390AA
Hexagon socket head cap screw M5X12-10.9 A2J (Trivalent)
BOLT
5
29 N510017399AA
Hexagon socket head cap screw M5X25-10.9 A2J (Trivalent)
WASHER
14
30 N510018497AA
Round finish plain washer 4 10H A2J (Trivalent)
WASHER
12
31 N510018479AA
Small round-plain washer 4 10H A2J (Trivalent)
WASHER
10
32 N510020100AA Thick washer M5
WASHER
1
33 N510020098AA Thick washer M3
S36
--
( KN610088987AA-17-2 )