CM232-M - 第207页
Ref No. Remarks R 1 Q't y 18-B 下 流 延 長 コンベアー Downstream Extension Convey or イラスト No. Part No. 品 名 品番 数量 R 2 パーツリスト Kit No . キット品 番 Kit Name キット名称 N610016627AA Part N ame 備 考 セクションNo. PARTS LIST Section No. R 3 SENSO…

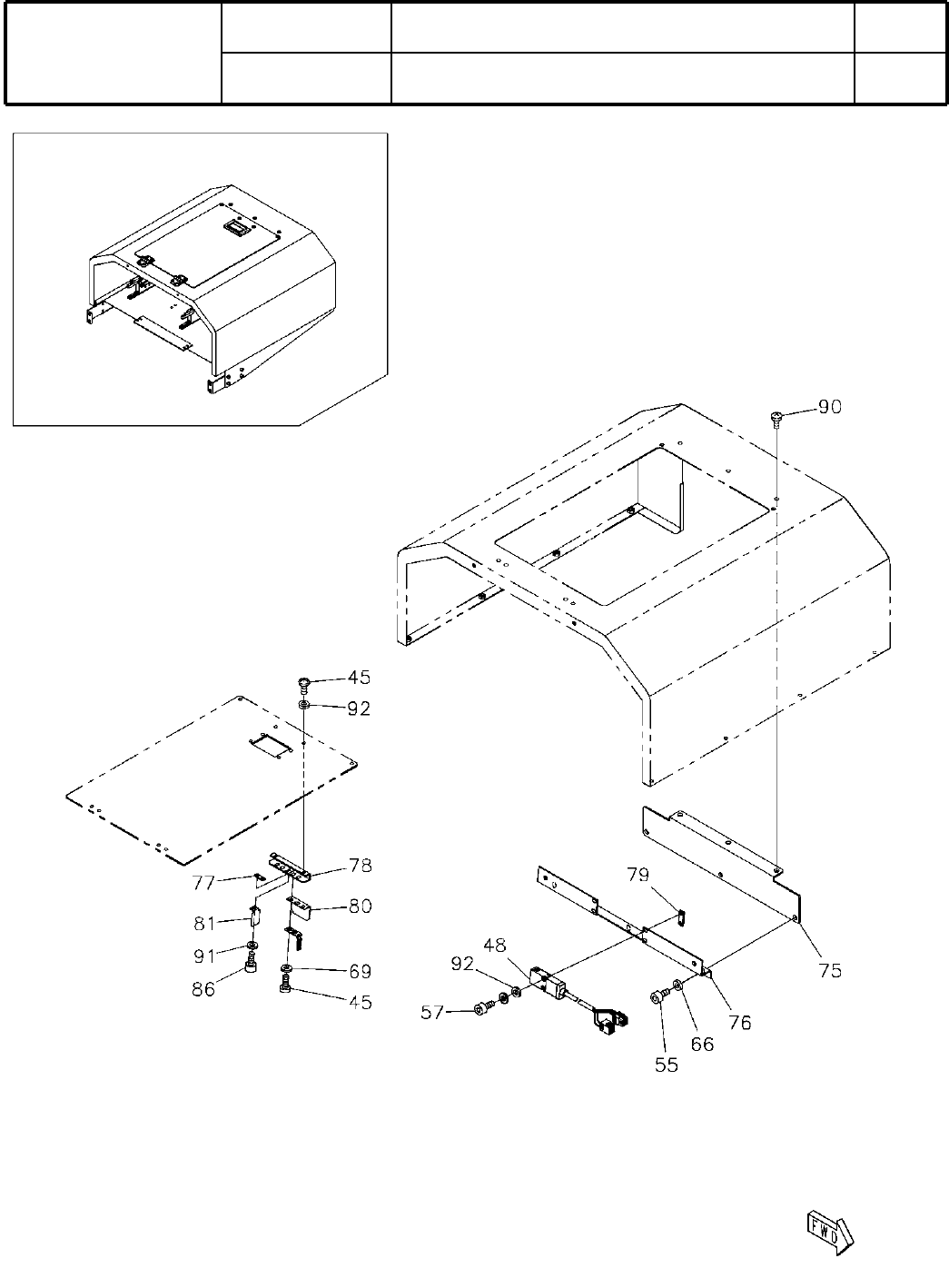
18-B
下
流
延
長
コンベアー
Downstream Extension Conveyor
パーツレイアウト
Ki
t
N
o
.
キット
品番
Kit Name
キット名称
N610016627AA
セクションNo.
PARTS LAYOUT
Section No.
--
S71
( KN610016627AA-13-2 )

Ref
No.
Remarks
R
1
Q't
y
18-B
下
流
延
長
コンベアー
Downstream Extension Conveyor
イラスト
No.
Part No.
品 名品番 数量
R
2
パーツリスト
Kit No.
キット品
番
Kit Name
キット名称
N610016627AA
Part Name
備 考
セクションNo.
PARTS LIST
Section No.
R
3
SENSOR
1
2 N610012891AA
FRAME
1
7 N210047028AB
GUIDE
1
8 KXFB01J2A00
GUIDE
1
9 N210027557AA
BAR
1
13 N210027560AA
PULLEY
1
16 KXFB02QLB00
BRACKET
1
19 N210022331AA
BRACKET
1
20 N210022332AA
BRACKET
1
27 N210027566AA
NUT
1
28 KXFB02U4A00
BRACKET
1
29 KXFB0A49B00
BRACKET
1
30 KXFB0A4AA00
PLATE
1
31 N210010735AA
PULLEY
2
37 N510010794AA MB054000
SCREW
2
39 N510017992AA
Cross Recessed Round Head Screw M4X8-4.8 A2J (Trivalent)
MOTOR
1
40 KXF0DWW9A00
S
K0354-F2M -2(DDA)
O-RING
1
41 KXF0CT8AA00 CO0616A
SCREW
2
42 XXE5C6VW
Hexagon socket set screw M5X6 Flat point SUS304 Basis material
BOLT
2
52 N510017308AA
Hexagon socket head cap screw M3X12-10.9 A2J (Trivalent)
BOLT
4
55 N510017344AA
Hexagon socket head cap screw M4X10-10.9 A2J (Trivalent)
BOLT
10
56 N510017346AA
Hexagon socket head cap screw M4X12-10.9 A2J (Trivalent)
BOLT
4
57 N510017354AA
Hexagon socket head cap screw M4X20-10.9 A2J (Trivalent)
BOLT
4
58 N510017368AA
Hexagon socket head cap screw M4X45-10.9 A2J (Trivalent)
BOLT
2
60 N510017390AA
Hexagon socket head cap screw M5X12-10.9 A2J (Trivalent)
BOLT
3
61 N510017399AA
Hexagon socket head cap screw M5X25-10.9 A2J (Trivalent)
WASHER
2
65 N510020098AA Thick washer for M3
WASHER
2
66 N510020099AA Thick washer for M4
WASHER
2
67 N510020100AA Thick washer for M5
WASHER
2
68 N510018494AA
Round finish plain washer 3 10H A2J (Trivalent)
WASHER
11
69 N510018497AA
Round finish plain washer 4 10H A2J (Trivalent)
WASHER
2
70 N510018499AA
Round finish plain washer 5 10H A2J (Trivalent)
BAR
1
73 N210040856AA
NUT-PLATE
1
82 N210040859AA
BELT
1
84 KXF0E0R1A00 (DA KXF0E0R1A00)
CAM-FOLLOWER
2
85 N510002167AA U-AS5-49
BOLT
2
86 N510017337AA
Hexagon socket head cap screw M3X6-10.9 A2J (Trivalent)
BOLT
2
88 N510017395AA
Hexagon socket head cap screw M5X16-10.9 A2J (Trivalent)
WASHER
4
92 N510018479AA
Small round-plain washer 4 10H A2J (Trivalent)
WASHER
6
93 N510018480AA
Small round-plain washer 5 10H A2J (Trivalent)
S72

18-C
下
流
延
長
コンベアー
Downstream Extension Conveyor
パーツレイアウト
Ki
t
N
o
.
キット
品番
Kit Name
キット名称
N610016627AA
セクションNo.
PARTS LAYOUT
Section No.
--
S73
( KN610016627AA-13-3 )