_ built in from SN A-220_20211123_103828 - 第5页
~ built in from SN A-220 Page 5 / 7 23.11.2021

~ built in from SN A-220
Page 4 / 7 23.11.2021

~ built in from SN A-220
Page 5 / 7 23.11.2021

~ built in from SN A-220
Page 6 / 7 23.11.2021
Pos. Item no. Description Part marking
03029082-01 UPGRADE KIT GANTRY / R2
1 03025822S03 GANTRY SYSTEM COMPL. *
2 03024678-03 GANTRY PREASSEMBLED /R2
3 03023067-01 GANTRY / PROCESSED R2
4 03000689S02 FUEHRUNGSSCHIENE X-ACHSE
GR.15 (2PCS)
*
5 03020300-01 GUIDE TROLLEY BOSCH-REXROTH
SIZE 15 LLD
6 03020301-01 GUIDE TROLLEY BOSCH-REXROTH
SIZE 15 LG LLD
7 03003089-02 BUFFER MOUNT TOP
8 03037597-01 BUFFER MOUNT BOTTOM
9 03004173-01 SLEEVE 8X6X8
10 00095046-01 HEXAGON SOCKET HEAD CAP
SCREW M6 X 14-8.8
11 00200525-01 ELASTOMER SPRING D20X8,5 90
SHORE A
SPARE PART
12 00346226-01 DIN912-M6 X 12-12.9 DACROMET
500
13 00845031-01 HEXAGON SOCKET HEAD CAP
SCREW
14 03026229-01 BUFFER MOUNT TOP
15 03026230-01 BUFFER MOUNT BOTTOM
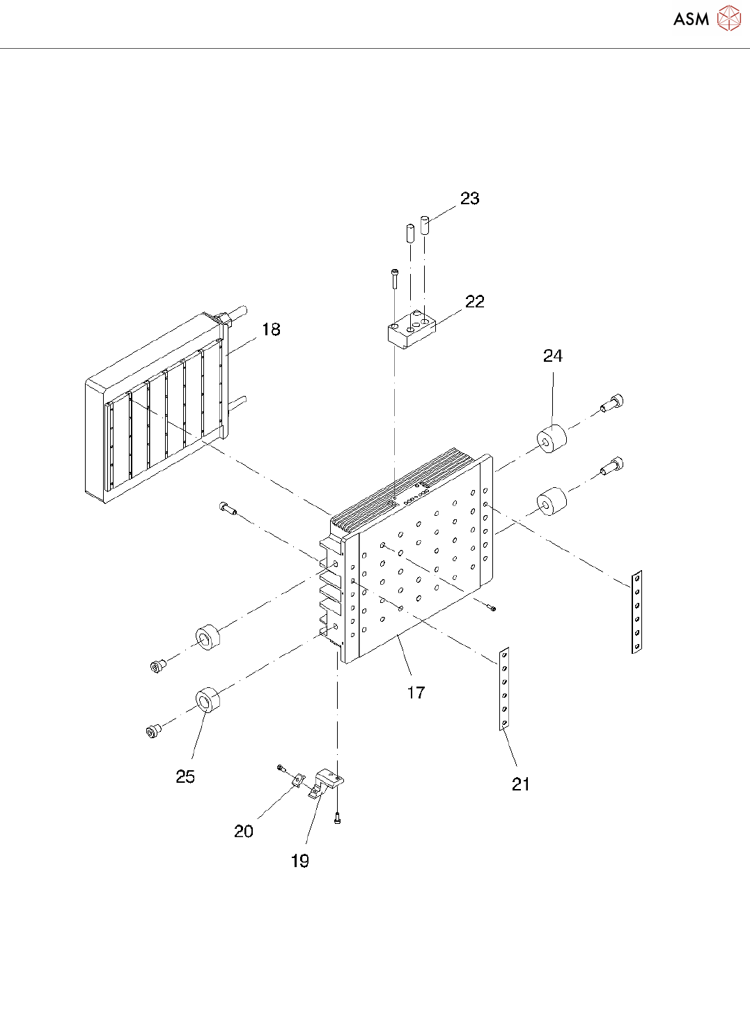
16 03013459S03 Y-DRIVE COMPL. (PRIMARY) *
17 03014281-02 Y-MOTOR HOUSING
18 03006767-03 LINEAR-MOTOR Y-AXIS
19 03013462-01 BERO HOLDER, Y-AXIS, BASE LEFT SPARE PART
20 03003046-01 PROXIMITY SWITCH MOUNT Y-AXIS
CLAMPING PIECE
21 03016782-01 INSULATION FOR SCREW-ON PART
22 03003508-02 AIR DISTRIBUTOR Y-AXIS
23 03003529-01 TUBE 8X0.3X20
24 03013461-01 STOP, RIGHT, Y-LINEAR MOTOR *
25 03013460-01 STOP LEFT Y LINEAR MOTOR SPARE PART
26 00377437-02 SPARE PARTS KIT FOR X- AND HF >
A220
*
03010571-02 X-DRIVE COMPL. (PRIMARY)
00845036-01 DIN 912-M4 X 60-8.8