P-0210-003.pdf - 第41页
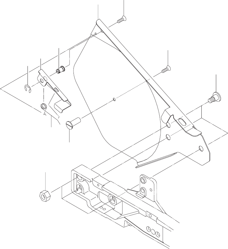
1002-002 39 Key No. P AR T No. P AR T NAME Q’ty REMARKS OLD P AR TS No. NOTE 1 210B 2 657 FRAME 1 753GS-010-001 630 094 3351 2 216E 0 213 PIN,LOCA TE 1 753GS-010-002 630 039 3545 3 222P 0 066 SPRING,TORSION 1 753GS-010-0…

0105-001
38
小リールホルダ
RL-1210S SMALL REEL HOLDER RL-1210S
Fig. GS-1 12mm
幅テープフィーダ用
FOR 12mm T
APE FEEDER
1
8
7
6
2
3
4
8
5
9

1002-002
39
Key No. PART No. PART NAME Q’ty REMARKS OLD PARTS No.
NOTE
1 210B 2 657 FRAME 1 753GS-010-001 630 094 3351
2 216E 0 213 PIN,LOCATE 1 753GS-010-002 630 039 3545
3 222P 0 066 SPRING,TORSION 1 753GS-010-003 630 062 5202
4 216E 1 001 PIN,LOCATE 1 753GS-010-004 630 094 3368
5 221E 0 186 BOLT 3 753GS-010-005 630 095 6825
6 216S 2 111 LEVER 1 753GS-010-006 630 094 3375
7 221K 0 098 RING E 5 1 753GS-010-007 411 001 0201
8 221E 0 045 BOLT(FLT HEX-SCT) 2 753GS-010-008 630 036 0974
9 221F 0 108 NUT HEX 6 3 753GS-010-009 411 004 6903
RL-1210S
GS-1

0105-001
40
大リールホルダ
RL-1210L LARGE REEL HOLDER RL-1210L
Fig. GL-1 12mm
幅テープフィーダ用
FOR 12mm TAPE FEEDER
1
3
18
5
8
7
16
19
9
10
4
15
6
17
A
B
A
B
2