P-0208-001 - 第203页
MODEL TCM-X300 021 1-002 Key No. P AR T No. P AR T NAME Q’ ty REMARKS NOTE 201 MA-2 10 2 630 097 0876 S T A Y 1 784MA-010-102 10 3 630 095 3695 S T A Y 1 784MA-010-103 10 4 630 095 3701 S T A Y 1 784MA-010-104 10 5 630 0…

MODEL TCM-X300
0211-002
200
ࠞࡃㇱ COVER SECTION
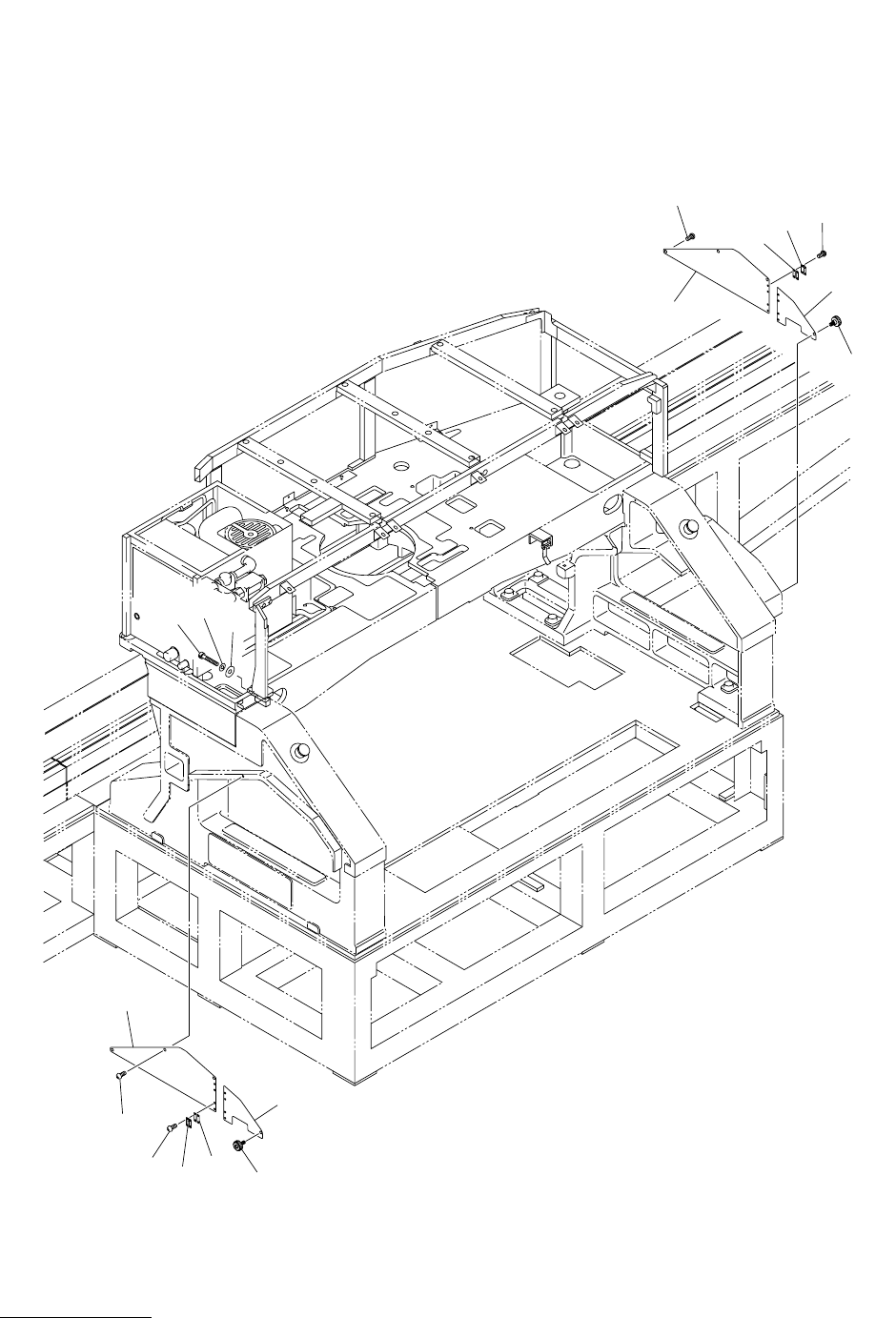
Fig. MA-2 ㇱࡈࡓ Upper Frame
Fig.MA-2
147
135
148
149
140
146
147
140
113
146
147
109
140
146
147
140
108
115
146
147
140
118
140
146
147
140
146
147
140
146
147
140
146
147
107
118
146
147
147
146
140
147
146
140
135
104
148
149
135
105
148
149
140
146
147
127
147
146
140
147
146
140
128
133
146
140
129
133
146
140
128
133
146
102
143
138
147
146
121
140
136
148
149
143
120
139
122
132
117
146
147
130
114
133
146
140
146
140
126
147
112
133
146
129
140
122
116
147
146
140
127
127
140
146
147
A
A
111
146
140
147
103
146
140
106
4797L-002
TCM-X300-002
148
135
131
149
138
146
147
119
147
146
141
143
139
122
116
122
143
121

MODEL TCM-X300
0211-002
Key No. PART No. PART NAME Q’ty REMARKS
NOTE
201
MA-2
102 630 097 0876 STAY 1 784MA-010-102
103 630 095 3695 STAY 1 784MA-010-103
104 630 095 3701 STAY 1 784MA-010-104
105 630 095 3718 STAY 1 784MA-010-105
106 630 097 0883 FRAME 1 784MA-010-106
107 630 095 3626 FRAME 1 784MA-010-107
108 630 095 3633 FRAME 1 784MA-010-108
109 630 095 3640 FRAME 1 784MA-010-109
111 630 095 3657 FRAME 1 784MA-010-111
112 630 097 7240 BRACKET 1 784MA-010-112
113 630 095 3664 FRAME 1 784MA-010-113
114 630 097 4454 BRACKET 1 784MA-010-114
115 630 095 3480 BRACKET 1 784MA-010-115
116 630 035 6694 SPRING 2 784MA-010-116
117 411 140 4900 BOLT HEX 5X12 1 784MA-010-117
118 630 050 6785 BRACKET 2 784MA-010-118
119 630 097 0852 BLOCK 1 784MA-010-119
120 630 097 0869 BLOCK 1 784MA-010-120
121 630 110 4034 BLOCK 2 784MA-010-121
122 630 038 9609 PIN,HINGE 4 784MA-010-122
126 411 002 4307 SCR FLT 5X10 2 784MA-010-126
127 630 095 3497 BRACKET 3 784MA-010-127
128 630 099 3172 BRACKET 2 784MA-010-128
129 630 099 3189 BRACKET 2 784MA-010-129
130 630 097 7257 BRACKET 1 784MA-010-130
131 630 098 7126 FRAME 1 784MA-010-131
132 630 099 0126 BRACKET 1 784MA-010-132
133 630 029 1391 WASHER 10 784MA-010-133
135 630 000 7909 BOLT,HEX-SCT 8 784MA-010-135
136 630 000 7930 BOLT,HEX-SCT 2 784MA-010-136
137 630 000 7817 BOLT,HEX-SCT 1 784MA-010-137
138 630 000 7787 BOLT,HEX-SCT 4 784MA-010-138
139 630 000 7770 BOLT,HEX-SCT 4 784MA-010-139
140 630 000 7756 BOLT,HEX-SCT 38 784MA-010-140
141 630 000 7763 BOLT,HEX-SCT 2 784MA-010-141
143 630 000 8944 SET SCREW 6 784MA-010-143
146 411 141 6705 WASHER SPR 5 45 784MA-010-146
147 411 141 4107 WASHER V 5X10X1 35 784MA-010-147
148 411 141 3001 WASHER SPR 6 10 784MA-010-148
149 411 141 4305 WASHER V 6X12.5X1.6 10 784MA-010-149

MODEL TCM-X300
0211-002
202
ࠞࡃㇱ COVER SECTION
Fig. MA-3 ⼔ࠞࡃ Protection Cover
Fig.MA-3
226
221
220
225
222
223
224
239
245
246
224
225
223
226
221
220
222
4797L-002
TCM-X300-002