P-0208-001 - 第83页
MODEL TCM-X300 021 1-002 Key No. P AR T No. P AR T NAME Q’ ty REMARKS NOTE 81 G-2 10 1 630 001 1548 BEARING,RADIAL 2 784G--010-101 10 2 630 097 1606 PL A T E( OK U) 1 784G--010-102 10 3 630 106 7407 P LA TE ,L OC A T E( …

MODEL TCM-X300
0211-002
80
L ࠦࡦࡌࠕㇱ L CONVEYOR SECTION
Fig. G-2 นേࠦࡦࡌࠕࠪࡘ࠻ Movable Side Conveyor Chute
143
144
143
A
B
C
D
144
See Fig.G-1
Key No.1
125
118
117
110
109
108
107
106
105
114
112
111
123
118
117
117
132
124
118
119
105
106
135
129
104
135
135
112
115
115
115
101
113
113
147
147
101
131
131
107
132
132
105
124
106
107
116
116
117
118
140
137
139
138
110
139
138
140
139
138
145
A
B
C
D
146
141
142
145
146
119
103
118
117
126
135
133
130
127
128
123
132
123
132
134
121
102
126
122
See Fig.G-1
Key No.2
Fig.G-2
132
126
135
4797L-002
TCM-X300-002

MODEL TCM-X300
0211-002
Key No. PART No. PART NAME Q’ty REMARKS
NOTE
81
G-2
101 630 001 1548 BEARING,RADIAL 2 784G--010-101
102 630 097 1606 PLATE(OKU) 1 784G--010-102
103 630 106 7407 PLATE,LOCATE(L) 1 784G--010-103
104 630 097 1583 PLATE,LOCATE 1 784G--010-104
105 411 141 4107 WASHER V 5X10X1 8 784G--010-105
106 411 141 6705 WASHER SPR 5 8 784G--010-106
107 630 000 7763 BOLT,HEX-SCT 8 784G--010-107
108 411 141 4305 WASHER V 6X12.5X1.6 3 784G--010-108
109 411 141 3001 WASHER SPR 6 3 784G--010-109
110 630 000 7886 BOLT,HEX-SCT 7 784G--010-110
111 630 030 5913 COLLAR 2 784G--010-111
112 630 001 1531 BEARING,RADIAL 4 784G--010-112
113 630 084 1909 GUIDE,LINEAR 2 784G--010-113
114 411 000 7805 RING C 20 2 784G--010-114
115 630 000 8883 SET SCREW 2 784G--010-115
116 630 084 1916 BALL SCREW 2 784G--010-116
117 411 141 4008 WASHER V 4X9X0.8 20 784G--010-117
118 411 141 2905 WASHER SPR 4 20 784G--010-118
119 630 000 7657 BOLT,HEX-SCT 8 784G--010-119
121 630 097 1682 GUIDE(OKU) 1 784G--010-121
122 630 092 9997 PLATE 1 784G--010-122
123 630 000 7640 BOLT,HEX-SCT 12 784G--010-123
124 630 075 6159 PLATE 2 784G--010-124
125 630 000 7602 BOLT,HEX-SCT 2 784G--010-125
126 630 092 6224 PULLEY,FLAT 4 784G--010-126
127 630 089 7685 BELT,FLAT 1 784G--010-127
128 630 090 8008 BELT,FLAT 1 784G--010-128
129 630 077 4726 COLLAR 4 784G--010-129
130 630 097 1644 CHUTE(R OKU) 1 784G--010-130
131 630 077 4689 SPACER 2 784G--010-131
132 630 092 6231 PULLEY,FLAT 6 784G--010-132
133 630 097 1651 CHUTE(L OKU) 1 784G--010-133
134 630 000 7664 BOLT,HEX-SCT 6 784G--010-134
135 630 092 6217 PULLEY,FLAT 8 784G--010-135
137 630 008 5303 BEARING,UNIT 2 784G--010-137
138 411 141 4305 WASHER V 6X12.5X1.6 8 784G--010-138
139 411 141 3001 WASHER SPR 6 8 784G--010-139
140 630 000 7879 BOLT,HEX-SCT 4 784G--010-140
141 630 000 8920 SET SCREW 2 784G--010-141
142 630 053 5419 COLLAR 2 784G--010-142
143 630 001 1432 BEARING,RADIAL 2 784G--010-143
144 411 000 7300 RING C 12 2 784G--010-144
145 630 031 0566 BEARING,UNIT 2 784G--010-145
146 630 031 0573 NUT 2 784G--010-146
147 630 035 6618 MECH PARTS (SET COLLARS) 1 784G--010-147

MODEL TCM-X300
0203-001
82
L ࠦࡦࡌࠕㇱ L CONVEYOR SECTION
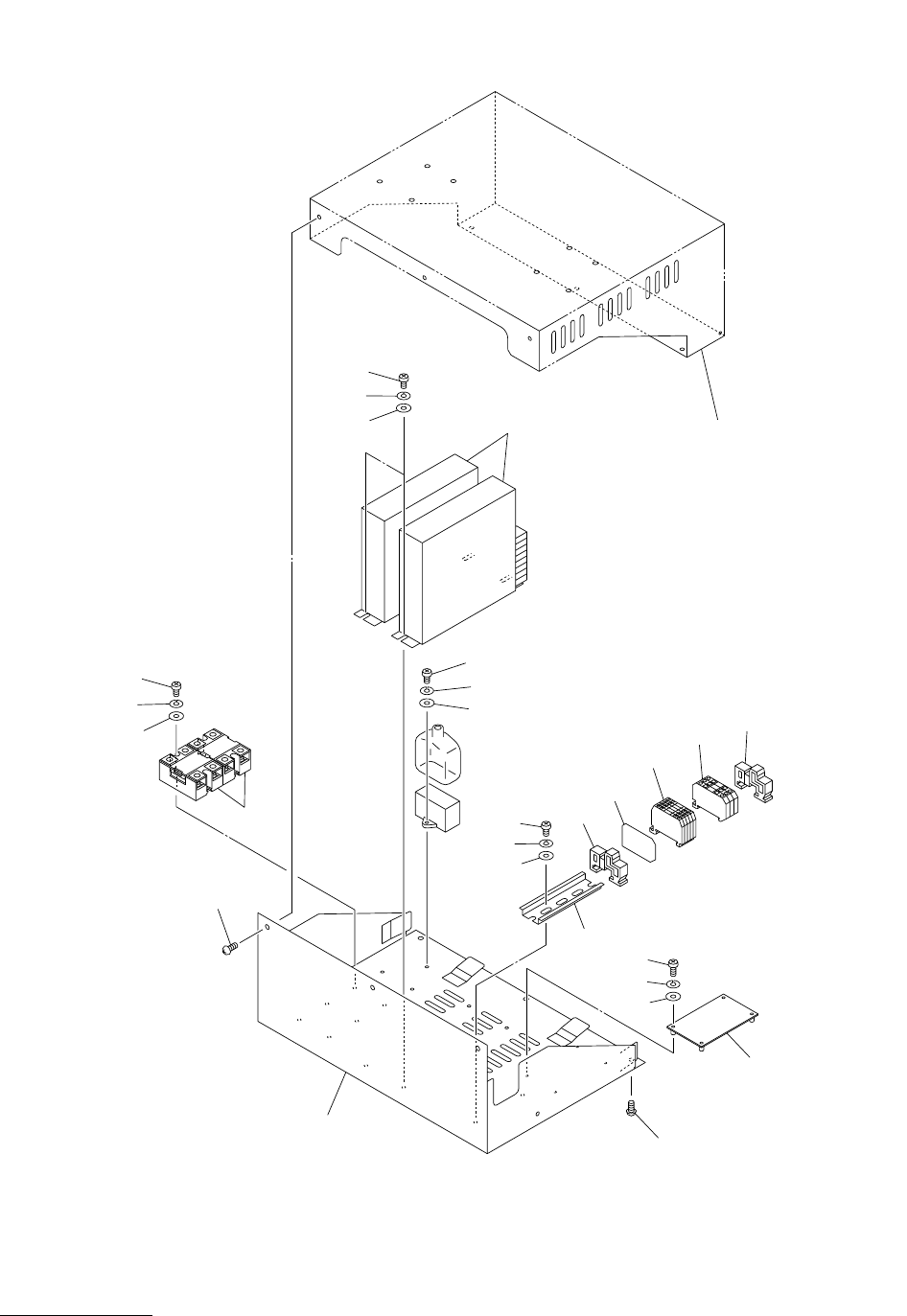
Fig. G-3 ࠦࡦࡌࠕ㚟േ࿁〝 L Conveyor Driver Circuit L
258
259
260
258
259
260
258
259
260
258
257
259
260
202
265
255
254
253
256
.
266
.
252
256
.
266
.
255
202
201
251
See Fig.G-4
Key No.316
281
295
296
297
Fig.G-3
4797L
TCM-X300