P-0208-001 - 第99页
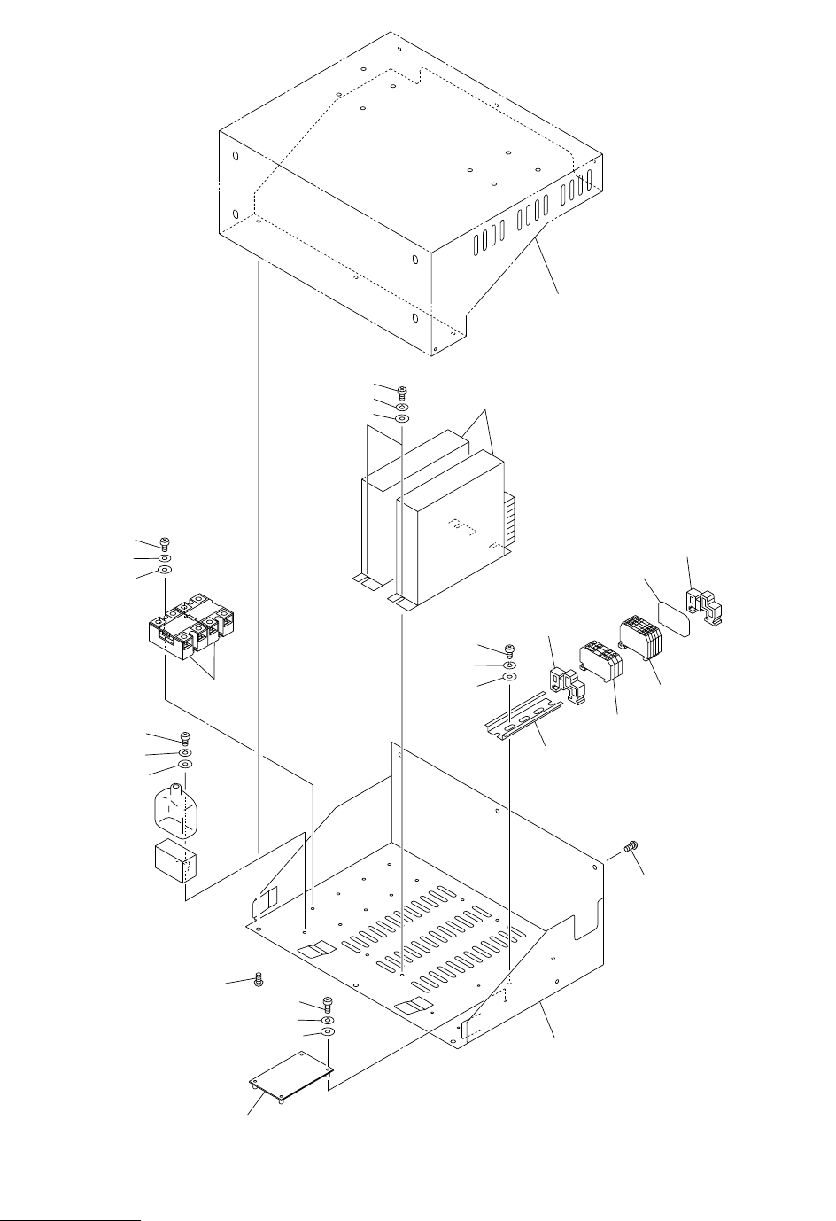
MODEL TCM-X300 021 1-002 Key No. P AR T No. P AR T NAME Q’ ty REMARKS NOTE 97 H-3 20 1 630 106 7582 BRACKET(TB) 1 7 8 4 H - - 010-201 20 2 41 1 1 13 9109 SCR T RS 5 X10 6 784H--010-202 25 1 630 049 1210 RE L A Y 2 KSSR3,…

MODEL TCM-X300
0203-001
96
R ࠦࡦࡌࠕㇱ R CONVEYOR SECTION
Fig. H-3 ࠦࡦࡌࠕ㚟േ࿁〝 R Conveyor Driver Circuit R
251
259
260
258
201
202
258
259
260
265
255
254
252
256
.
.
266
253
255
256
.
.
266
202
281
295
296
297
259
260
258
See Fig.H-4
Key No.316
Fig.H-3
4797L
TCM-X300
258
259
260
257

MODEL TCM-X300
0211-002
Key No. PART No. PART NAME Q’ty REMARKS
NOTE
97
H-3
201 630 106 7582 BRACKET(TB) 1 784H--010-201
202 411 113 9109 SCR TRS 5X10 6 784H--010-202
251 630 049 1210 RELAY 2 KSSR3,KSSR4 784H--010-251
252 630 083 5458 TERMINAL 5 784H--010-252
253 630 083 5489 TERMINAL 3 784H--010-253
254 630 083 5502 ACCESSORY,WIRING 1 784H--010-254
255 630 049 3672 BRACKET,WIRING 2 784H--010-255
256 630 072 8408 ACCESSORY,WIRING 1 784H--010-256
257 630 108 4008 UNIT,DRIVER 2 APMD17(RCVW),APMD26(R2CV),
#AK-BX580-SA 784H--010-257
258 411 113 1400 SCR PAN 4X6 11 784H--010-258
259 411 008 1706 WASHER SPR 4 11 784H--010-259
260 411 119 2104 WASHER V 4X9X0.8 11 784H--010-260
265 630 089 6480 RAIL,WIRING 1 784H--010-265
266 630 058 8460 ACCESSORY,WIRING 2 784H--010-266
281 630 110 1361 P.C.B,MOUNT 1 UB01*001*0001 784H--010-281
295 411 040 6202 SCR PAN 3X10 4 784H--010-295
296 411 086 4408 WASHER SPR 3 4 784H--010-296
297 411 119 1909 WASHER V 3X7X0.5 4 784H--010-297

MODEL TCM-X300
0203-001
98
R ࠦࡦࡌࠕㇱ R CONVEYOR SECTION
Fig. H-4 ࠦࡦࡌࠕࡦࠨ Conveyor Width Limit Sensor
305
306
304
311
312
310
311
313
310
305
306
304
302
See Fig.H-1
Key No.1
311
313
310
302
314
316
317
319
318
303
Fig.H-4
4797L
TCM-X300