N7205A101B08_Diagram List_控制線路圖 - 第36页
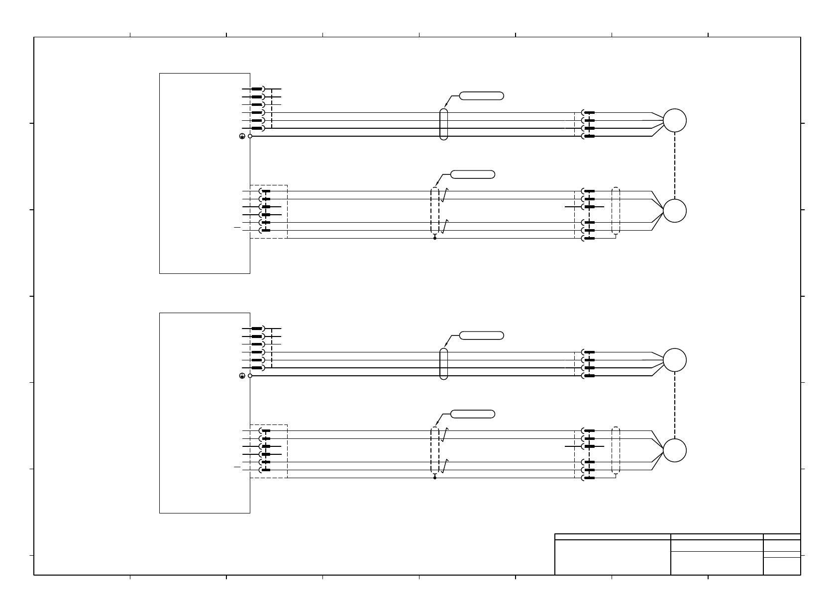
-A02 POWER UNIT L121 L221 L120 L220 4 3 2 1 X221 X222 カメラY軸モーター Camera Y-Axis Motor RB1 RB3 RB2 U V W 6 5 4 3 2 1 CY-Axis Driver -K406 1 2 3 4 172167-1 AMP M406P 4 5 1 2 3 6 172168-1 BM406P AMP X6 1 2 3 4 5 6 SM SSG -M40…

テーブルY軸モーター
Table Y-Axis Motor
RB1
RB3
RB2
U
V
W
6
5
4
3
2
1
Y-Axis Driver
MADHT1507NA3
PANASONIC
-K401
1
2
3
4
172167-1
AMP
M401P
4
5
1
2
3
6
172168-1
BM401P
AMP
X6
1
2
3
4
5
6
SM
SSG
-M401
RD
WH
BK
GN/YE
WH
BK
LB
VT
XB
E5V
E0V
N.C
N.C
PS
PS
6
5
4
AMP
XBK401
1-178128-6
3
2
1
1
2
3
4
5
6
MOLEX
X6K401
55100-0670
1
2
3
AMP
M401R
172159-1
4
4
5
1
AMP
BM401R
172160-1
2
3
6
STO(A)/TC LF 4E×18AWG
WH
RD
GN/YE
BK
BK
BK/WH
RD
RD/WH
2464-1061/ⅡA-SBX(PF) LF 2P×24AWG
E2K401
1.25-M4
JST
N610142576AA
N610142577AB
スキージ軸モーター
Squeegee-Axis Motor
RB1
RB3
RB2
U
V
W
6
5
4
3
2
1
S-Axis Driver
MADHT1507NA3
PANASONIC
-K404
1
2
3
4
172167-1
AMP
M404P
4
5
1
2
3
6
172168-1
BM404P
AMP
X6
1
2
3
4
5
6
SM
SSG
-M404
RD
WH
BK
GN/YE
WH
BK
LB
VT
XB
E5V
E0V
N.C
N.C
PS
PS
6
5
4
AMP
XBK404
1-178128-6
3
2
1
1
2
3
4
5
6
MOLEX
X6K404
55100-0670
1
2
3
AMP
M404R
172159-1
4
4
5
1
AMP
BM404R
172160-1
2
3
6
STO(A)/TC LF 4E×18AWG
BK
BK/WH
RD
RD/WH
2464-1061/ⅡA-SBX(PF) LF 2P×24AWG
E2K404
1.25-M4
JST
N610142578AA
N610142579AC
WH
RD
GN/YE
BK
1
1
1
RD/WH
GN
GN/WH
2464-1061/ⅡA-SBX(PF)LF 3P×24AWG
2
RD
2
RD/WH
GN
GN/WH
2464-1061/ⅡA-SBX(PF)LF 3P×24AWG
2
RD
2
Panasonic Factory Solutions Co.,Ltd. パナソニック ファクトリーソリューションズ株式会社
Name
Drawing No.
Loc. No.
F4K1020-05A
1
2 3 4 5 6 7 8
A
B
C
D
E
F
1 2 3 4 5 6 7 8
A
B
C
D
E
F
Page. No.
LOAD WIRING DIAGRAM :SPG
(Y-Axis,S-Axis Motor)
N610142532+005AC
P005

-A02
POWER UNIT
L121
L221
L120
L220
4
3
2
1
X221
X222
カメラY軸モーター
Camera Y-Axis Motor
RB1
RB3
RB2
U
V
W
6
5
4
3
2
1
CY-Axis Driver
-K406
1
2
3
4
172167-1
AMP
M406P
4
5
1
2
3
6
172168-1
BM406P
AMP
X6
1
2
3
4
5
6
SM
SSG
-M406
RD
WH
BK
GN/YE
WH
BK
LB
VT
XB
E5V
E0V
N.C
N.C
PS
PS
MBDHT2510NA3
PANASONIC
1
2
3
AMP
XBK406
1-178128-6
4
5
6
4
AMP
M406R
172159-1
3
2
1
6
3
2
AMP
BM406R
172160-1
1
5
4
6
5
4
MOLEX
X6K406
55100-0670
3
2
1
1
AMP
AX201
1-178128-4
2
3
4
4
3
2
AMP
AX202
1-178128-4
1
BK
GN/YE
RD
WH
STO(A)/TC LF 4E×18AWG
UL1015 16AWG (黒) BK
BK
UL1015 16AWG (黒)
UL1015 16AWG (黒) BK
UL1015 16AWG (黒) BK
UL1015 16AWG (黒) BK
BK UL1015 16AWG (黒)
UL1015 16AWG (黒) BK
UL1015 16AWG (黒) BK
E2K406
1.25-M4
JST
N610142580AB
N610142582AC
N610142583AC
4
3
2
AMP
X221A02
1-178128-4
1
4
3
2
AMP
X222A02
1-178128-4
1
To X201
To X202
P008-1A
P007-1A
L121
L221
L120
L220
4
3
2
1
RESISTOR
-R2001
DV0P4281
Panasonic (Motor BU)
LY
LY
BK UL1015 18AWG (黒)
BK UL1015 18AWG (黒)
Thermostat
AMP
R2001R
172157-1
2
1
AMP
R2001P
172165-1
2
1
1
1
1
1
1
3
3
2
2
BK
BK/WH
RD
RD/WH
2464-1061/ⅡA-SBX(PF) LF 2P×24AWG
N610142581AB
RD/WH
GN
GN/WH
2464-1061/ⅡA-SBX(PF)LF 3P×24AWG
3
RD
3
Panasonic Factory Solutions Co.,Ltd. パナソニック ファクトリーソリューションズ株式会社
Name
Drawing No.
Loc. No.
F4K1020-05A
1
2 3 4 5 6 7 8
A
B
C
D
E
F
1 2 3 4 5 6 7 8
A
B
C
D
E
F
Page. No.
LOAD WIRING DIAGRAM :SPG
(CY-Axis Motor)
N610142532+006AD
P006

-A02
POWER UNIT
n
BN
YE
BK
Cooling Fan 2
1G102R
489-086-L21
SANYO DENKI
EG102
冷却ファン 2
-K321
PNF0B4(ILK)
CP+24V
FPLATE#0
FPLATE#1
FPLATE#2
IN030
F-NG-OP-IN
F-NG-CL-IN
F-NG-OP-OUT
F-NG-CL-OUT
D+SUB
D-SUB
24GND
1
2
3
4
5
6
7
8
9
10
11
12
CHNG2
1.25-M4
JST
M
-G102
109-642-11A
SANYODENKI
UL1015 18AWG (緑/黄) GN/YE
N610142573AC
BK
BK
1
2
3
JAPAN SOLDERLESS TER
CHNG2
PAP-12V-S
4
5
6
7
8
9
10
11
12
N610142575AA
N610142572AB
15X002 P008-6D
-K403
U-AXIS Driver
5
3
XA
2
1
-K406
CY-AXIS Driver
5
3
2
XA
1
L1
L3
L1C
L2C
L1
L3
L1C
L2C
-K404
S-AXIS Driver
5
3
2
XA
1
L1
L3
L1C
L2C
E1K403
1.25-M4
JST
E1K406
1.25-M4
JST
E1K404
1.25-M4
JST
N610142584AB
1
AMP
BX202
1-178128-4
2
3
4
1
AMP
XAK403
1-178128-5
2
3
5
UL1015 18AWG (黒) BK
UL1015 18AWG (黒) BK
UL1015 18AWG (黒) BK
UL1015 18AWG (黒) BK
BK
UL1015 18AWG (黒)
BK UL1015 18AWG (黒)
BK
UL1015 18AWG (黒)
BK UL1015 18AWG (黒)
5
3
2
AMP
XAK406
1-178128-5
1
4
3
2
AMP
CX202
1-178128-4
1
1
AMP
DX202
1-178128-4
2
3
4
1
AMP
XAK404
1-178128-5
2
3
5
UL1015 18AWG (黒) BK
UL1015 18AWG (黒) BK
UL1015 18AWG (黒) BK
UL1015 18AWG (黒) BK
UL1015 18AWG (緑/黄) GN/YE
UL1015 18AWG (緑/黄) GN/YE
UL1015 18AWG (緑/黄) GN/YE
N610142585AB
N610142586AB
B4
B3
B2
B1
C4
C3
C2
C1
D4
D3
D2
D1
E4
E3
E2
E1
F4
F3
F2
F1
A1
AMP
X202
1827691-3
A2
A3
A4
No Use
From X222
P006-8E
4
3
2
AMP
FX202
1-178128-4
1
N610142602AB
N610142590AA
N610142591AA
N610142592AA
12X002
P008-6C
13X002
P008-6C
14X002
P008-6D
BK
BK/WH
RD
RD/WH
2464-1061/ⅡA(PF) LF 2P×24AWG
MOLEX
2G102P
43020-0400
4
3
2
1
MOLEX
2G102R
43025-0400
4
3
2
1
2
3
3
1827691-2
4
Panasonic Factory Solutions Co.,Ltd. パナソニック ファクトリーソリューションズ株式会社
Name
Drawing No.
Loc. No.
F4K1020-05A
1
2 3 4 5 6 7 8
A
B
C
D
E
F
1 2 3 4 5 6 7 8
A
B
C
D
E
F
Page. No.
LOAD WIRING DIAGRAM :SPG
(Servo Motor Driver Power Line1)
N610142532+007AE
P007