P-0197-001.pdf - 第169页
MODEL TCM-3500Z-2 0109-001 167 Key N o. P AR T No. P AR T NAME Q’ t y REMA RKS NOTE 8-3 1 630 028 9493 G E A R 2 678H--02H-006 2 630 000 8951 SET SCRE W 4 M5 X8 SE T 3 630 053 0667 S H A F T 1 678H--02B-009 4 630 028 948…

MODEL TCM-3500Z-2
0109-001
166
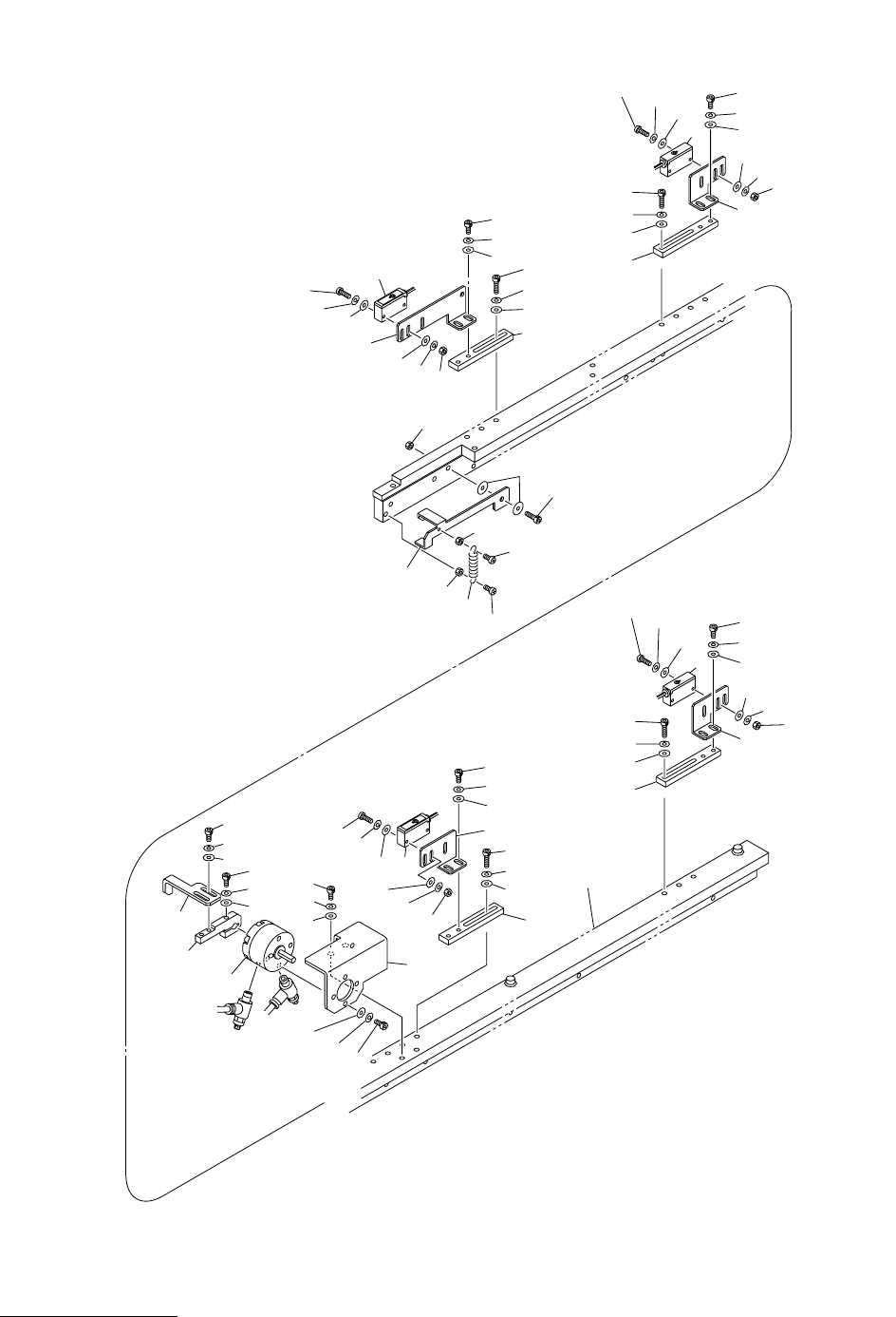
R ࠦࡦࡌࠕㇱ R CONVEYOR SECTION
Fig. 8-3 ࠼ࠗࡉࠪࡖࡈ࠻ Driving Shaft
1
2
3
4
5
4
5
6
6
6
7
8
9
7
8
9
7
8
9
6-1
6-1
6-1
6-1
2
1
41
41
42
42
17
16
35
36
36
38
38
39
39
37
37
21
22
23
33
33
34
28
29
30
30
27
27
26
25
27-1
27-1
26
26
25
25
24
24
20
See Fig.8-1
Key No.2
50
50

MODEL TCM-3500Z-2
0109-001
167
Key No. PART No. PART NAME Q’ty REMARKS
NOTE
8-3
1 630 028 9493 GEAR 2 678H--02H-006
2 630 000 8951 SET SCREW 4 M5X8 SET
3 630 053 0667 SHAFT 1 678H--02B-009
4 630 028 9480 GEAR 2 678H--02H-007
5 630 008 2296 SET SCREW 4 M4X4 SET
6 630 001 1890 BEARING,UNIT 3 678H--02H-005
6 -1 630 057 7297 COLLAR 3 678H--02B-036
7 411 141 4107 WASHER V 5X10X1 6 FW5
8 411 141 6705 WASHER SPR 5 6 SW5
9 630 000 7800 BOLT,HEX-SCT 6 M5X35
16 630 056 3924 PULLEY,TIMING 1 678H--02H-041
17 630 000 8951 SET SCREW 2 M5X8 SET
20 630 065 1171 BRACKET(MOTOR) 1 678H--02B-043
21 411 141 4107 WASHER V 5X10X1 2 FW5
22 411 141 6705 WASHER SPR 5 2 SW5
23 630 000 7749 BOLT,HEX-SCT 2 M5X10
24 630 009 5869 MOTOR,STEPPING 1 PM102(CVW2), #103-8572-7041
678H--02H-040
25 411 141 4107 WASHER V 5X10X1 2 FW5
26 411 141 6705 WASHER SPR 5 2 SW5
27 630 000 7763 BOLT,HEX-SCT 1 M5X16
27 -1 630 000 7787 BOLT,HEX-SCT 1 M5X25
28 630 001 0220 WASHER 1 678H--02H-027
29 411 141 6705 WASHER SPR 5 1 SW5
30 411 141 0505 NUT HEX 5 1 M5
33 630 056 3917 PULLEY,TIMING 1 678H--02H-042
34 630 000 8951 SET SCREW 2 M5X8 SET
35 630 048 9668 BELT,TIMING 1 678H--02H-043
36 630 056 2798 COVER(R) 1 678H--02B-044
37 411 051 1708 SCR TRS 4X6 3 M4X6 TRS
38 630 035 8384 BOSS(HANDLE) 1 678H--02B-047
39 630 008 2296 SET SCREW 2 M4X4 SET
41 630 081 4156 COVER 1 678H--02B-018
42 411 051 1708 SCR TRS 4X6 4 M4X6 TRS
50 630 082 6128 NAME PLATE,PARTS 1 678H--02B-056

MODEL TCM-3500Z-2
0109-001
168
R ࠦࡦࡌࠕㇱ R CONVEYOR SECTION
Fig. 8-4 ၮ᧼ᬌㇱޔၮ᧼ࠬ࠻࠶ࡄ
P.C.B. Detector, P.C.B. Stopper
See Fig.8-1
Key No.56
1
1
31
34
21
22
22
28
28
29
29
30
30
25
24
23
26
27
35
36
32
33
33
3-2
3-1
2
3-1
3-1
3-2
3-3
8
7
6
2
3-1
3-2
3-3
3-1
6
7
8
3-2
3-2
3-4
14
12
13
15
16
17
17
19
18
18
11
11
8
7
6
9-3
9-3
9-2
9-1
1
3-4
3-4
3-2
3-1
1-3
3-1
3-1
2
3-2
3-3
1-1
9-3
1-2
9-2
9-1
3-4
9-1
9-2
9-3
1
2
3-1
3-2
3-2
3-3
3-3
3-1
6
7
8
3-2
3-2
3-4
1-1
9-1
9-2
9-3
Fig.8-4
TCM-3500Z-2