_ built in up FS - 01_20211118_064953.pdf - 第7页
~ built in up FS - 01 Page 7 / 9 18.11.2021

~ built in up FS - 01
Page 6 / 9 18.11.2021

~ built in up FS - 01
Page 7 / 9 18.11.2021

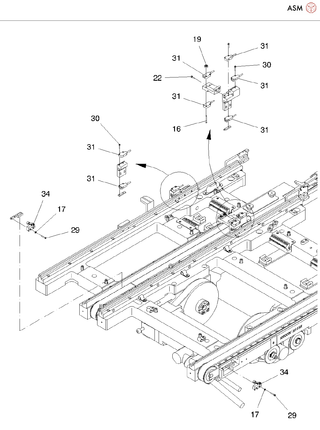
~ built in up FS - 01
Page 8 / 9 18.11.2021
Pos. Item no. Description Part marking
03009947-01 FEEDING AXIS BUILT IN UP MTC2 FS
- 01
1 00360879-01 REAR DEFLECTION ROLL,
COMPLETE
Spare
2 00354916-02 AC-MOTOR FEED AXIS
3 M2003112 HEXAGON SOCKET HEAD CAP
SCREW 8.8 ZINC-C. M5X18
4 M2003113 PLAIN WASHER ZINC-COATED 5.3
5 00372627-01 TOOTHED BELT AC MOTOR WEAR PART
6 00372609-01 FRONT DEFLECTION ROLL,
COMPLETE MTC2
SPARE PART
7 00372609-01 FRONT DEFLECTION ROLL,
COMPLETE MTC2
SPARE PART
8 00372608-01 DRIVER COMPLETE MTC2 SPARE PART
9 00372617-01 LEVER DRIVER SPARE PART
10 M2003114 LOCK WASHER ZINC-C. 3.2
11 M2003115 CROSS RECESSED RAISED CHEESE
HEAD SCREW 10.9 ZINC-C. M3X2
12 M2003116 PLAIN WASHER ZINC-COATED 3.2
13 00354917-03 DISENGAGING DRIVER, COMPLETE Spare Part
14 00372611-01 LINEAR GUIDE FEED AXIS MTC2 SPARE PART
15 00372634-01 TOOTHED BELT FEED AXIS WEAR PART
16 M2003117 SCREW REWORKED
17 M2003118 PLAIN WASHER ZINC-COATED 2.2
18 M2003119 PLAIN WASHER ZINC-COATED 8.4
19 M2003120 HEXAGON NUT ZINC-C. M2
21 M2003121 SLOTTED COUNTERSUNK HEAD
SCREW 4.8 ZINC-C. M2X4
22 M2003122 HEXAGON SOCKET HEAD CAP
SCREW 8.8 ZINC-C. M3X6
23 M2003123 HEXAGON SOCKET HEAD CAP
SCREW 8.8 ZINC-C. M3X6
24 M2003124 HEXAGON SOCKET HEAD CAP
SCREW 8.8 ZINC-C. M3X8
25 M2003125 HEXAGON SOCKET HEAD CAP
SCREW 8.8 ZINC-C. M3X10
26 M2003126 HEXAGON SOCKET HEAD CAP
SCREW 8.8 ZINC-C. M4X12
27 M2003127 HEXAGON SOCKET HEAD CAP