6-nozzle nozzle changer DLM 2_20211123_105906.pdf - 第7页
6-nozzle nozzle changer DLM 2 Page 7 / 9 23.11.2021

6-nozzle nozzle changer DLM 2
Page 6 / 9 23.11.2021

6-nozzle nozzle changer DLM 2
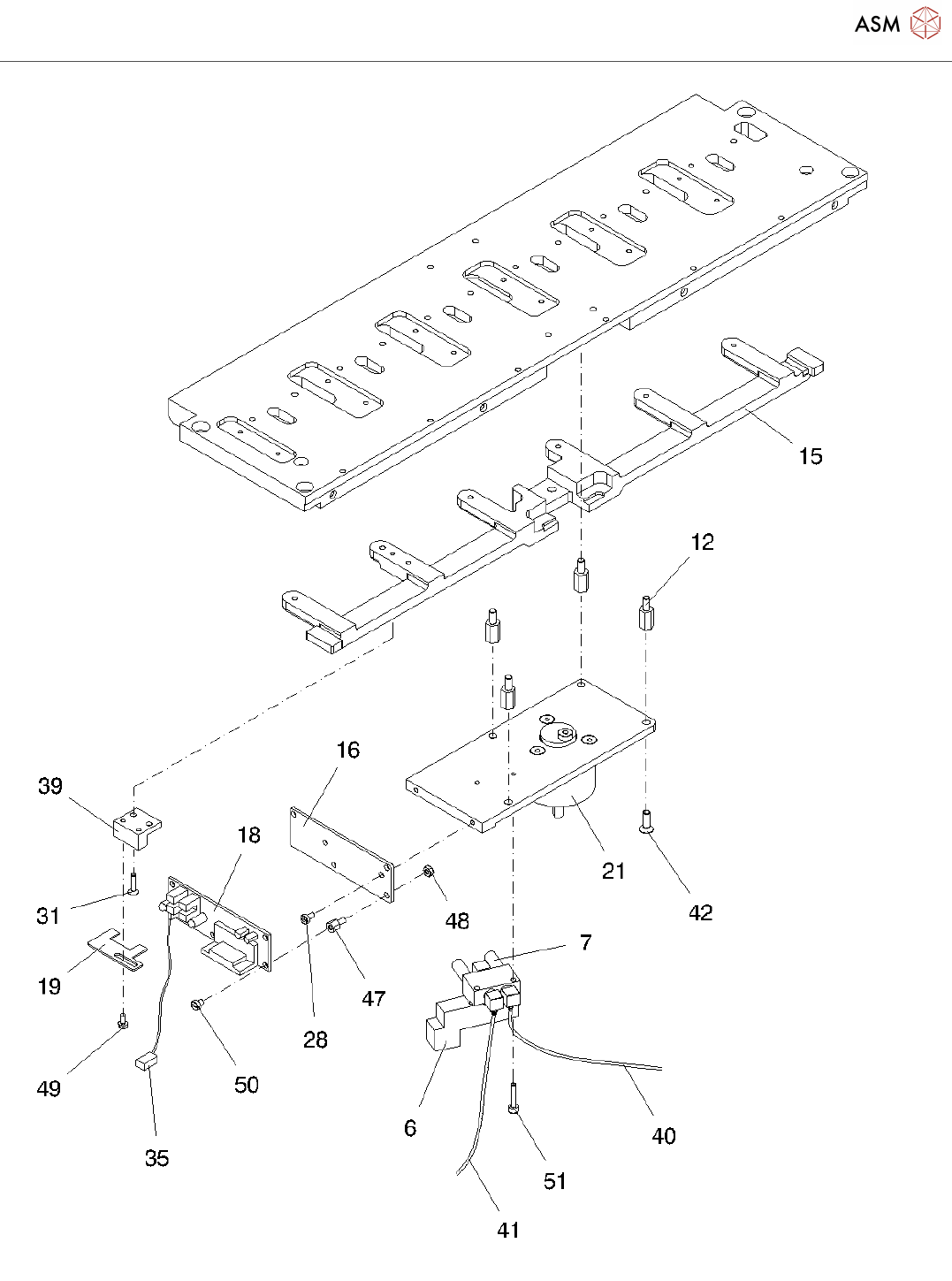
Page 7 / 9 23.11.2021

6-nozzle nozzle changer DLM 2
Page 8 / 9 23.11.2021
Pos. Item no. Description Part marking
00119662-03 NOZZLE CHANGER HF/X/D3 6 SEG.
C+P HEAD
03041753-01 BASIC PACKAGE NOZZLE CHANGER
6-NOZZLE RV HF/X
2 03004010S02 NOZZLE CHANGER 6, TURNED 90
DEGREES, HF
SPARE PART
3 03003988-01 BASE PLATE
4 03003730-01 RAIL LONG VERS.2
5 03003759-01 SLEEVE
6 00334206S01 VALVE COMPLETE SPARE PART
7 00310021-01 SILENCER U-M5 NR4645 STANDARD PARTS
8 03003668-01 HOLDER FOR SPRING HOOK
9 00331810-03 SLIDING GUIDE
10 03002225S01 SPRING HOOK SPARE PART
11 03002224S01 RETAINING CLAW SPARE PART
12 03003824-01 DISTANCE BOLT TYPE B I/A-
M4X12-ST ZN
15 03003690-01 SLIDER
16 03005182-01 MOUNTING PLATE, CONTROL
BOARD
SPARE PART
18 00317353S02 CONTROL UNIT NOZZLE CHANGER SPARE PART
19 03005540-01 CHECK PLATE FOR PW 6- TURNED
20 03003980-01 SLIDING BLOCK PW6
21 03003740-01 DRIVE UNIT PW 6- TURNED
22 03003739-01 DEEP-GROOVE BALL BEARING 5X16
23 03004018-01 FASTENING SCREW
24 03003958-01 COVER PLATE
25 00619849-01 PARALLEL PIN 3M5 X 28-ST
26 00619843-01 DIN 6325 - 3M5 X 12-ST
28 00318495-01 DIN 7984-M3 X 6-A2
31 00335429-01 COUNTERSUNK SCREW M3 X 12-A2
35 00334212-01 KABEL: STEUERPL.
PIPETTENWECHS. - VENTIL
36 00328842S03 PW6 NOZZLE MAGAZINE F.
NOZZLES TYPE 8XX
SPARE PART
37 00328843S03 NOZZLE MAGAZINE FOR NOZZLE
TYPE 7XX
SPARE PART