Machine frame_20211124_071525.pdf - 第23页
Machine frame Page 23 / 28 24.11.2021 Pos. Item no. Description Part marking 00362665-01 MACHINE FRAME SIPLACE S27HM 1 00362665-01 MACHINE FRAME SIPLACE S27HM 2 00362967-01 BASE - BASIC UNIT S27HM 3 00346032-04 CONTAINER…

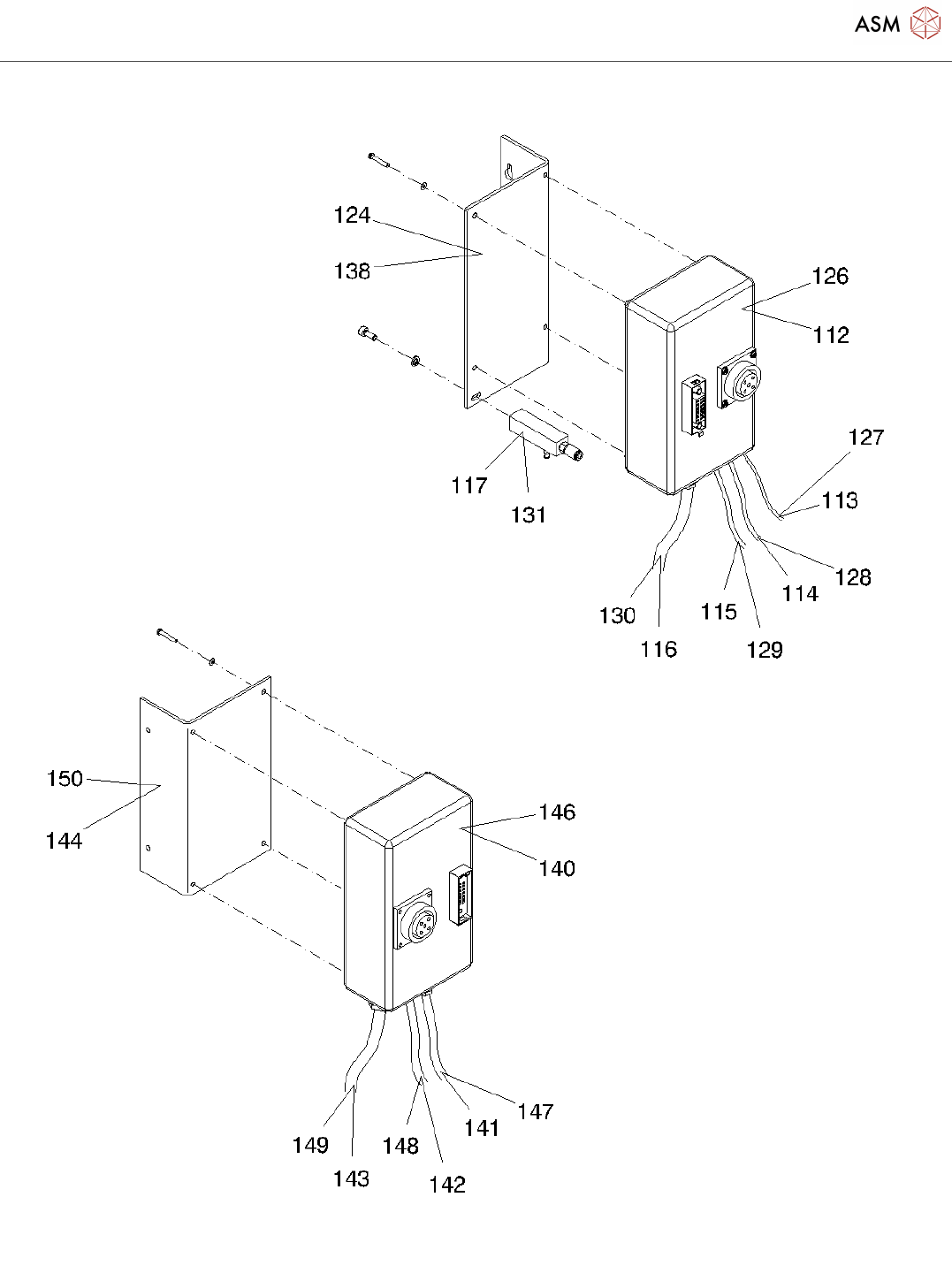
Machine frame
Page 22 / 28 24.11.2021

Machine frame
Page 23 / 28 24.11.2021
Pos. Item no. Description Part marking
00362665-01 MACHINE FRAME SIPLACE S27HM
1 00362665-01 MACHINE FRAME SIPLACE S27HM
2 00362967-01 BASE - BASIC UNIT S27HM
3 00346032-04 CONTAINER, SMALL
4 00354131-01 WELDED PART FRAME S27HM
5 00337613-05 U-PROFILE W. MOTOR SECTION S23
6 00346047-05 U-PROFILE W. SOCKET
7 00346037-01 COVER
8 00350252-01 HOOD
9 00346050-01 PROTECTION
10 00345988-01 PROTECTION
11 00346000-03 U-PROFILE
12 00346031-03 U-PROFILE
13 00364412-01 MACHINE BASE NORMAL HEIGHT
HM
15 00364383-01 MACHINE BASE MOUNT HM
16 00321226-01 MACHINE BASE REWORK
17 00304184-01 LOCK WITH DOUBLE BIT / BAR
18 00304191-01 DIN 43668 - 3 - C35 STANDARD PARTS
19 00337617-02 COVER ANGLE
20 00304635-02 SLIDING PLATE
21 00845027-01 HEXAGON SOCKET HEAD CAP
SCREW M4 X 16-8.8
22 00845031-01 HEXAGON SOCKET HEAD CAP
SCREW
23 00322191-03 SLIDING PLATE
24 00845027-01 HEXAGON SOCKET HEAD CAP
SCREW M4 X 16-8.8
25 00322190-02 SLIDING PLATE
26 00095312S01 SCREW M4*10 DIN965 Spare Part
28 00312474-01 HEXAGON SOCKET HEAD CAP
SCREW
29 00354447-03 COVER RAIL Spare Part
31 00354450-01 COVER ANGLE Spare Part
33 00362666-01 GANTRY SUPPORT S25 HM2 COMPL. Spare Part
34 00354089S01 Y GUIDE RAIL S25-HM2 F-304119 SPARE PART

Machine frame
Page 24 / 28 24.11.2021
Pos. Item no. Description Part marking
35 00337178-01 HEXAGON SOCKET HEAD CAP
SCREW M6*20
36 00619841-01 PARALLEL PIN 3M5 X 8-ST
37 00353806-01 Y-SUPPORT S27HM
38 00319220-01 GUIDE PLATE
39 00322461-01 HEXAGON SOCKET HEAD CAP
SCREW
40 00315594-01 CAM ROLLER KR 16 X SPARE PART
41 00348952-03 PLUG-IN SEQUENCE COMPON.
TABLE S23/F5HM
SPARE PART
42 00349922-02 PC-HOLDER 4
43 00347747-01 CURVED CROSSHEAD PC-SUPP.3
(S23)
44 00337391-01 PLUG-SQUARE GPN270R10050
100*50
SPARE PART
45 00349923-02 MOUNTING PC-SUPPORT 4
46 00349924-01 HOUSING PC-SUPPORT 4
48 00328376-01 GUIDE PC-SUPPORT 2 SPARE PART
49 00845060-01 HEXAGON SOCKET HEAD CAP
SCREW M6 X 25-8.8
50 00095474-01 DISC 6,4 DIN125-A Spare
51 00845024-01 HEXAGON SOCKET HEAD CAP
SCREW M4 X 8-8.8
52 00095472-01 PLAIN WASHER A 4.3-140HV-ST
53 00349929-01 MAIN ERROR DISPLAY PC-SUPPORT
4
54 00321320S01 INCANDESCENT LAMP 24V/5W BASE
BA15D
WEAR PART
55 00349930-01 LAMP HOLDER PC-SUPPORT 4
56 00326152-01 PULL RELIEF TYPEKK2
57 00313846-01 DIN912-M5 X 18-A2-70
58 00321575-02 CABLE: MAIN ERROR DISPLAY
59 00349928-01 CABLE COVER PC-SUPPORT 4
60 00845023-01 HEXAGON SOCKET HEAD CAP
SCREW M4 X 6-8.8
61 00095472-01 PLAIN WASHER A 4.3-140HV-ST
62 03052954-01 MONITOR HOLDER S U. F
COMPLETE
SPARE PART
63 00350470-01 REST SCENIC 620 - PC-SUPPORT 4