P241011e.pdf - 第50页
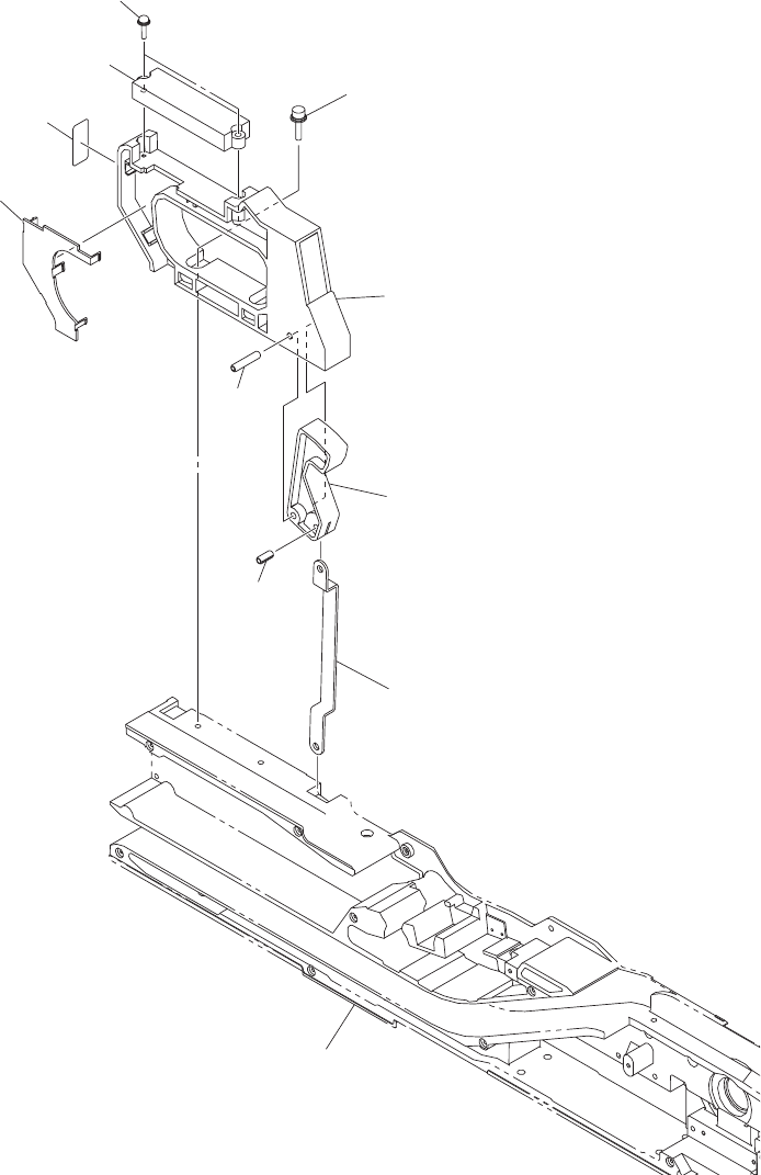
0409-002 48 テープフィーダ T APE FEEDER GT -24320 GT -24320 Fig. P-5 操作パネル部 Operation Panel Section 431 405 438 436 404 407 408 406 439 440 442 445 See Fig.P-1 Key No.1 . .

1012-005
47
Key No. PART No. PART NAME Q’ty REMARKS New Code
NOTE
P-4
303 6301513089 LEVER(SUP) 1 804P--110-303 216S3061
307 6301329499 PIN,HINGE(SUP) 1
804P--110-307 216D0914
309 6301286822 SPRING,TORSION 1
804P--110-309 222P0182
312 6301279602 ASSY,HOOK 1
804P--110-312 016J0026
313 6301292793 PIN,HINGE(FRONT) 1
804P--110-313 216D0467
314 6301275406 SPRING,COMP 1
804P--110-314 222M1325
316 6301279657 CHUTE(SUPPORT) 1
804P--110-316 212B1873
317 6301275437 PIN,LOCATE(CHUTE) 2
804P--110-317 216E1497
318 6301275444 MACHINE SCREW 1
804P--110-318 221D0169
319 6301275451 PIN,LOCATE 2
804P--110-319 216E1498
320 6301279664 PLATE(SUP) 1
804P--110-320 211D9692
321 6301292861 MACHINE SCREW 2
804P--110-321 221D0173
323 6300082296 SET SCREW 1
804P--110-323 221C0027
325 6300007510 BOLT,HEX-SCT 2
804P--110-325 221A0006
326 4111412806 WASHER SPR 3 2
804P--110-326 221H0281
327 4111413902 WASHER V 3X7X0.5 2
804P--110-327 221H0312
328 4110160203 RING E 2.5 2
804P--110-328 221K0114
329 0804000J NAME PLATE 1
804P--110-329 0804000J
330 4110009304 RING E 2 1
804P--110-330 221K0095
331 6301329208 WASHER 1
804P--110-331 221H0230
332 4110335700 SCR FLT 2.5X6 1
804P--110-332 221D0261
333 6301497686 CHUTE 1
804P--110-052 212B2069
GT-24320

0409-002
48
テープフィーダ
TAPE FEEDER
GT-24320 GT-24320
Fig. P-5
操作パネル部
Operation Panel Section
431
405
438
436
404
407
408
406
439
440
442
445
See Fig.P-1
Key No.1
.
.

1012-006
49
Key No. PART No. PART NAME Q’ty REMARKS New Code
NOTE
P-5
404 6301614823 P.C.B,MOUNT 1 804P--110-504 4B111599
405 6301274836 LINK(KAIJYO) 1
804P--110-015 214B0218
406 6301265872 LEVER(GRIP) 1
804P--110-016 216S2642
407 6301265919 GRIP 1
804P--110-017 226D0108
408 6301265728 COVER(GRIP) 1
804P--110-018 211A8625
431 6300007657 BOLT,HEX-SCT 2
804P--110-031 221A0020
436 4111151507 SCR TPG PAN 3X12 2
804P--110-036 221N0005
438 6300010336 SPRING PIN 1
804P--110-038 221J0007
439 6301180038 SPRING PIN 1
804P--110-039 221J0058
440 4111412905 WASHER SPR 4 2
804P--110-040 221H0284
442 4111414008 WASHER V 4X9X0.8 2
804P--110-042 221H0315
445 08040008 NAME PLATE,INDEX 1
804P--110-045 08040008
GT-24320