JUKI_RX-6&6R_MAINTE_CH.pdf - 第328页
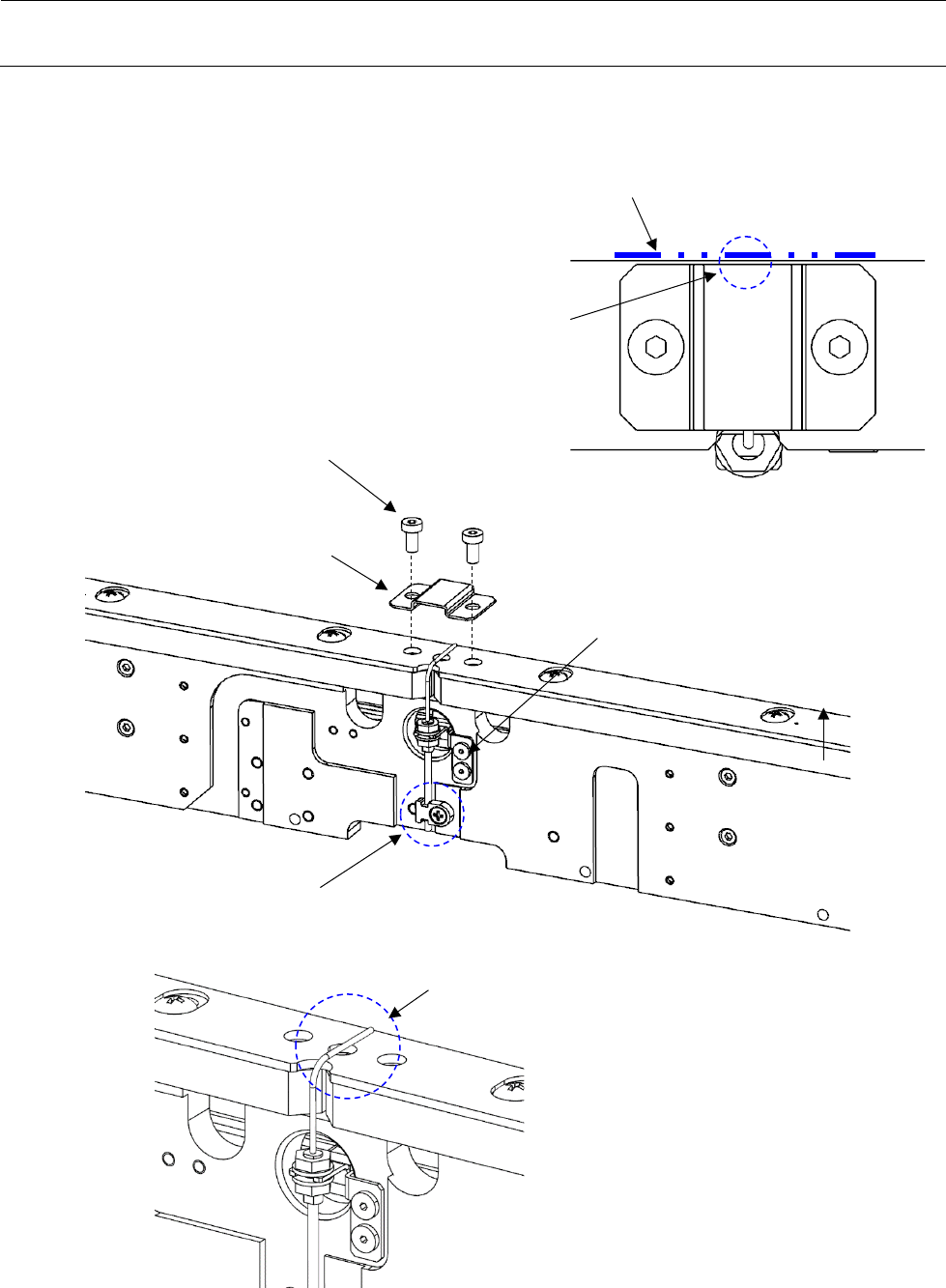
维修调整要领书 17 - 26 <第 1 轨道 /第 3 轨道> 在下降夹紧 板的状 态下 传感器 前端要位于 长孔内 夹紧板 固定底座 埋头螺钉 M3X0.5 L= 8 ( SM1030801SC ) 极低头螺栓 M3 L=5 ( EZ328248101 ) 要有空隙

维修调整要领书
17-25
17-7-3
停止传感器的更换
1) 打开传感器放大器保护罩,扳起位于光纤插入口附近的手柄,拔出光纤。
2) 卸下停止传感器护盖(仅第 2 轨道、第 4 轨道实施)。
3) 卸下停止传感器。
4) 从停止传感器托架上卸下传感器。
5) 更换停止传感器。
6) 用附件中的套筒弯曲机将新的停止传感器的前端按下图所示弯曲。
※ 请使用 R5 的位置弯曲成 90 度。
7) 安装时请按相反的操作顺序进行。
※ 第 1 轨道、第 3 轨道的停止传感器要装配在这样的位置上:在传感器前端与夹紧板之间有空隙,
并且在降下夹紧板的状态下,传感器前端位于长孔内。
※ 第 2 轨道、第 4 轨道的停止传感器要安装得与保持板上面接触,接触程度以传感器前端不受到
负载为宜。同时,停止传感器护盖要安装在护罩端面不从保持板端面突出的位置。并且,请确
认传感器前端没有从护罩突出。
停止传感器(HD001070030)
15mm
17mm
R5
关于套筒弯曲机(E39-F11)
・ 不锈钢管子的弯曲半径要尽量取得大一些。如弯曲半径做
得小,检测距离将变短。
・ 请将不锈钢管子的前端插
入套筒弯曲机的槽内,沿
着角部的曲率缓缓弯曲。
Φ1.2mm 以下
Φ1.3mm 以上
光纤前端
位置标记
不锈钢管子
停止传感器托架

维修调整要领书
17-26
<第 1 轨道/第 3 轨道>
在下降夹紧板的状态下
传感器前端要位于长孔内
夹紧板
固定底座
埋头螺钉 M3X0.5 L=8(SM1030801SC)
极低头螺栓 M3 L=5
(EZ328248101)
要有空隙

维修调整要领书
17-27
<第 2 轨道/第 4 轨道>
接触程度以不受到负载为宜
极低头螺栓 M3 L=5
(EZ328248101)
低头螺丝 M4 L=8
(40041221)
停止传感器护盖
固定底座
埋头螺钉 M3X0.5 L=8(SM1030801SC)
护罩端部不要从保持板端面突出
传感器前端不要从护罩突出