CM101-D (Electrical 20170529).pdf - 第13页
Kit Name Rank Q'ty 番号 Pa rt N o. キット名 品番 数量 ランク 頁 Pa ge No. 2 CM101-D:モジュラーマウンタ CM 101-D:Modular Placement M achine キットリスト Model No. 製品品番 Model Name 製品名称 NM-EJM5B KIT LIST 1 9 N610027774AA HUB Power BOX_RoHS HUB電源BO…

2
CM101-D:モジュラーマウンタ
CM101-D:Modular Placement Machine
キットレイアウト
Model No.
製品品番
Model Name
製品名称
NM-EJM5B
KIT LAYOUT
--
U3
( KEJM5BE-07-2 )

Kit Name
RankQ'ty
番号
Part No.
キット名
品番
数量 ランク
頁
PageNo.
2
CM101-D:モジュラーマウンタ
CM101-D:Modular Placement Machine
キットリスト
Model No.
製品品番
Model Name
製品名称
NM-EJM5B
KIT LIST
1
9
N610027774AA HUB Power BOX_RoHS
HUB電源BOX_RoHS
E17
1
10
N610044189AA Communication Function Wiring
通信機能対応配線
E19
1
11
N610044188AA PanaPro/CVT Wiring
PanaPro/CVT対応配線
E21
1
12
N610044190AA HUB Option Unit Wiring
HUBオプションユニット対応配線
E23
1
13
N610017946AA Feeder Cart Cont RoHS
一括交換台車制御RoHS対応
E25
1
14
NMEJW1A Change Cart Preparation Unit
一括交換台車段取ユニット
E27
1
15
N610052523AA 3Dsensor wiring
3Dセンサ対応配線
E29
U4
--
( KEJM5BE-07-2 )

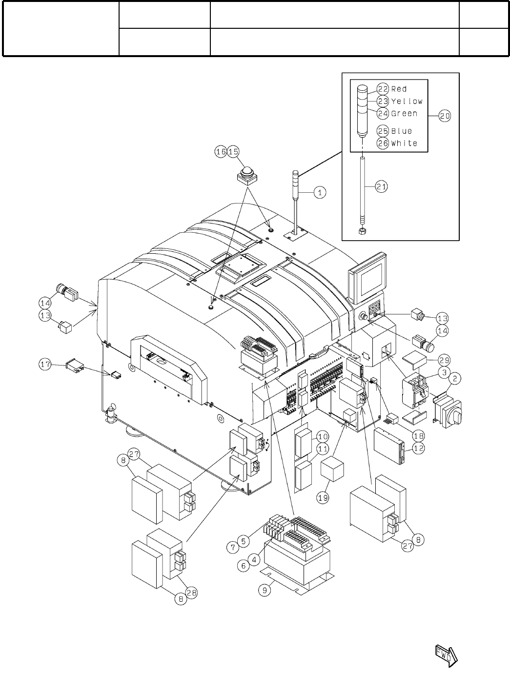
1
本体部取付制御部品
Electric Parts on Main Body
パーツレイアウト
Kit No.
キット品
番
Kit Name
キット名称
N610043861AA
セクションNo.
PARTS LAYOUT
Section No.
--
E1
( KN610043861AA-15 )