JIG CP-4-1.2.3(02JE)..pdf - 第35页
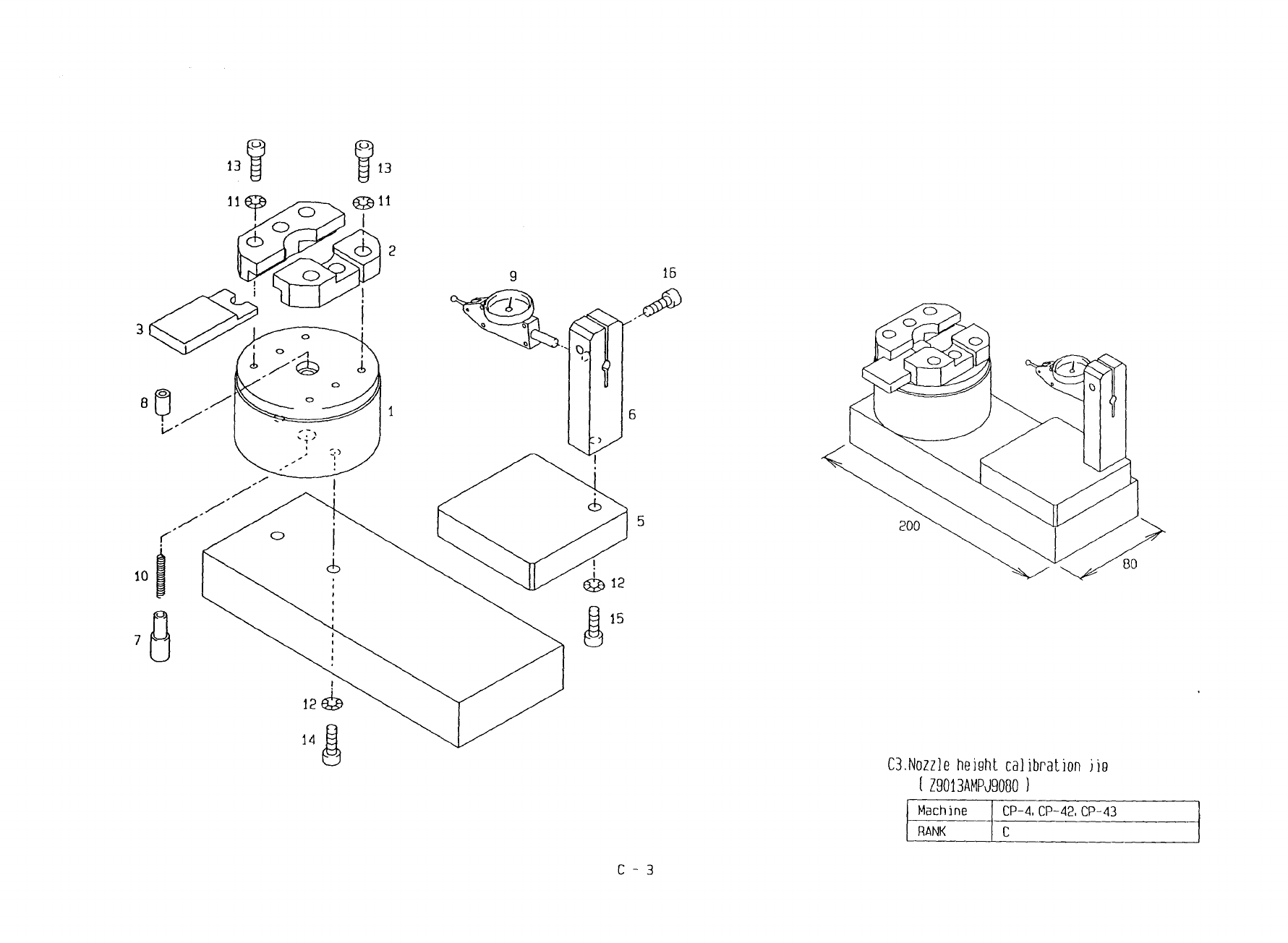
C 3 . / r 办高 $ 測定用治具 ( Z 9013 AHPJ 9080 ) Nozzle height calibration jig ( Z 9013 AHPJ 9080 ) Machine CP - 4 , CP - 42 , CP - 43 RANK C Z 4605 JA 1931 BODY 2 Z 4605 JA 1940 PLATE , RETAINING 3 Z 4605 JA 1950 SLIDE 4 Z 460…

cb
i
2
16
6
cb
5
101
&
12
l
15
12
^
I
14
C
3
.
Nozzle
height
calibration
jie
(
Z
9013
AMPJ
90
B
0
)
Machine
CP
-
4
,
CP
-
42
,
CP
-
43
RANK
C
C
-
3

C
3
.
/
r
办高
$
測定用治具
(
Z
9013
AHPJ
9080
)
Nozzle
height
calibration
jig
(
Z
9013
AHPJ
9080
)
Machine
CP
-
4
,
CP
-
42
,
CP
-
43
RANK
C
Z
4605
JA
1931
BODY
2
Z
4605
JA
1940
PLATE
,
RETAINING
3
Z
4605
JA
1950
SLIDE
4
Z
4605
JA
196
Q
BASE
5
Z
4605
JA
197
Q
BASE
,
SLIDE
6
Z
46
Q
5
JA
1980
HOLDER
,
DIAL
HOLDER
,
SPRING
7
IZ
46
Q
5
JA
1990
8
BUSHING
SA
-
4.0
-
12
9
K
4168
A
GAUGE
,
DIAL
LT
-
310
10
Z
5103
HPJ
0060
SPRING
11
fASHER
,
CONICAL
flOllA
M
-
4
-
L
12
fASHER
,
CONICAL
I
1
Q
13
A
M
-
6
-
H
13
BOLT
,
HEX
SOCKET
H
5290
A
6
H
4
X
15
L
14
H
5327
T
BOLT
,
HEX
SOCKET
2
M
6
X
30
L
H
5324
A
BOLT
,
HEX
SOCKET
15
H
6
X
2
QL
16
H
5300
A
BOLT
,
HEX
SOCKET
M
5
X
15
L
C
-
4

。
卜
、
i
、
-
J
C
4
.
For
measuring
nozzle
bending
(
Z
9
B
53
APJ
5550
)
CP
-
4
.
CP
-
42
,
CP
-
43
Machine
RANK
C
fi
C
-
5
4
Qy