文档中心
/
Cable trees_20211124_032445.pdf
Cable trees_20211124_032445.pdf - 第19页
Cable trees Page 19 / 87 24.11.2021
目录
100%
显示:宽度
宽度
1 / 87
回到旧版
旧版
?
Cable trees
Page 18 / 87
24.11.2021
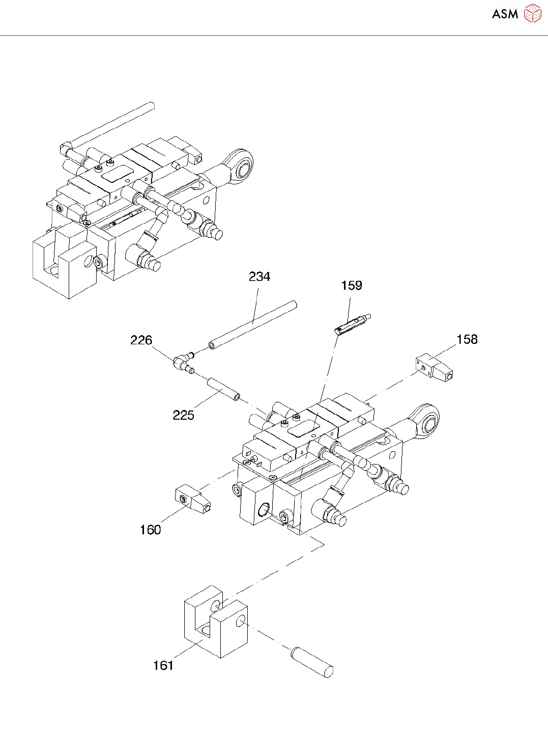
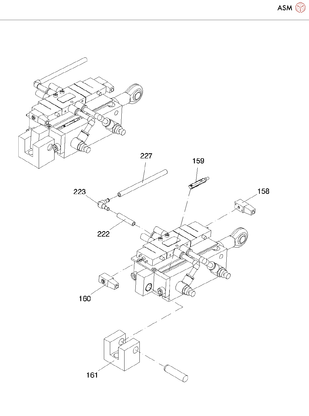
Cable trees
Page 19 / 87
24.11.2021
Cable trees
Page 20 / 87
24.11.2021
该页面需要启用 JavaScript 才能进行交互式预览。