Base gantry_20211122_045823.pdf - 第8页
Base gantry Page 8 / 11 22.11.2021

Base gantry
Page 7 / 11 22.11.2021

Base gantry
Page 8 / 11 22.11.2021

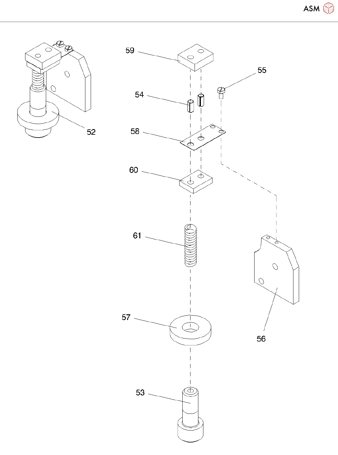
Base gantry
Page 9 / 11 22.11.2021
Pos. Item no. Description Part marking
1 03038303S01 BASE PORTAL SIPLACE S- F D *
2 03038333-01 GANTRY SIPLACE S/ F D GLUED
3 03038272-01 HEAD MOUNT - S-F / D -
PROCESSED
*
4 03038315-01 DEFLECTION UNIT X *
5 00328779-01 DEFLECTION AXIS SPARE PART
6 00373125-02 DEFLECTION PULLEY HS50/55,
COMPLETE
SPARE PART
7 03038314-02 X-AXIS STROKE LIMITATION
8 03044507-01 BUFFER COMPL.
9 00301040-01 ELASTOMER SPRING 25*10,5*50
(90 SHORE A)
SPARE PART
10 00305650-01 SLEEVE SPARE PART
11 03045111-01 DIN912-M8 X 20-A2-70
12 00364613-01 SYNCHRONISING DISC, SHORT,
COMPL.
SPARE PART
13 00364612-01 SYNCHRONISING DISC, LONG,
COMPL.
SPARE PART
14 00329478-01 WRENCH TOOL
15 03046479-01 DIN 964 M4 X 35-A2-70
16 03042542-01 ISO 4762 - M 3 X 8-A2-70 STANDARD PARTS
17 03044410-01 DIN912-M8 X 30-A2-70
18 03045111-01 DIN912-M8 X 20-A2-70
19 03046832-01 DIN912-M6 X 12-12.9, GEOMET 321
PLUS VL
20 03038308-01 TOOTHED BELT SYN. 50ATS5/1415
E9/11 Z+S
WEAR PART
21 00345186S01 GUIDE TROLLEY KWVE 25 H *
22 03075363S02 LP-CAMERA (TYP34) 28 DIGITAL RC SPARE PART
24 03044521-01 RING SPANNER COMPL. SPARE PART
25 03046825-01 DIN912-M3 X 6-12.9, GEOMET 321
PLUS VL
26 03038334-01 COVER TAPE SPARE PART
27 00343774-03 ADHESIVE TAPE SCOTCH 927 CONSUMABLE
28 03044533-01 RECIRCULATING BALL UNIT 12 C *
29 03044534-01 BALL MONORAIL SYSTEM 12 C *
30 03047215-02 INCREMENTAL ENCODER MS101 X-
AXIS/S/F-D
SPARE PART