Terminal board right side_20211119_101016.pdf

Terminal board right side Page 1 / 2 19.11.2021

100%1 / 2
Terminal board right side
Page 1 / 2 19.11.2021
Terminal board right side
Page 2 / 2 19.11.2021
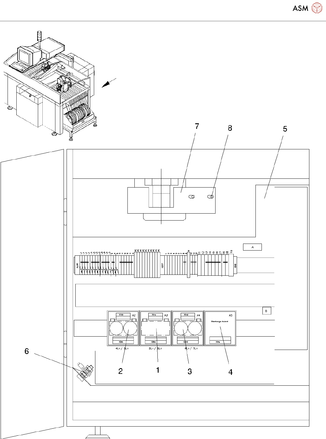
Pos. Item no. Description Part marking
00321510-07 TERMINAL BOARD (RIGHT SIDE)
80S20/F4
1 00300169-02 RECTIFIER PC-BOARD 60V SPARE PART
2 00300168-02 RECTIFIER PC-BOARD 6V SPARE PART
3 00300167-02 RECTIFIER 30V Spare Part
4 00308443-05 CURRENT DISCHARGE BOARD SPARE PART
5 00314307-03 CONTROL UNIT RACK
6 00344639-01 GROUND CONNECTION M4
7 00351718-01 MASK
8 00312474-01 HEXAGON SOCKET HEAD CAP
SCREW
Powered by TCPDF (www.tcpdf.org)