Dual conveyor fixed conveyor side right side_20211119_083119.pdf - 第25页
Dual conveyor fixed conveyor side right side Page 25 / 44 19.11.2021

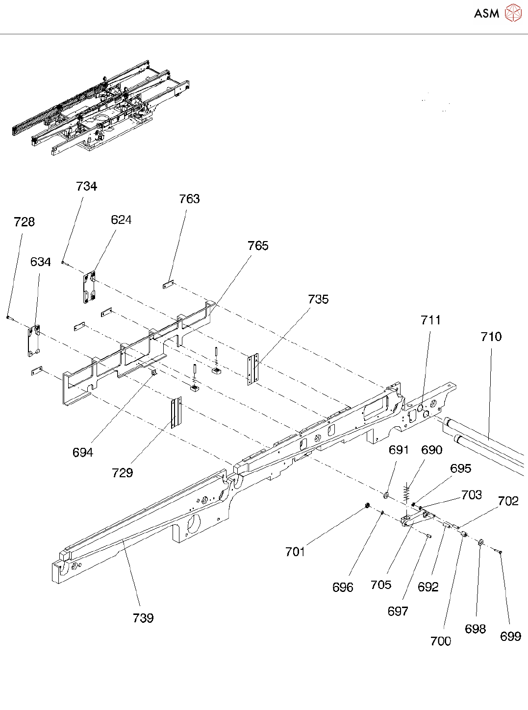
Dual conveyor fixed conveyor side right side
Page 24 / 44 19.11.2021

Dual conveyor fixed conveyor side right side
Page 25 / 44 19.11.2021

Dual conveyor fixed conveyor side right side
Page 26 / 44 19.11.2021