Single conveyor fixed side left_20211119_083010.pdf - 第18页
Single conveyor fixed side left Page 18 / 29 19.11.2021

Single conveyor fixed side left
Page 17 / 29 19.11.2021

Single conveyor fixed side left
Page 18 / 29 19.11.2021

Single conveyor fixed side left
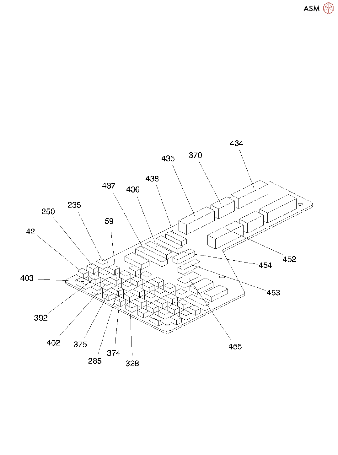
Page 19 / 29 19.11.2021
Pos. Item no. Description Part marking
1 00116026-03 FIXED CONVEYOR RAIL LEFT HAND
SIPLACE
2 00333662-01 PCB CONVEYOR LEFT, FIXED
COMPL. ASS.
3 00333663-01 PCB TRANSFER CONVEYOR, FIXED
SIDE LEFT
00329713-01 PARTS SET 4: PCB TRANSFER
CONVEYOR
5 00327859-01 GUIDE STRIP LONG: F SPARE PART
10 00327860-01 GUIDE RAIL SPARE PART
15 00200178-01 BOLT SPARE PART
16 00327877-01 BELT REVERSE, F PUSHABLE SPARE PART
24 00327878-01 BELT REVERSE, B PUSHABLE SPARE PART
32 00845014-01 HEXAGON SOCKET HEAD CAP
SCREW M3 X 8-8.8
33 00326017-03 BERO, POSITION , WIDTH 1 SPARE PART
34 00845028-01 HEXAGON SOCKET HEAD CAP
SCREW M4 X 20-8.8
35 00619847-01 PARALLEL PIN 3M5 X 20-ST
36 00845017-01 HEXAGON SOCKET HEAD CAP
SCREW
37 00200177-02 SHAFT SPARE PART
38 00200186-02 HOLDER Spare Part
39 00845019-01 HEXAGON SOCKET HEAD CAP
SCREW
40 00200333-01 TOOTHED BELT SYNCHROFLEX 6
T2,5/245
WEAR PART
41 00324405S02 MOTOR WITH SYNCHRONIZING
GEAR
SPARE PART
42 00326030-02 CABLE MOTOR OUTPUT BELT 1
44 00200182-03 MOUNT FOR MOTOR SPARE PART
45 00302026-02 ANGLE FOR TRANSFER CONVEYOR
RIGHT SIDE FIXED
46 00845014-01 HEXAGON SOCKET HEAD CAP
SCREW M3 X 8-8.8
49 00845016-01 HEXAGON SOCKET HEAD CAP
SCREW M3 X 12-8.8
50 00325918-01 BERO HOLDER SPARE PART
51 00845017-01 HEXAGON SOCKET HEAD CAP
SCREW