6-segm. Collect&place head DLM3_20211118_084206.pdf - 第18页
6-segm. Collect&place head DLM3 Page 18 / 24 18.11.2021

6-segm. Collect&place head DLM3
Page 17 / 24 18.11.2021

6-segm. Collect&place head DLM3
Page 18 / 24 18.11.2021

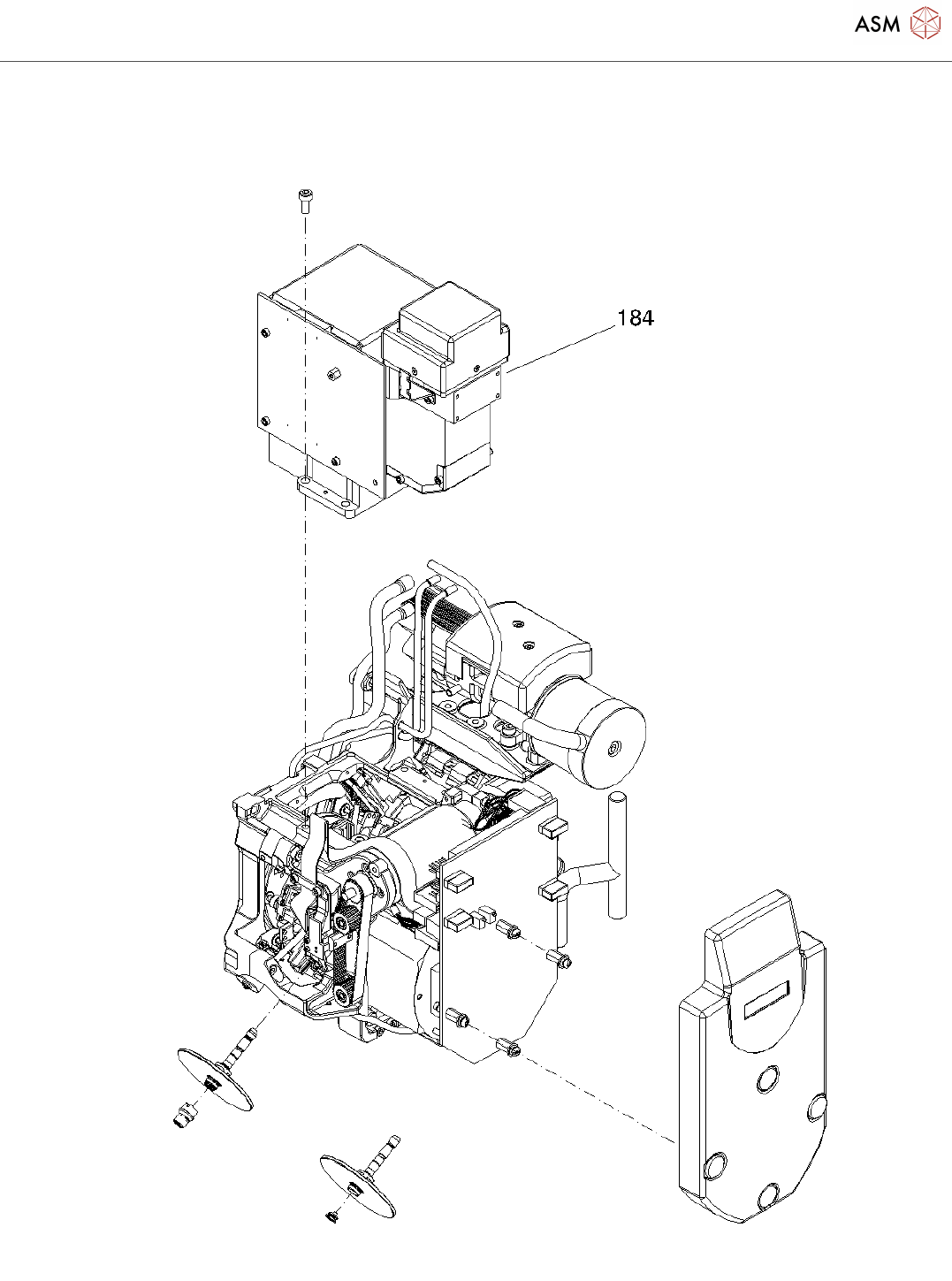
6-segm. Collect&place head DLM3
Page 19 / 24 18.11.2021
Pos. Item no. Description Part marking
1 03041229-01 6-SEGM. COLLECT+PLACE HEAD
DLM3 CPLT.
2 03048341S01 6-SEGM. C+P HEAD DLM3 / W.OUT
SLEEVES
Spare Part
3 03047767-01 FRONT UNIT DLM3 COMPLETE
4 03000926-01 FONT PART DLM2 / FINISHED PART
5 03031187S03 STAR MOTOR C28 CPLT. SPARE PART
03023760-01 ECCENTRIC DISC SPARE PART
6 03038908S01 Z-MOTOR WITH PCB SPARE PART
7 03001959S01 Z-AXIS CPL. DLM2 SPARE PART
8 00337640S01 1401GUIDE GEAR WHEEL, DLM1 SPARE PART
9 00367793S03 BLISTER UNIT DLM2/DLM3 SPARE PART
10 03001695-01 DISTRIBUTOR BLOCK /DLM2
11 00368050-01 THREADED JOINT SMC M-5ALN-4
12 00342849-02 TUBE 20/DLM1
13 00359080-01 TUBE COUPLER T-CM-PK-2-SA
14 00342863-02 HOSE
15 00342850-02 TUBE 21/DLM1
16 00342861-02 TUBE 22/DLM1
17 03003526-03 MICRO SWITCHING VALVE BLOWING
UNIT 15V
SPARE PART
18 00337760-01 BANJO BOLT M5 WITH THROTTLE
VALVE
19 03002197S01 DRIVER ARM ASSY SPARE PART
20 03002196S01 LIMIT BUFFER, DRIVER ARM DLM2
21 03034337S01 HANDLE ASSY SPARE PART
22 00319327S06 BEARING RACE /Z-AXIS
GUIDE/SEGM. GUIDE
SPARE PART
23 00329631-01 SLEEVE MOUNT 1
24 03039046S01 COVER Z-LIGHT BARRIER TOP II SPARE PART
25 00337715S01 MOTOR CLIP1 (Z-AXIS DRIVE), DLM1 SPARE PART
26 00343111S01 MOTOR CLIP2 (Z-AXIS DRIVE), DLM1 SPARE PART
27 00320965S02 STOP
28 00334801-01 ANGLE CLIP /DLM1
29 03043700S01 INSTEP LOCK / Z-AXIS SPARE PART
30 03002008S01 BLAST PIPE DLM2 SPARE PART