文档中心
/
Cable trees_20211123_070723.pdf
Cable trees_20211123_070723.pdf - 第5页
Cable trees Page 5 / 13 23.11.2021
目录
100%
显示:宽度
宽度
1 / 13
回到旧版
旧版
?
Cable trees
Page 4 / 13
23.11.2021
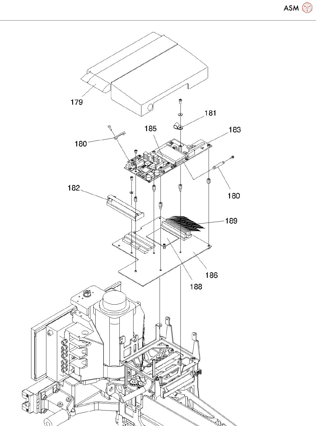
Cable trees
Page 5 / 13
23.11.2021
Cable trees
Page 6 / 13
23.11.2021
该页面需要启用 JavaScript 才能进行交互式预览。