文档中心
/
Cable trees_20211118_090453.pdf
Cable trees_20211118_090453.pdf - 第7页
Cable trees Page 7 / 15 18.11.2021
目录
100%
显示:宽度
宽度
1 / 15
回到旧版
旧版
?
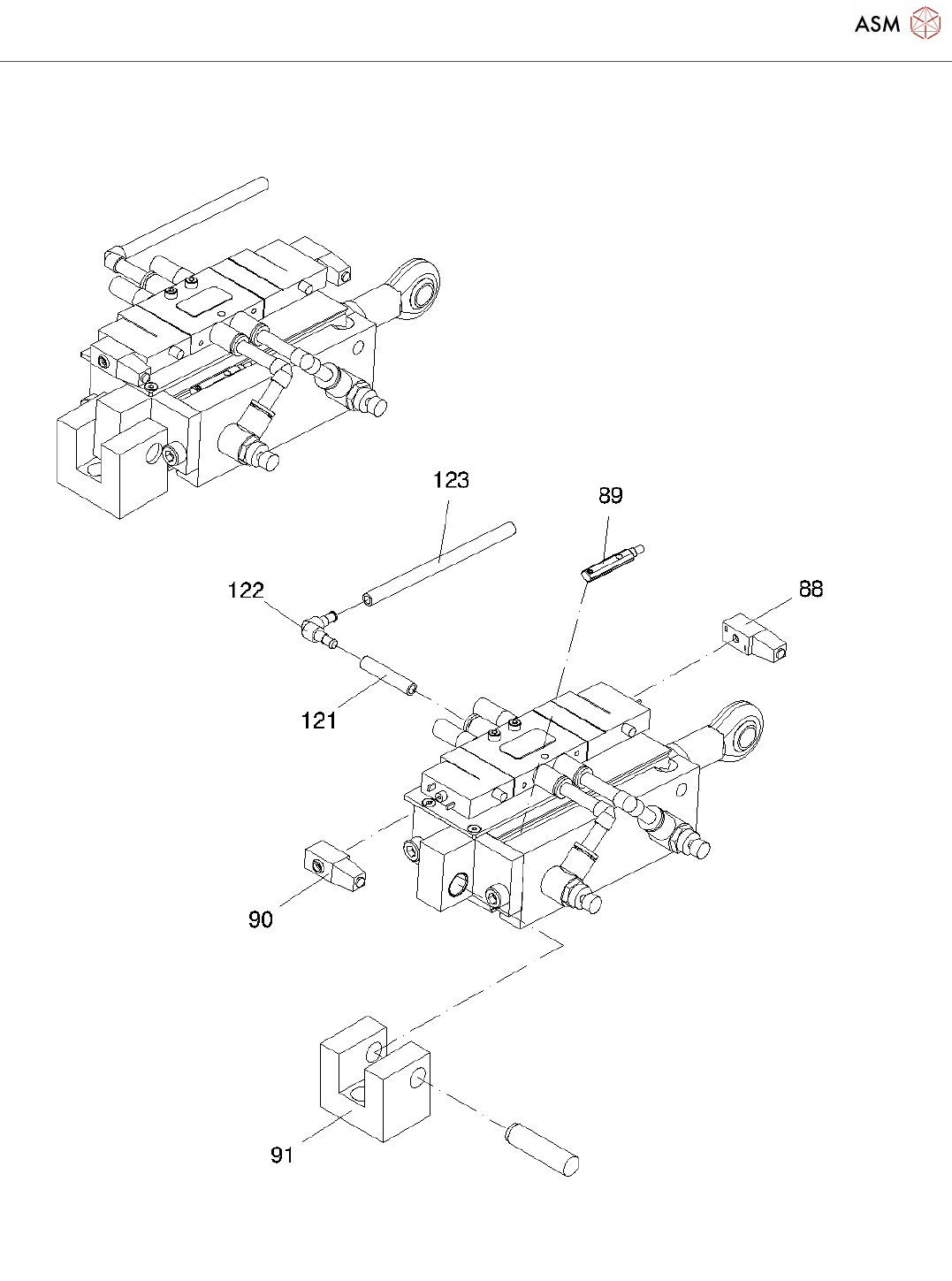
Cable trees
Page 6 / 15
18.11.2021
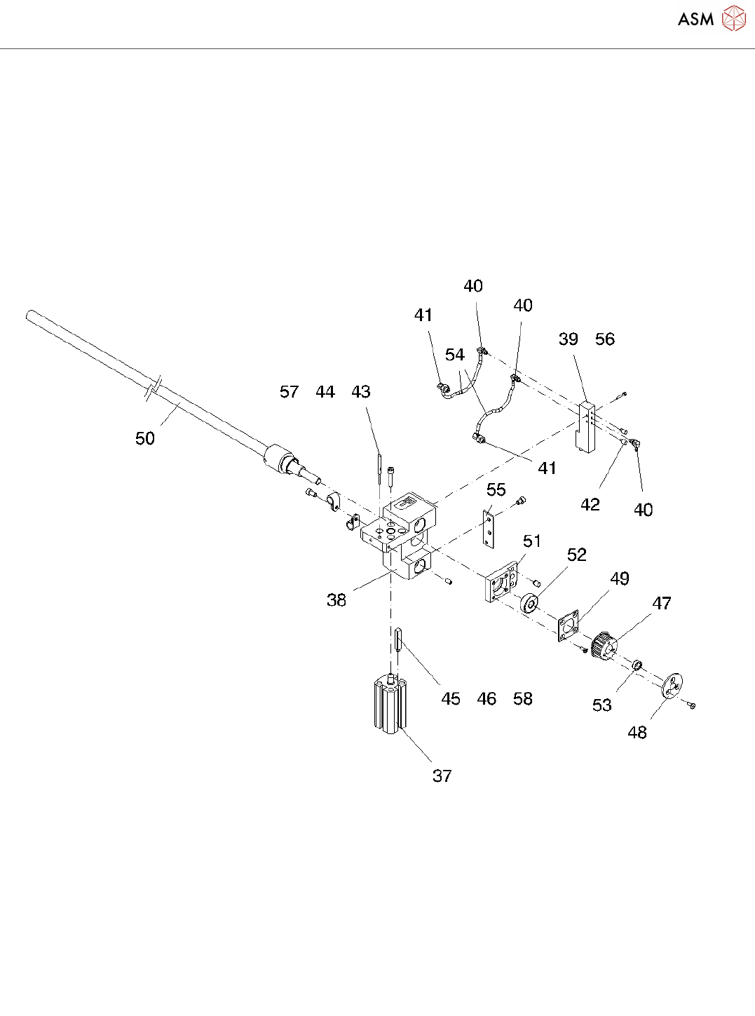
Cable trees
Page 7 / 15
18.11.2021
Cable trees
Page 8 / 15
18.11.2021
该页面需要启用 JavaScript 才能进行交互式预览。