4OM-1218-005.pdf - 第66页

1-12 0505-003 3. 1 3. 1 3. 1 3. 1 3. 1 整体图 整体图 整体图 整体图 整体图 Fig. 4A7 Fig. 4A7 Fig. 4A7 Fig. 4A7 Fig. 4A7 各部风扇的配置 各部风扇的配置 各部风扇的配置 各部风扇的配置 各部风扇的配置 Fig. 4A8 Fig. 4A8 Fig. 4A8 Fig. 4A8 Fig. 4A8 风扇 风扇 风扇 风扇 风扇 安装头部 安装头部 安装头部 安…

100%1 / 199
1-11
3. 3.
3. 3.
3.
维护保养部位维护保养部位
维护保养部位维护保养部位
维护保养部位
0505-003
3.3.
3.3.
3.
维护保养部位维护保养部位
维护保养部位维护保养部位
维护保养部位
3.13.1
3.13.1
3.1
整体图整体图
整体图整体图
整体图
包括卸下装置机盖的操作。
(a) 各部详细的维护保养部位以及维护保养方法请参照 3.3
后的章节。
(b) 关于选项,请参照各特殊规格的使用说明书进行维护保养。
结束维护保养后,结束维护保养后,
结束维护保养后,结束维护保养后,
结束维护保养后,
请务必安装机盖。请务必安装机盖。
请务必安装机盖。请务必安装机盖。
请务必安装机盖。
注意注意
注意注意
注意
Reference
Fig. 4A6 Fig. 4A6
Fig. 4A6 Fig. 4A6
Fig. 4A6
装置正面装置正面
装置正面装置正面
装置正面
Note
真空系统真空系统
真空系统真空系统
真空系统
气源气源
气源气源
气源
送料器推车部送料器推车部
送料器推车部送料器推车部
送料器推车部
控制箱部控制箱部
控制箱部控制箱部
控制箱部
1-120505-003
3.1 3.1
3.1 3.1
3.1
整体图整体图
整体图整体图
整体图
Fig. 4A7 Fig. 4A7
Fig. 4A7 Fig. 4A7
Fig. 4A7
各部风扇的配置各部风扇的配置
各部风扇的配置各部风扇的配置
各部风扇的配置
Fig. 4A8Fig. 4A8
Fig. 4A8Fig. 4A8
Fig. 4A8
风扇风扇
风扇风扇
风扇
安装头部安装头部
安装头部安装头部
安装头部
((
((
(
装置正面装置正面
装置正面装置正面
装置正面
))
))
)
线路板定位部线路板定位部
线路板定位部线路板定位部
线路板定位部
传送带部传送带部
传送带部传送带部
传送带部
元件识别照相机部元件识别照相机部
元件识别照相机部元件识别照相机部
元件识别照相机部
吸嘴储料器部吸嘴储料器部
吸嘴储料器部吸嘴储料器部
吸嘴储料器部
XYXY
XYXY
XY
横梁部横梁部
横梁部横梁部
横梁部
切割器部切割器部
切割器部切割器部
切割器部
((
((
(
装置背面装置背面
装置背面装置背面
装置背面
))
))
)
((
((
(
装置正面装置正面
装置正面装置正面
装置正面
))
))
)
送料器安装台驱动部送料器安装台驱动部
送料器安装台驱动部送料器安装台驱动部
送料器安装台驱动部
1-13
3.23.2
3.23.2
3.2
各部维护保养的查看方法各部维护保养的查看方法
各部维护保养的查看方法各部维护保养的查看方法
各部维护保养的查看方法
记载了装置各部位所必需的维护保养。
关于周期性的维护保养,请有效利用 2.维护保养检查表
点检、点检、
点检、点检、
点检、
清扫、清扫、
清扫、清扫、
清扫、
注油处的查看方法注油处的查看方法
注油处的查看方法注油处的查看方法
注油处的查看方法
((
((
(
示例示例
示例示例
示例
))
))
)
[1] [1]
[1] [1]
[1] : 表示维护保养的部位。
[2] [2]
[2] [2]
[2] : 表示维护保养的周期与内容。
[3] [3]
[3] [3]
[3] : 表示维护保养的详细内容。
[4] [4]
[4] [4]
[4] : 表示维护保养概要的所要时间。
( 不包括机盖等的装卸时间。)
Fig. 4A9Fig. 4A9
Fig. 4A9Fig. 4A9
Fig. 4A9
0508-004
3.2 3.2
3.2 3.2
3.2
各部维护保养的查看方法各部维护保养的查看方法
各部维护保养的查看方法各部维护保养的查看方法
各部维护保养的查看方法
[ 1 ][ 1 ]
[ 1 ][ 1 ]
[ 1 ]
[2][2]
[2][2]
[2]
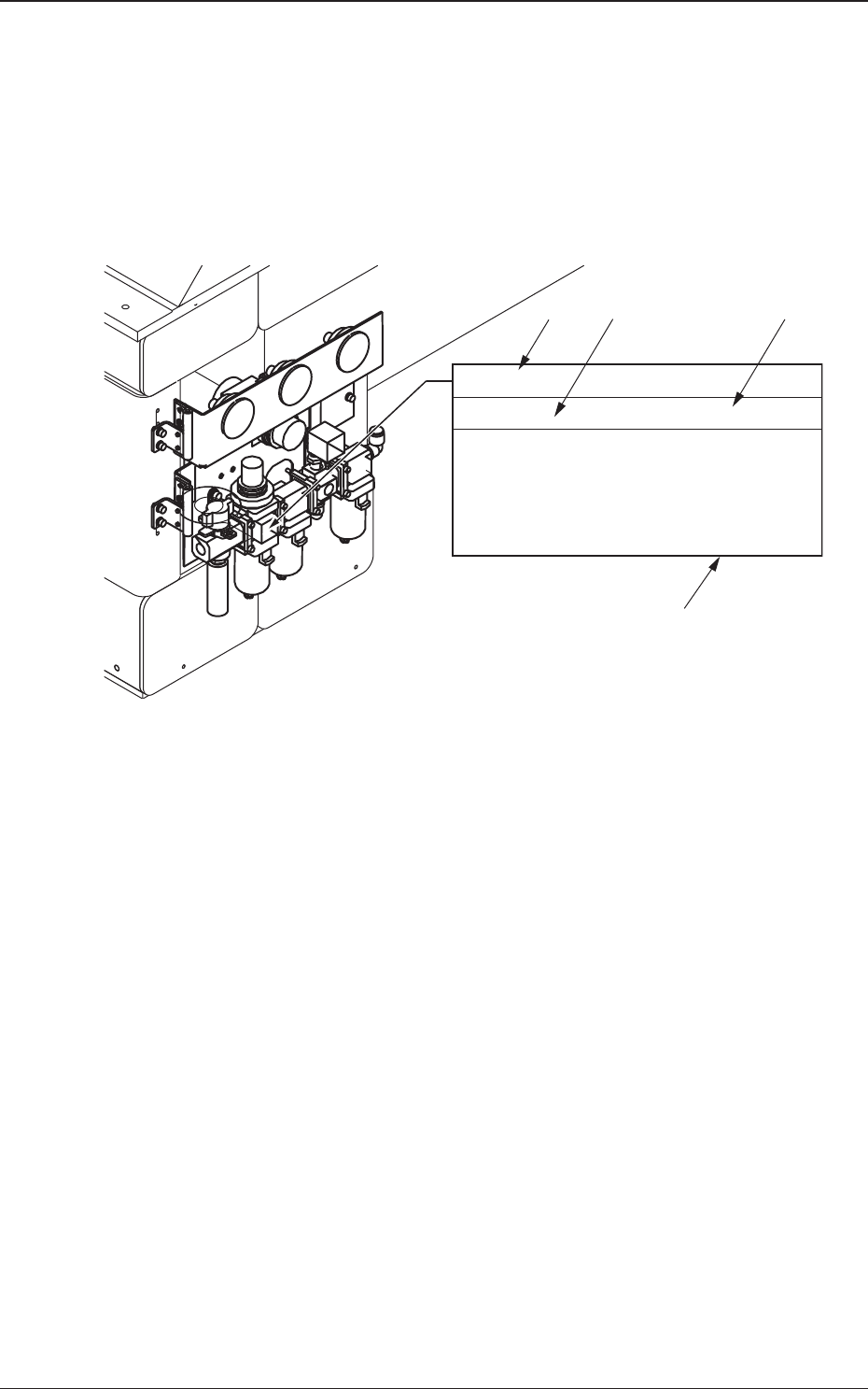
主气压主气压
主气压主气压
主气压
每天 点检 所要时间:1分
设定空气压力 0.45MPa(4.6kgf/cm
2
)
请目视确认在运转时空气压力是否达到
Min.0.4MPa(4.1kgf/cm
2
)
否则,请进行调整。
[3][3]
[3][3]
[3]
[4][4]
[4][4]
[4]