文档中心
/
Cable trees_20211122_075226.pdf
Cable trees_20211122_075226.pdf - 第45页
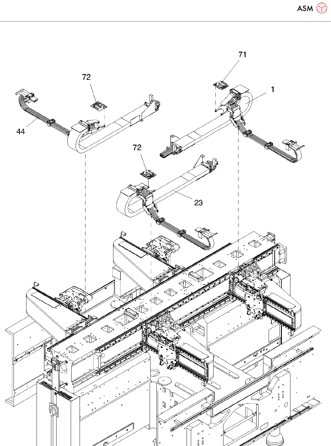
Cable trees Page 45 / 71 22.11.2021
目录
100%
显示:宽度
宽度
1 / 71
回到旧版
旧版
?
Cable trees
Page 44 / 71
22.11.2021
Cable trees
Page 45 / 71
22.11.2021
Cable trees
Page 46 / 71
22.11.2021
该页面需要启用 JavaScript 才能进行交互式预览。