XP241E 操作入门(SC) TUT-XP241-1.0CM.pdf - 第53页
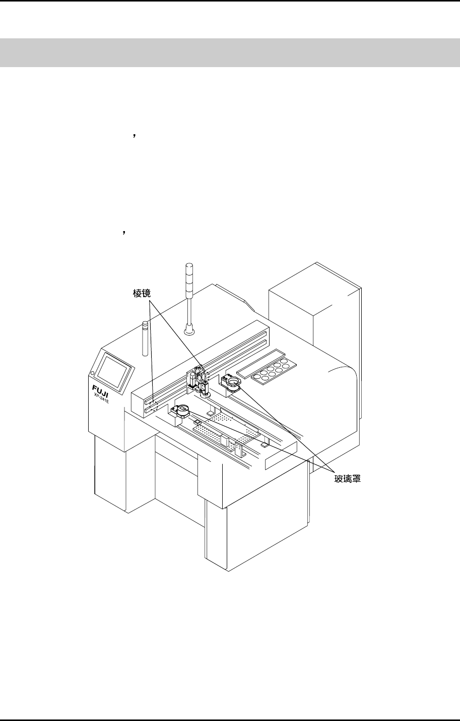
及 7 嫗 : 隠劍 XP-241E 荷恬秘壇 7-6 Editi on 1.0 7.6 7.6 7.6 7.6 説承才横詮孛議賠膝 説承才横詮孛 議賠膝 説承才横詮孛 議賠膝 説承才横詮孛 議賠膝 ( ( ( ( 耽巓 耽巓 耽巓 耽巓 ) ) ) ) 勣泣 勣泣 勣泣 勣泣 序佩協豚議賠膝 辛聞唹№侃尖糧協 。 圭隈 圭隈 圭隈 圭隈 萩喘悲罷 議下賜架 渚崕賠膝説承才横 詮孛貧中 。 輝冢嶷鞭麟扮 萩聞喘斌 糾竃弁議承遊賠 準質。…

及 7 嫗: 隠劍
Edition 1.0 7-5 XP-241E 荷恬秘壇
7.5
7.57.5
7.5 横詮巣周議賠膝
横詮巣周議賠膝 横詮巣周議賠膝
横詮巣周議賠膝 (
( (
(耽巓
耽巓耽巓
耽巓)
))
)
勣泣
勣泣勣泣
勣泣
壓峺協議了崔貧喜墮嗤横詮巣周喘噐簾恁指廬嶄伉議霞協吉。駅倬協豚賠牢參隠屬糧協
議俐屎
霞協。
圭隈
圭隈圭隈
圭隈
聞喘悲罷泡徨(賠膝孚㌢字承遊喘)賠膝曾中。
XP2T7004CM

及 7 嫗: 隠劍
XP-241E 荷恬秘壇 7-6 Edition 1.0
7.6
7.67.6
7.6 説承才横詮孛議賠膝
説承才横詮孛議賠膝説承才横詮孛議賠膝
説承才横詮孛議賠膝 (
( (
(耽巓
耽巓耽巓
耽巓)
))
)
勣泣
勣泣勣泣
勣泣
序佩協豚議賠膝 辛聞唹№侃尖糧協。
圭隈
圭隈圭隈
圭隈
萩喘悲罷議下賜架渚崕賠膝説承才横詮孛貧中。
輝冢嶷鞭麟扮
萩聞喘斌糾竃弁議承遊賠準質。
XP2T7005CM

及 7 嫗: 隠劍
Edition 1.0 7-7 XP-241E 荷恬秘壇
7.7
7.77.7
7.7 字匂坪何議賠膝
字匂坪何議賠膝字匂坪何議賠膝
字匂坪何議賠膝 (
( (
(耽巓
耽巓耽巓
耽巓)
))
)
勣泣
勣泣勣泣
勣泣
育昧彭字匂議塰廬 自富楚議巣周才凪麿呟麗氏柊鯛壓字匂議坪何。
萩協豚序佩賠膝參隠屬字匂坪何議賠準。
圭隈
圭隈圭隈
圭隈
少御
賠膝念萩繍麼窮坿俳僅。
1. 喘泡徨繍柊鯛壓字匂坪何議巣周才凪麿呟麗茅肇。
2. 喘孤下吉繍紗嗟何了參翌議字匂巣何周燕中侭現議嗟妛茅肇。