P-0183-001.pdf - 第107页
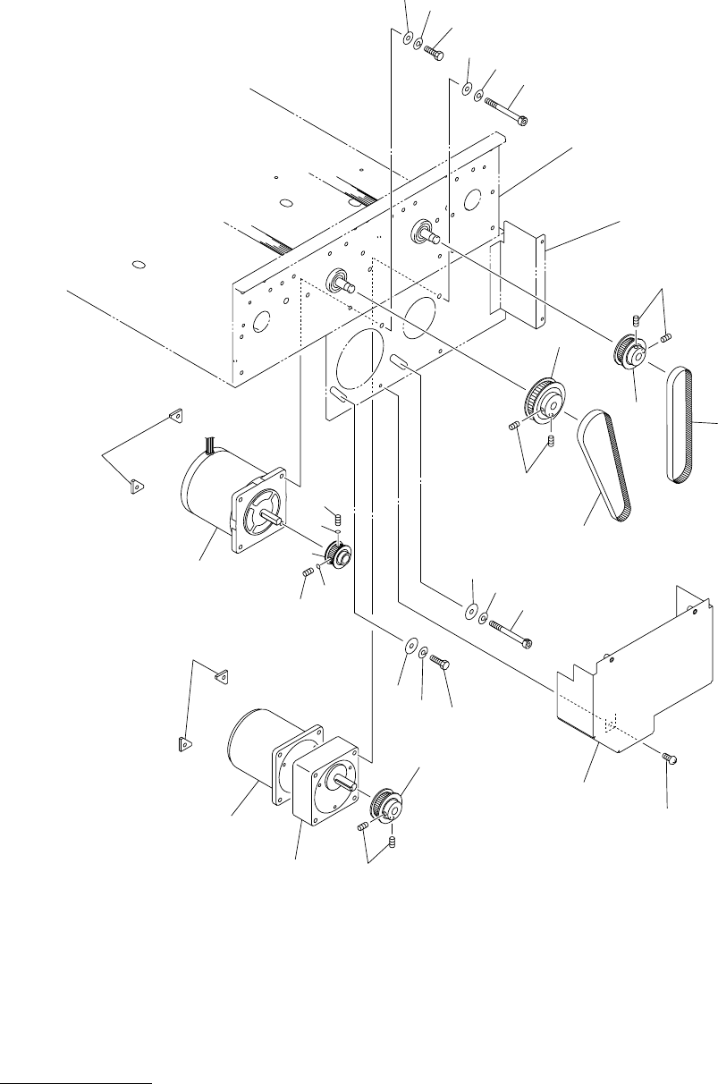
MODEL TCM-X300S 0306-001 Key No. P AR T No. P AR T NAME Q’ ty REMARKS NOTE 105 H-7 60 2 630 006 0409 GE AR, RE DUCTION 1 4 G N12.5K 814H--010-602 60 3 630 092 9782 ASSY ,MOTOR,REVERSIBLE 1 M 4 81 4 H -- 010-603 60 4 630 …

MODEL TCM-X300S
0306-001
104
R ࠦࡦࡌࠕㇱ R CONVEYOR SECTION
Fig. H-7 ࠦࡦࡌࠕࡌ࡞࠻㚟േㇱ Conveyor Belt Driver
615
621
621
615
614
610
611
610
609
602
603
608
608
609
See Fig.H-1
Key No.1
See Fig.H-5
Key No.413
610
616
620
606
605
604
618
606
605
613
607
605
604
607
612
605
613
619

MODEL TCM-X300S
0306-001
Key No. PART No. PART NAME Q’ty REMARKS
NOTE
105
H-7
602 630 006 0409 GEAR,REDUCTION 1 4GN12.5K 814H--010-602
603 630 092 9782 ASSY,MOTOR,REVERSIBLE 1 M4 814H--010-603
604 630 000 7848 BOLT,HEX-SCT 2 814H--010-604
605 411 141 6705 WASHER SPR 5 4 814H--010-605
606 411 141 4107 WASHER V 5X10X1 2 814H--010-606
607 630 001 0220 WASHER 2 814H--010-607
608 630 085 7788 NUT 4 814H--010-608
609 630 009 2684 PULLEY,TIMING 2 814H--010-609
610 630 000 8951 SET SCREW 6 814H--010-610
611 630 078 7900 BELT,TIMING 1 814H--010-611
612 630 118 2476 ASSY,MOTOR,STEPPING 1 MPM26(R2CV) 814H--010-612
613 630 000 7770 BOLT,HEX-SCT 2 814H--010-613
614 630 119 7951 PULLEY,TIMING 1 814H--010-614
615 630 008 2296 SET SCREW 2 814H--010-615
616 630 036 0608 BELT,TIMING 1 814H--010-616
618 630 118 2230 COVER(MOTOR) 1 814H--010-618
619 411 051 2804 SCR TRS 4X8 1 814H--010-619
620 630 107 0025 PULLEY,TIMING 1 814H--010-620
621 630 119 9290 SHEET 2 814H--010-621

MODEL TCM-X300S
0306-001
106
X ゲޔY ゲ X AXIS, Y AXIS
Fig. JB-1 X ゲ㚟േㇱ X Axis Driver
18
14
6
41
44
21
45
11
9
41
7
24
15
8
30
33
16
19
19
28
31
23
42
43
12
10
26
30
33
38
39
40
36
4
31
28
20
31
25
30
34
1
25
30
34
28
20
13
17
3
2
32
29
22
14
18