CX-1-Rev10PDFA.pdf - 第79页
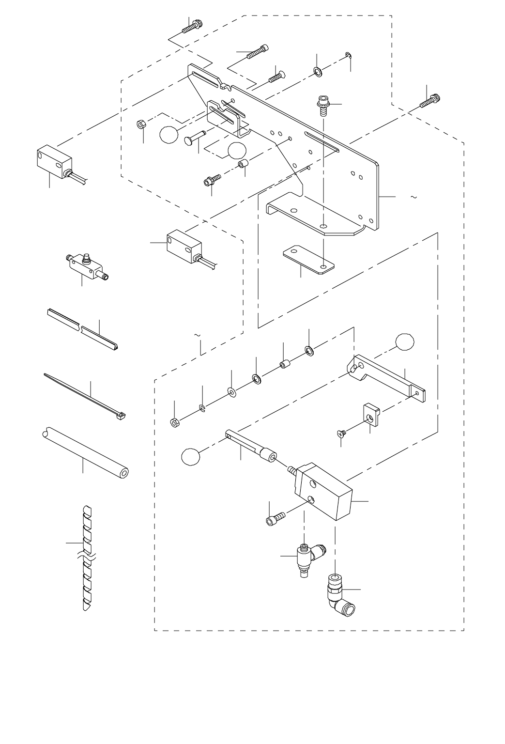
- 74 - N O TE( 注記 ) #0 1 ....F OR FRON T ・ LE FT-RIGHT 手前・左右用 FOR REAR ・ R I GHT-L EFT 奥・右左用 #0 2 ....F OR FRON T ・ RI G H T-LEFT 手前・右左用 FOR REAR ・ L E FT - R IGHT 奥・左右用 *I NS TA LLAT IO N POSIT IO N AND DI RE CTI ON V A…

- 73 -
37.PWB CONVEYOR COMPONENTS (7)
基板搬送関係(7)
24
25
15
15
26
4
5
1
6
7
8
9
10
11
11
9
12
14
16
17
18
19
20
21
22
13
22
17
16
19
18
27
44
2
3
23

- 74 -
NOTE( 注記 ) #01....FOR FRONT ・ LEFT-RIGHT 手前・左右用
FOR REAR ・ RIGHT-LEFT 奥・右左用
#02....FOR FRONT ・ RIGHT-LEFT 手前・右左用
FOR REAR ・ LEFT-RIGHT 奥・左右用
*INSTALLATION POSITION AND DIRECTION VARY IF THE PWB TRANSFER
REFERENCE IS DIFFERENT.
基板搬送基準が異なると取付位置、方向が変わります。
REF.NO NOTE PART NO D E S C R I P T I O N
品 名
Qty
1 400-00886 GUIDE BLOCK ASM
ガイドブロック組
1
2 400-00887 GUIDE_BLOCK_A_ASM
ガイドブロック A 組
(1)
3 400-00889 GUIDE BLOCK B ASM
ガイドブロック B 組
(1)
4 400-00891 STOPER SLIDE LEVER L
ストッパスライドレバー L
(1)
5 400-00897 STOPER SLIDE LEVER R
ストッパスライドレバー R
(1)
6 400-00892 DAMPER BLOCK L ダンパブロック L (1)
7 400-15791 DAMPER PLATE L
ダンパープレート L
(1)
8 400-15792 DAMPER PLATE R
ダンパープレート R
(1)
9 400-15793 LOCK SPRING
ロックスプリング
(2)
10 400-00895 DAMPER BLOCK R
ダンパブロック R
(1)
11 SL-6030892-TN SCREW
座金付き六角穴ボルト
(4)
12 400-02122 T.PIN SENS ASM
ティーピンセンサ組
1
13 SL-6030692-TN BOLT
座金付き六角穴ボルト
1
14 SL-4031091-SC SCREW M3 X 10
なべ小ねじセムス
2
15 RE-0300000-K0 E-RING 3
E 形止め輪 3
2
16 400-00896 DAMPER LOCK PIN
ダンパロックピン
2
17 400-00978 DAMPER LOCK LINK
ダンパロックリンク
2
18 400-00950 DAMPER SPRING
ダンパスプリング
2
19 RE-0300000-K0 E-RING 3
E 形止め輪 3
6
20 EA-9500B00-00 CLIP CV-70S
結束バンド 60
5
21 HX-0031400-00 SPIRAL TABE
スパイラル チューブ
0.3
22 400-01081 CENTERING PIN 4.0
センタリングピン4.0
2
23 400-00877 GUIDE BLOCK CLAMP
ガイドブロッククランプ
1
24 SM-6041602-TN SCREW M4 X 16
六角穴ボルト M 4 X 0.7 L =16
1
25
#01
E2148-721-000 SENSOR BRACKET R
センサブラケット R
1
26
#02
E2147-721-000 SENSOR BRACKET L
センサブラケット L
1
27 400-01087 CENTERING PIN 3.4
センタリングピン3.4
1
28 400-01088 CENTERING PIN 3.3
センタリングピン3.3
1
29 400-01089 CENTERING PIN 3.2
センタリングピン3.2
1
30 400-01090 CENTERING PIN 3.1 センタリングピン3.1 1
31 400-01091 CENTERING PIN 3.0
センタリングピン3.0
1
32 400-01092 CENTERING PIN 2.9
センタリングピン2.9
1
33 400-01093 CENTERING PIN 2.8
センタリングピン2.8
1
34 400-01094 CENTERING PIN 2.7
センタリングピン2.7
1
35 400-01095 CENTERING PIN 2.6
センタリングピン2.6
1
36 400-01096 CENTERING PIN 2.5
センタリングピン2.5
1
37 400-01097 CENTERING PIN 2.0
センタリングピン2.0
1
38 400-01098 CENTERING PIN 1.9
センタリングピン1.9
1
39 400-01099 CENTERING PIN 1.8
センタリングピン1.8
1
40 400-01082 CENTERING PIN 3.9
センタリングピン3.9
1
41 400-01083 CENTERING PIN 3.8
センタリングピン3.8
1
42 400-01084 CENTERING PIN 3.7
センタリングピン3.7
1
43 400-01085 CENTERING PIN 3.6 センタリングピン3.6 1
44 400-01086 CENTERING PIN 3.5
センタリングピン3.5
1

- 75 -
38.PWB CONVEYOR COMPONENTS (8)
基板搬送関係(8)
44
35
33
32
31
34
27
30
A
26
29
29
A
45
28
9 16
17 24
25
36
37
38
39
40
41
42
43
46
47
1
2
3
3
4
5
6
8
7
B
B