JUKI_KE-2050-2060_SVC_CH安装要领.pdf - 第7页
Rev.1.00 安装要领书 3. 有关包装箱包装材料等的除去 3-1. 机器主体 请取下包装机器的塑料包装。 ( 仅限对国内出货机器 ) 塑料包装尺寸∶ 1800 × 1700 × 1500 ( 横宽 × 纵深 × 高度) t 0.05 (厚度) 注 ) 所有的塑料包装尺寸,均是按照对应最大基板尺寸的机器外形尺寸设定的。 图 3-1 3

Rev.1.00
安装要领书
2. 主机的搬运方法
<程序>
1. 搬运和移动主机时,请扳起脚轮固定器,让脚轮确实地落到地面之后再进行操作。
2. 用叉车移动时,请把叉车的爪从主机前方放入,确认叉车爪全部伸出主机的后方之后,再抬起
移动。
<注意>
1. 用叉车移动时,请把货物重心标志放到叉车爪的中央位置。
(板条货架也同样。)
2.请不要安装着视觉监视器、信号灯的状态用叉车移动主机。
(板条货架也同样。)
图 2-1 货物重心标志
脚轮固定器
脚轮
货物重心标志
视觉监视器
信号灯
2

Rev.1.00
安装要领书
3. 有关包装箱包装材料等的除去
3-1. 机器主体
请取下包装机器的塑料包装。(仅限对国内出货机器)
塑料包装尺寸∶1800×1700×1500(横宽×纵深×高度) t 0.05(厚度)
注) 所有的塑料包装尺寸,均是按照对应最大基板尺寸的机器外形尺寸设定的。
图 3-1
3

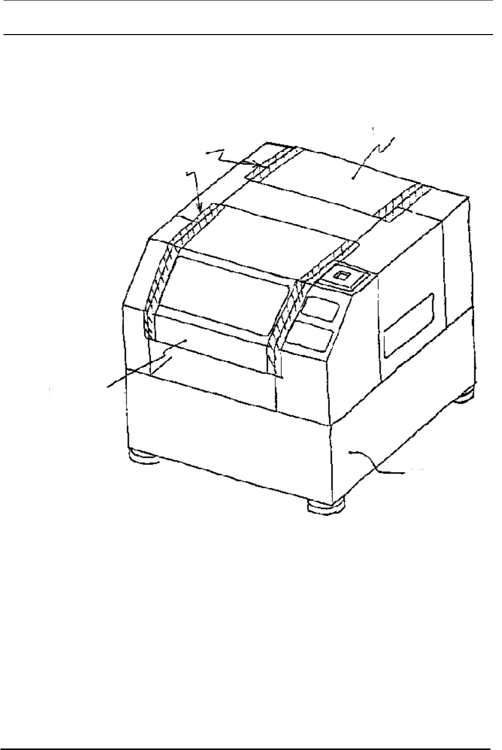
Rev.1.00
安装要领书
3-2. 安全防护罩
请揭下安全防护罩上贴的纤维丝带。
图 3-2
防护罩 F
纤维丝带
防护罩
R
主机
4