Config upgrade kit NC 2. row X4 S_20211124_095242.pdf - 第11页
Config upgrade kit NC 2. row X4 S Page 11 / 14 24.11.2021

Config upgrade kit NC 2. row X4 S
Page 10 / 14 24.11.2021

Config upgrade kit NC 2. row X4 S
Page 11 / 14 24.11.2021

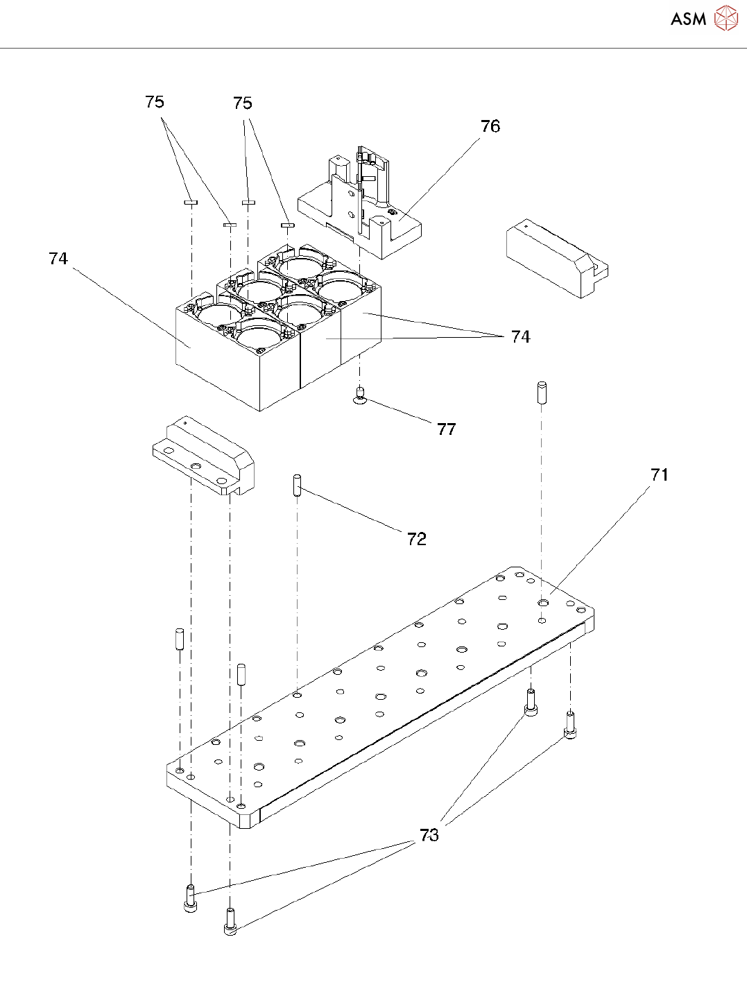
Config upgrade kit NC 2. row X4 S
Page 12 / 14 24.11.2021
Pos. Item no. Description Part marking
03099882-01 CONFIG UPGRADE KIT NC 2.R X4 S
00519715-01 NOZZLE CHANGER CP20 SX1/3
2 03062463-02 NOZZLE CHANGER BASIS
ASSEMBLY CPX SHORT
3 03063432-01 BASIS PLATE CPX SHORT CPLT.
4 03001821-01 BALL FOR SNAP FASTENER SPARE PART
5 03013445S01 LEVER COMPLETE SPARE PART
6 00619841-01 PARALLEL PIN 3M5 X 8-ST
7 03070126-01 SLIDER CPX SHORT CPLT.
8 00316904-01 DIN 125-A 3,2-140HV-A2
9 00321948-01 HEXAGON NUT M3
10 03063318-01 DRIVE CPX CPLT.
11 03072689-01 EXCENTRIC CPX CPLT.
00200335S01 BALL BEARING 3*8*3 619/3-2Z WEAR PART
13 03064012-01 VALVE CPX CPLT.
14 00310021-01 SILENCER U-M5 NR4645 STANDARD PARTS
15 03070005-01 ADDITIONAL AIR THROTTLING
AS1211F-M5-04
16 03063425S01 SWITCH UNIT CPX CPLT. SPARE PART
17 00201533-01 HEXAGON SOCKET HEAD CAP
SCREW M2 X 5-A2
18 03069324-03 PCB / MAIN-PCB CPX CPLT.
19 03069337-02 PCB / SUB-PCB CPX KPLT.
20 03070371-01 LIGHT BARRIER ANGLE CPX
21 03072807-02 CONNECTING CABLE CPX
03073219-01 HOSE 1 DRIVE CPX / 200MM
00359177S01 HOSE 4*2,5 PUN-CM-4 (PLACEMENT
HEAD)
SPARE PART
00334212-01 KABEL: STEUERPL.
PIPETTENWECHS. - VENTIL
00304845S01 AMPMODU SOCKET CONTACT
0.12-0.60MM²
Spare Part
00304910-01 AMP-LATCH CODE PIN Spare Part
00359177S01 HOSE 4*2,5 PUN-CM-4 (PLACEMENT
HEAD)
SPARE PART
03073221-01 CONNECTING TUBE CPX
00359177S01 HOSE 4*2,5 PUN-CM-4 (PLACEMENT SPARE PART