JM-20-Rev08PDFA.pdf - 第51页
- 46 - NOTE( 注記 ) #01....FOR OFFSET PLACEMENT AFTER はんだ印刷認識搭載位置補正 SOLDER SCREEN- PRINTING(OPTION ) (オプシ ョン)用 REF.NO NOTE PART NO D E S C R I P T I O N 品 名 Qty 1 401-37648 OCC_LEFT_ASM OCC左組 1 2 401-37649 OCC_LENS_ASM OCC…

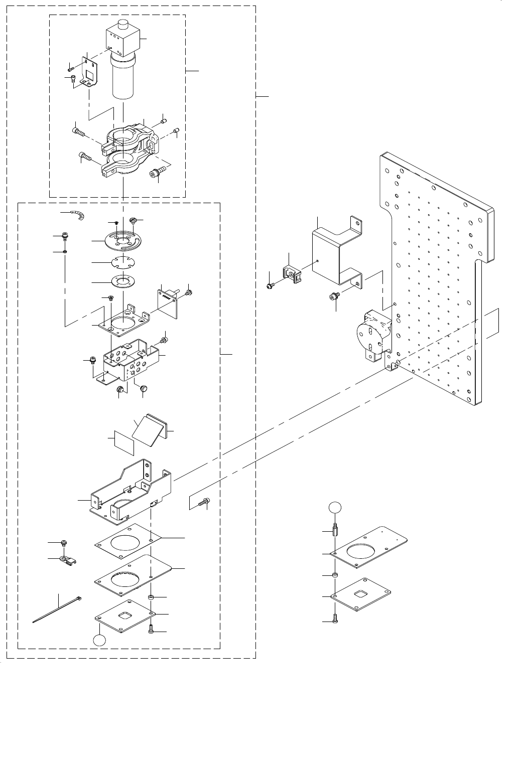
- 45 -
23.OCC COMPONENTS
OCC 関係
43
42
41
40
4
4
5
3
7
8
9
10
6
6
13
14
15
15
16
17
18
19
20
21
22
23
24
25
26
27
28
29
30
30
31
32
33
34
35
36
37
38
11
1
A
48
45
44
46
47
12
2
A
39

- 46 -
NOTE( 注記 ) #01....FOR OFFSET PLACEMENT AFTER はんだ印刷認識搭載位置補正
SOLDER SCREEN-PRINTING(OPTION) (オプション)用
REF.NO NOTE PART NO D E S C R I P T I O N
品 名
Qty
1 401-37648 OCC_LEFT_ASM
OCC左組
1
2 401-37649 OCC_LENS_ASM
OCCレンズ組
(1)
3 400-46839 OCC_LENS_BRACKET
OCCレンズブラケット
(1)
4 PH-0400062-C0 PARALLEL PIN TYPE B 4X6
平行ピン B種 4X6
(2)
5 SL-6051692-TN SCREW M5 L=16
座金付き六角穴ボルト M5 L=16
(2)
6 SM-6041202-TN SCREW M4X0.7 L=12
六角穴ボルト M4X0.7 L=12
(2)
7 400-46805 CCD_BRACKET
CCDブラケット
(1)
8 SM-6030602-TN SCREW M3X6
六角穴ボルト M3X6
(1)
9 SM-6020302-UZ SCREW M2 L=3
六角穴ボルト M2 L=3
(2)
10 400-47573 CAMERA LENS ASSY
カメラ レンズ組
(1)
11 401-37650 OCC_LIGHT_ASM
OCCライト組
(1)
12 401-36791 OCC_PCB_COV
OCC_基板カバー
(1)
13 SL-6031292-TN SCREW M3 L=12
座金付き六角穴ボルト M3 L=12
(4)
14 401-36792 MIRROR_BOX
ミラーボックス
(1)
15 118-04606 RUBBER PLUG
布台防振ゴム
(10)
16 E1143-721-000 WOOLEN CLOTH PAPER
搬送カバーラシャペーパ(CE)
(1)
17 400-14037 BEAM SPRITTER
ビームスプリッタ
(1)
18 400-43895 LIGHT DIFFUSER
ライトディフューザ
(1)
19 400-13944 ROTARY BASE
ロータリーベース
(1)
20 SM-1030501-SC SCREW M3 L=5
皿小ねじ M3 L=5
(3)
21 400-13949 LIGHT FILTER U SUPPORT
ライトフィルタUサポート
(1)
22 400-43896 LENS FILTER
レンズフィルター
(1)
23 400-13948 GUIDE PLATE
ガイドプレート
(1)
24 SM-1020301-SN SCREW
ねじ
(4)
25 E1038-871-000 PLATEN LOCK CAM SCREW
プラテン ロックカム スクリュウ
(2)
26 400-15847 OCC COLLAR
OCCカラー
(1)
27 SL-6030892-TN SCREW M3 L=8
座金付き六角穴ボルト M3 L=8
(1)
28 400-47512 OCC C LIGHT PCB ASM
OCC Cライト基板組
(1)
29 SL-4030691-SC SCREW M3 L=6
座金付きなべ小ねじ M3 L=6
(2)
30 SL-6030692-TN SCREW M3 L=6
座金付き六角穴ボルト M3 L=6
(3)
31 400-15962 OCC LABEL
OCCラベル
(1)
32 400-47508 OCC A LIGHT PCB ASM
OCC Aライト基板組
(1)
33 400-14043 PRISM BASE
プリズムベース
(1)
34 401-37027 OCC_PCB_SHEET
OCC基板シート
(1)
35 HX-0033500-0G SPACER
スペーサ
(4)
36 400-32433 LOW HEAD SCREW M3_10
低頭六角穴付きボルト
(4)
37 HX-0034400-00 FIXED BASE
束線パーツ
(1)
38 SL-6030692-TN SCREW M3 L=6
座金付き六角穴ボルト M3 L=6
(1)
39 EA-9500B01-00 CABLE BAND
束線バンド
(1)
40 401-38411 OCC_CABLE_SUPPORT
OCCケーブルサポート
1
41 SL-6040892-TN SCREW M4 L=8
座金付き六角穴ボルト M4 L=8
2
42 HX-0045400-00 TIE MOUNT
タイマウント
1
43 SL-4030891-SC SCREW M3 L=8
座金付きなべ小ねじ M3 L=8
1
44
#01
401-37025 STUD
スタッド
4
45
#01
400-14043 PRISM BASE
プリズムベース
1
46
#01
HX-0033500-0G SPACER
スペーサ
4
47
#01
400-32433 LOW HEAD SCREW M3_10
低頭六角穴付きボルト
4
48
#01
400-47508 OCC A LIGHT PCB ASM
OCC Aライト基板組
1

- 47 -
24.HMS COMPONENTS
HMS 関係
2
3
4
5
6
7
9
10
12
13
14
15
16
11
8
1