Single conveyor fixed side left_20211119_072748.pdf - 第5页
Single conveyor fixed side left Page 5 / 29 19.11.2021

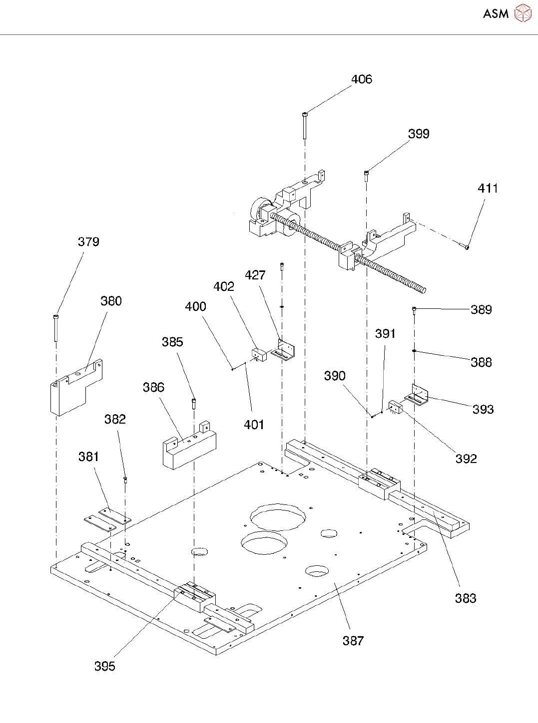
Single conveyor fixed side left
Page 4 / 29 19.11.2021

Single conveyor fixed side left
Page 5 / 29 19.11.2021

Single conveyor fixed side left
Page 6 / 29 19.11.2021