Panasonic NPM Feeder 操作手册.pdf - 第110页
f^Crro r Messag e Intelligent Feeder Check Unit mm 1. 3 mmij i 3-21-21 : Rf»qu.e« x an d se t fe*d* r EJW2A-041 E (1 ) Q^ j J3-24-24 : Feed < > * r trttt a i s old . Becaus e feede r syste m i s old , th« n updat e…

Intelligent
Feeder
Check
Unit
mm
1.2 m^m^m (H^a
8 mm
^mmmm)
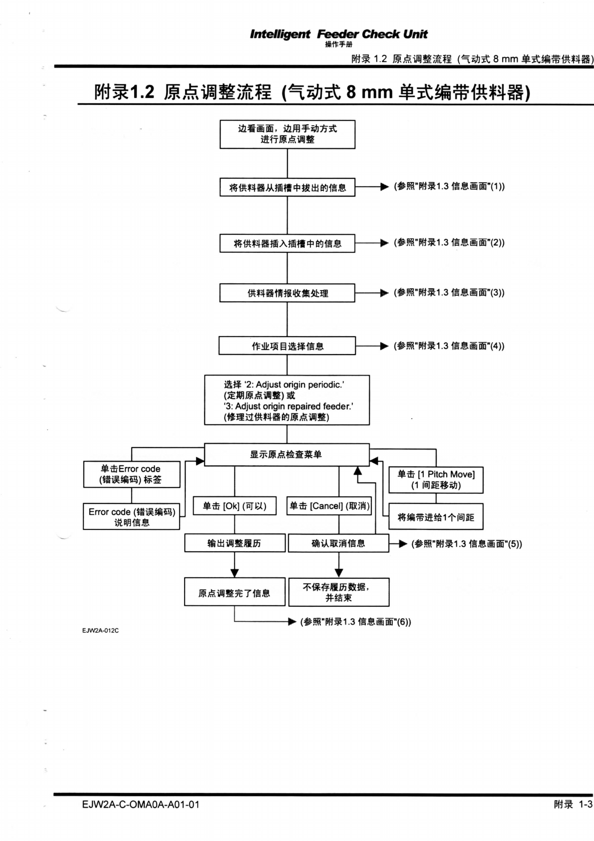
mmi.2 minw&im
W8mm$«*MB«i)
JI'LTjError
code
Error code
|_
-• (#J«R"W«1.31SABB5"(1))
> (#sa"W^i.3ig.iiii®"(2))
> (#Ha"W*l.3lsSli®"(3))
-•
(#!«B'W*i.3tlJftiiiii"(4))
'2:
Adjust c
(XJRMflHD
'3:
Adjust origin
irigin periodic'
repaired feeder.'
^fjj
[Ok] (WW)
1
i£f£ [Cancel] (ffijg;
I
[1 Pitch Move]
(1
mmm
(#sa"wai.3fs.siiiis"(5))
> (#ffl"wmi.3
i§miiM"(6))
EJW2A-012C
EJW2A-C-OMA0A-A01
-01
mm
1-3

f^Crror
Message
Intelligent
Feeder
Check
Unit
mm 1.3
mmiji
3-21-21:
Rf»qu.e«x and set
fe*d*r
EJW2A-041E
(1)
Q^j
J3-24-24: Feed<
>*
r
trttta
is old.
Because
feeder
system
is old,
th«n
update
new
version(4.000)
ijitti corresponding
to
check,
adjust
origin
data.
Q^j
J3-24-24: Feed<
>*
Ok
EJW2A-059E
(2)
J3-5-9:
Confirm
feeder
sysi
<
if
da'
new
syscea
4Ver.-J.000).
It
check
and
adjust
origin
data
EJW2A-060E
(3)
•
13-2-2:
Clear
aa
EJW2A-061 E
(4)
•
3-S-7: Bequest
remove
feeder
troa
slot.
Reaove
feeder
and
push
{0k]
—f
If
push
[Cancel]
button, then
^^^^^^^B^^^
reaeining
works
are
suspended.
|^ Error
Message
5: Request
set
feeder
on the slo
Set
feeder
and
push
I
OK].
If
push
I
Cancel]
then remaining
aorks
are
suspended.
If
already
set
feeder,
then system
is Bad.
EJW2A-062E EJW2A-063E
(5)
(6)
n
I
r
rot
Message
•
up is
coapleted.
X 1
c
oap
1
e
t
e d.
£jj
Push
[Ok)
butt
(7)
•
3-*-
2:
Select
feeder
origin
work.
Select,
below
origin
work.
/
1:
Check
origin.
/"/^V-w.^^
2:Adjust
origin
periodic.
^^-NW^
3:
Adjust
origin
repaired
feede
EJW2A-032E
(8)
^
I nui Message
•
•
3-3:
Select
feeder
work la
Select
below
work
lane
1:Lane
L.
2:Lane
R.
EJW2A-038E
(9)
'lnof
Message
•
-
19-19:
Confir» cle
COUNTER
I 1< y«
P"*>>
10*
»»»»—•»
I
counter
froa
the
last
origin
check/adjusting
is
cleared.
EJW2A-065E
[10)
["""] J3-15-15:
Origin
check
is
completed(S/Ll
.
Origin
of (S/L Lart»>
check
OK
IMliwii
/Jy,
Push
lOkl
Mm,
tlctt
clo
EJW2A-066E
mm 1-4
EJW2A-C-OMA0A-A01-01

Intelligent
Feeder Check
Unit
mm
2.
s#£3t
EJW2A-C-OMA0B-A00-00
mm 2-1