文档中心
/
Change over table_20211122_064814.pdf
Change over table_20211122_064814.pdf - 第7页
Change over table Page 7 / 12 22.11.2021
目录
100%
显示:宽度
宽度
1 / 12
回到旧版
旧版
?
Change over table
Page 6 / 12
22.11.2021
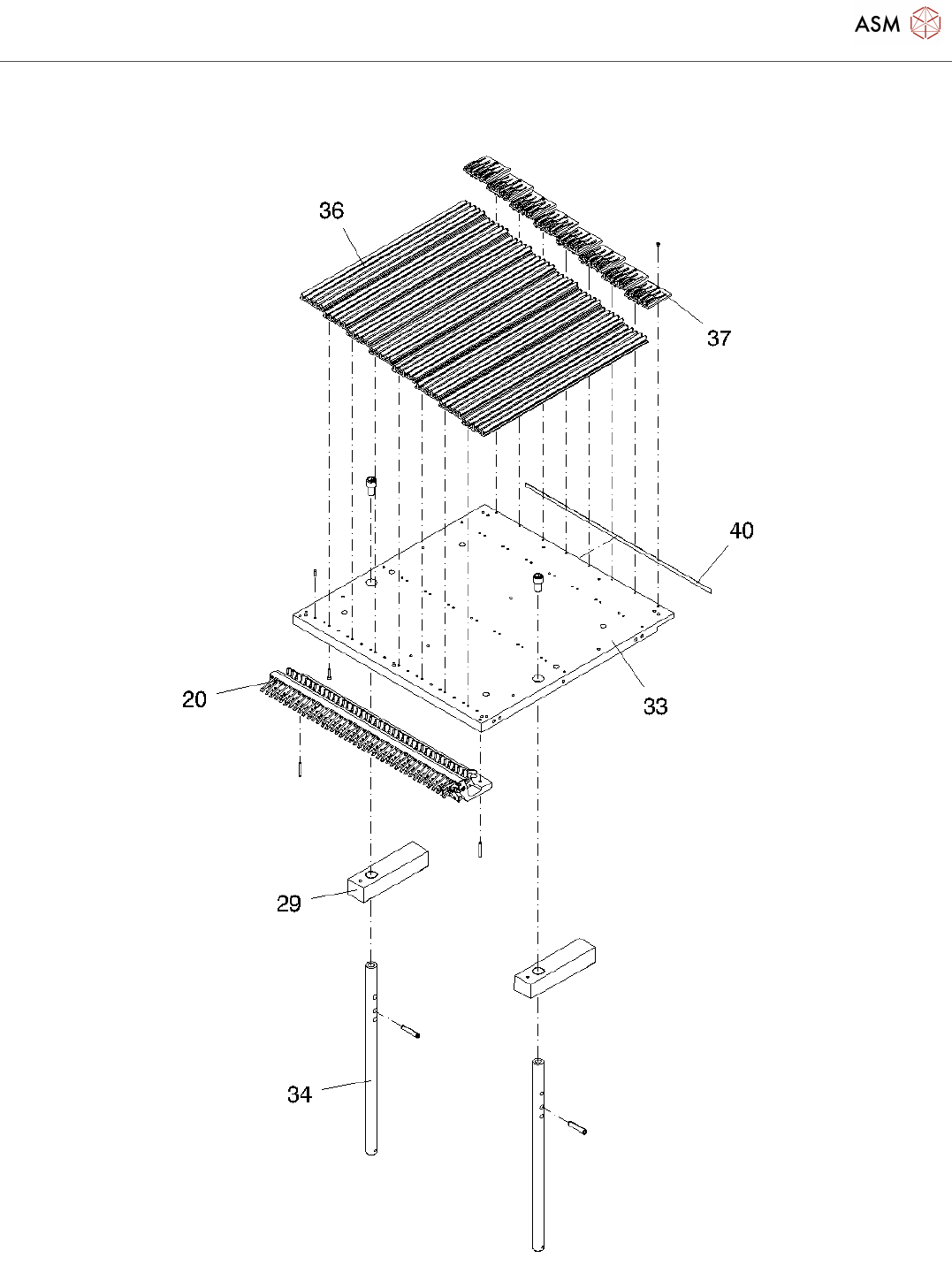
Change over table
Page 7 / 12
22.11.2021
Change over table
Page 8 / 12
22.11.2021
该页面需要启用 JavaScript 才能进行交互式预览。