RS-1-Rev17.PDFA.pdf - 第183页

- 176 - NOTE( 注記 ) #01....FOR FRONT OF THE MACHINE マシン前側用 #02....FOR REAR OF TH E MACHINE マシン後側用 REF.NO NOTE PART NO D E S C R I P T I O N 品 名 Qty 1 401-8361 1 BUNK_SUPPORT_ASM バンクサポート組 2 2 401-8314 7 BANK_SUP_B_L バンク_SU…

100%1 / 246
- 175 -
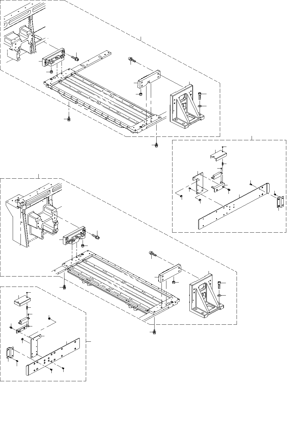
88.FEEDER BANK COMPONENTS (4)
フィーダバンク関係(4)
10
24
14
15
16
17
18
18
19
20
21
22
23
13
29
11
11
11
12
11
10
37
28
35
34
27
32
32
30
31
33
25
26
23
36
36
- 176 -
NOTE( 注記 ) #01....FOR FRONT OF THE MACHINE マシン前側用
#02....FOR REAR OF THE MACHINE マシン後側用
REF.NO NOTE PART NO D E S C R I P T I O N
品 名
Qty
1 401-83611 BUNK_SUPPORT_ASM
バンクサポート組
2
2 401-83147 BANK_SUP_B_L
バンク_SUP_B_L
(1)
3 SL-6083092-TN SCREW M8 L=30
座金付き六角穴ボルト M8 L=30
(4)
4 E2623-721-000 BANK LOCATE BUSH B
バンクロケートブッシュB
(1)
5 401-09098 BANK_SUP_A
バンク_SUP_A
(1)
6 SL-6104042-TN BOLT
座金付き六角穴ボルト
(4)
7 WP-1052001-SC WASHER 10
平座金みがき丸 M10
(4)
8 401-83149 BANK_SUP_B_R
バンク_SUP_B_R
(1)
9 SL-6083092-TN SCREW M8 L=30
座金付き六角穴ボルト M8 L=30
(4)
10 E2623-721-000 BANK LOCATE BUSH B
バンクロケートブッシュB
(1)
11 SL-6082092-TN SCREW M8 L=20
座金付き六角穴ボルト M8 L=20
4
12
#01
401-83612 GUIDE_RAIL_FL_ASM
ガイドレールFL組
1
13 401-83192 BANK_CONNECTOR_B_BR
バンクコネクタ_B_ブラケット
(1)
14 401-83209 CONNECTOR_B_COVER
コネクタBカバー
(1)
15
#01
401-83193 ROLLER_GUIDE_F
ローラガイド_F
(1)
16 400-93852 ROLLER_GUIDE_SUPPORT_FL
ローラガイドサポートFL
(1)
17 SL-6040892-TN SCREW M4 L=8
座金付き六角穴ボルト M4 L=8
(2)
18 SM-1051052-TN PLATE SCREW M5 L=10
皿ねじ M5 L=10
(10)
19 SL-6051092-TN SCREW M5 L=10
座金付き六角穴ボルト M5 L=10
(2)
20 SM-6030802-TN SCREW
六角穴ボルト
(2)
21 HX-0035400-00 STUD
基板パーツ
(2)
22 SM-3030552-TN SCREW M3 L=5
丸ねじ M3 L=5
(2)
23 HX-0070600-0A MOUNT BASE
マウントベース
(2)
24 401-83191 BANK_CONNECTOR_B_SUPPORT_BR
バンクコネクタ_B_サポートブラケット
(1)
25
#02
401-83613 GUIDE_RAIL_RL_ASM
ガイドレールRL組
1
26 401-83191 BANK_CONNECTOR_B_SUPPORT_BR
バンクコネクタ_B_サポートブラケット
(1)
27 401-83192 BANK_CONNECTOR_B_BR
バンクコネクタ_B_ブラケット
(1)
28 401-83209 CONNECTOR_B_COVER
コネクタBカバー
(1)
29
#02
401-83205 ROLLER_GUIDE_R
ローラガイド_R
(1)
30 400-93852 ROLLER_GUIDE_SUPPORT_FL
ローラガイドサポートFL
(1)
31 SL-6040892-TN SCREW M4 L=8
座金付き六角穴ボルト M4 L=8
(2)
32 SM-1051052-TN PLATE SCREW M5 L=10
皿ねじ M5 L=10
(10)
33 SL-6051092-TN SCREW M5 L=10
座金付き六角穴ボルト M5 L=10
(2)
34 SM-6030802-TN SCREW
六角穴ボルト
(2)
35 HX-0035400-00 STUD
基板パーツ
(2)
36 HX-0070600-0A MOUNT BASE
マウントベース
(2)
37 SM-3030552-TN SCREW M3 L=5
丸ねじ M3 L=5
(2)
- 177 -
89.FEEDER BANK COMPONENTS (5)
フィーダバンク関係(5)
10
19
18
11
10
11
11
11
12
12
12
12
13
14
15
15
15
21
22
16
17
18
20
23
24
25
27
28
29
30
30
44
30
31
31
32
33
33
32
34
35
36
36
37
38
39
40
41
42
43
26
50
46
48
47
49
45
55
54
53
53
56
52
51
59
12
58
57
61
62
64
64
63
63
65
65
65
65
66
66
67
67
69
68
68
69
74
71
70
75
70
71
74
71
70
74
70
71
73
72
76
77
77
78
79
80
81
84
83
82
60
86
87
88
88
10
89
89
89
90
90
91
91
92
92
94
93
95
95
98
96
97
99
10
10
10
10
10
10
10
10
10
85
111
11
11
11
11
11
11
11
12
12
12
11
80
81
21
22
29
11
11
12
12
12
12
12
12
12
12
12
12
12
12