NPM-DX Mechanical.pdf - 第234页
4 基板下受けブロック一括交換式(Front側):NPM-DX Batch Exchange U nit For Board Support Block(Front):NPM- D パーツレイアウト Kit No. キット 品番 Kit Name キット名称 MTKA008382AA セクションNo. PARTS LAYOUT Section No. - - O9 ( KMTKA008382AA-02 )

Ref
No.
Remarks R
1
Q'ty
3
付属品(延長コンベア):NPM-DX
Attachment(Extension Conveyor):NPM-DX
イラスト
No.
Part No.
品 名品 番 数量
R
2
パーツリスト
Kit No.
キット品番
Kit Name
キット名称
MTKA011381AA
Part Name
備 考
セクションNo.
PARTS LIST
Section No.
R
3
BELT
1
1 MTNK002591AA
A
TA-4UEB M/D2 4.5WX0.65TX1638L
O8
--
( KMTKA011381AA-01 )

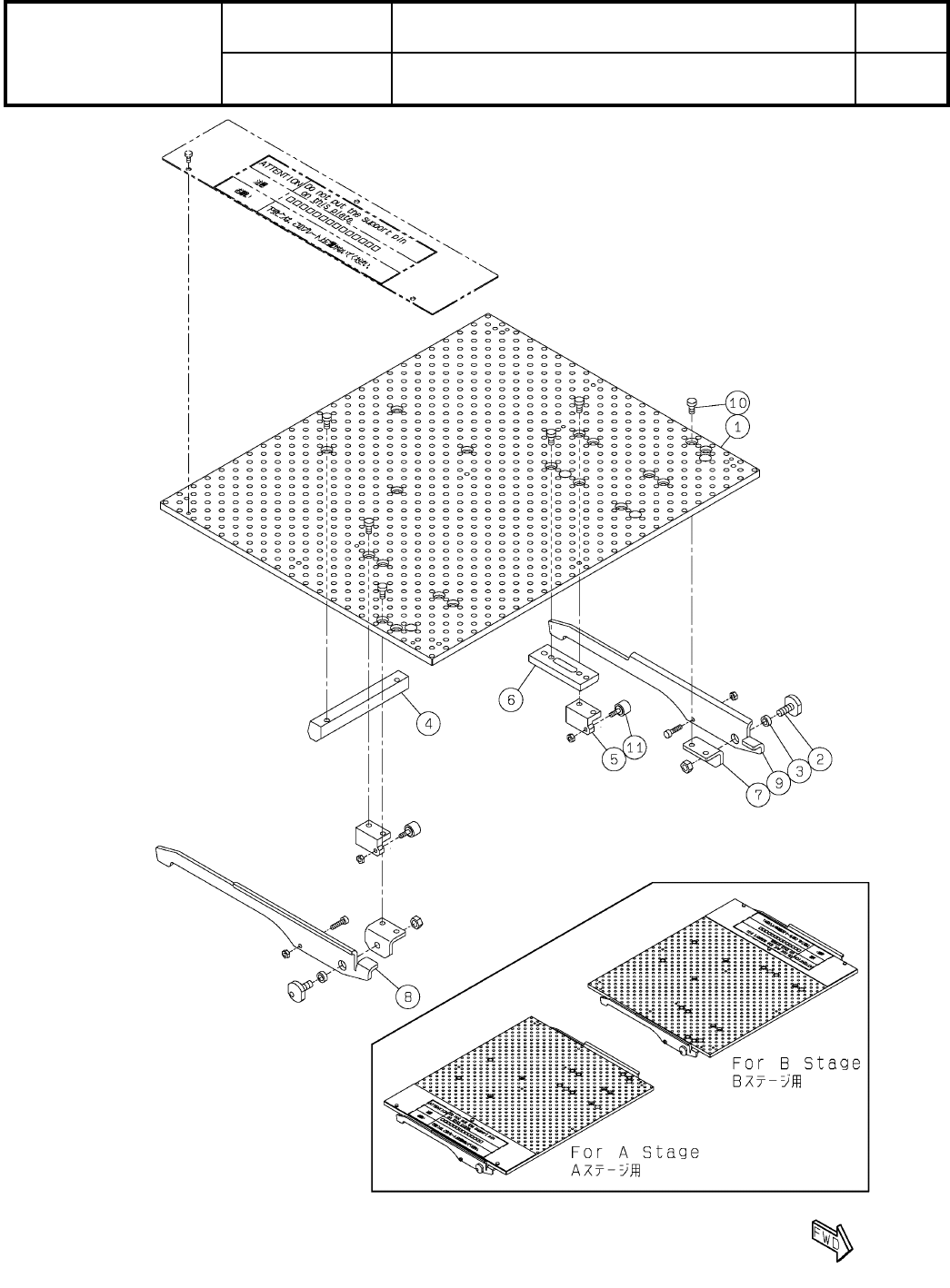
4
基板下受けブロック一括交換式(Front側):NPM-DX
Batch Exchange Unit For Board Support Block(Front):NPM-D
パーツレイアウト
Kit No.
キット品番
Kit Name
キット名称
MTKA008382AA
セクションNo.
PARTS LAYOUT
Section No.
--
O9
( KMTKA008382AA-02 )

Ref
No.
Remarks R
1
Q'ty
4
基板下受けブロック一括交換式(Front側):NPM-DX
Batch Exchange Unit For Board Support Block(Front):NPM-D
イラスト
No.
Part No.
品 名品 番 数量
R
2
パーツリスト
Kit No.
キット品番
Kit Name
キット名称
MTKA008382AA
Part Name
備 考
セクションNo.
PARTS LIST
Section No.
R
3
PLATE
1
1 MTPA012786AA
PIN
2
2 N210161075AA
COLLAR
2
3 N210156596AA
BRACKET
1
4 MTPA012826AA
BRACKET
2
5 MTPA012825AA
BLOCK
1
6 N210165840AC
BRACKET
2
7 N210156599AA
LEVER
1
8 N210161078AB
LEVER
1
9 N210161079AB
BOLT
12
10 N510067773AA Low Head Cap Screw M4X8-8.8 A2J(Trivalent)
CAM-FOLLOWER
2
11 KXF00BFAA00 CF3UU-A
O10
--
( KMTKA008382AA-02 )