OM-1079-001.pdf - 第96页
95 Tg0633-PM-SO • PF-1610/2410 0301-003-(M755XL---0001) 13. ࠛࠕ㈩▤࿑

94 Tg0633-PM-SO
13.13.
13.13.
13.
ࠛࠕ㈩▤࿑ࠛࠕ㈩▤࿑
ࠛࠕ㈩▤࿑ࠛࠕ㈩▤࿑
ࠛࠕ㈩▤࿑
• PF-0810/0811/0812/0813/0814/1210/1211/1213
13. ࠛࠕ㈩▤࿑
0301-003-(M755XC---0001)

95 Tg0633-PM-SO
• PF-1610/2410
0301-003-(M755XL---0001)
13. ࠛࠕ㈩▤࿑

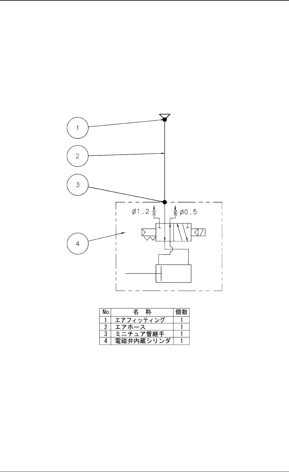
96 Tg0633-PM-SO
• PF-3210/4410/5610/7210
0301-003-(M755XV---0001)
13. ࠛࠕ㈩▤࿑