OM-1079-001.pdf - 第97页
96 Tg0633-PM-SO • PF-3210/4410/5610/7210 0301-003-(M755XV---0001) 13. ࠛࠕ㈩▤࿑

95 Tg0633-PM-SO
• PF-1610/2410
0301-003-(M755XL---0001)
13. ࠛࠕ㈩▤࿑

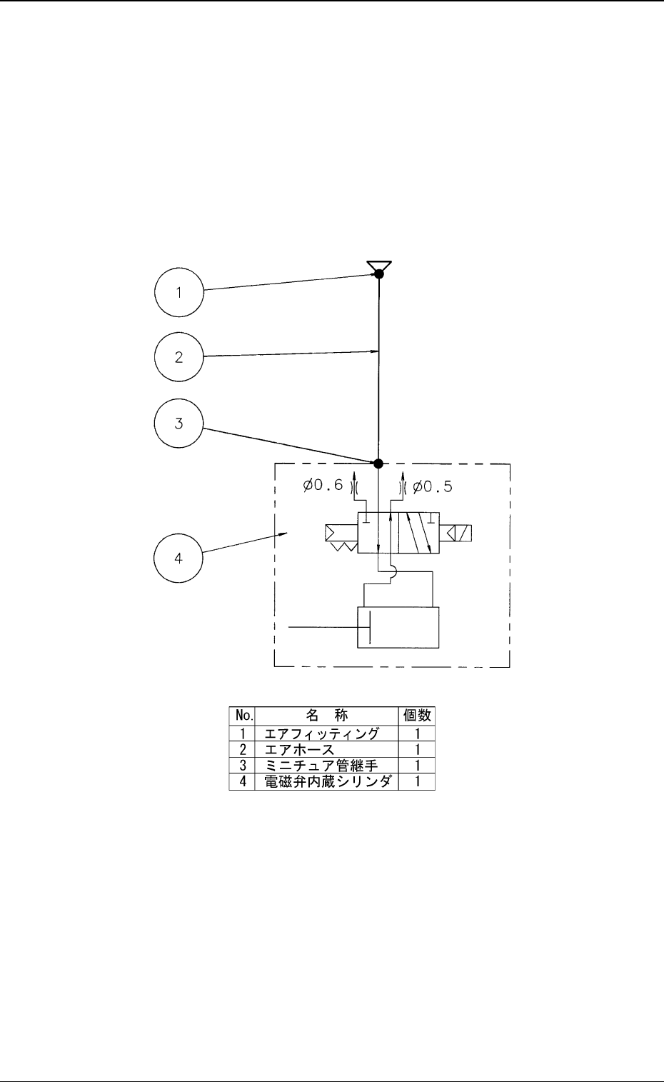
96 Tg0633-PM-SO
• PF-3210/4410/5610/7210
0301-003-(M755XV---0001)
13. ࠛࠕ㈩▤࿑

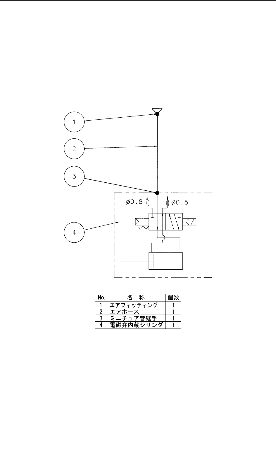
97 Tg0633-PM-SO
• PF-3211
0301-003-(M755XN---0001)
13. ࠛࠕ㈩▤࿑