Revolver head S15 (booster compatible)_20211118_094939.pdf - 第7页
Revolver head S15 (booster compatible) Page 7 / 20 18.11.2021

Revolver head S15 (booster compatible)
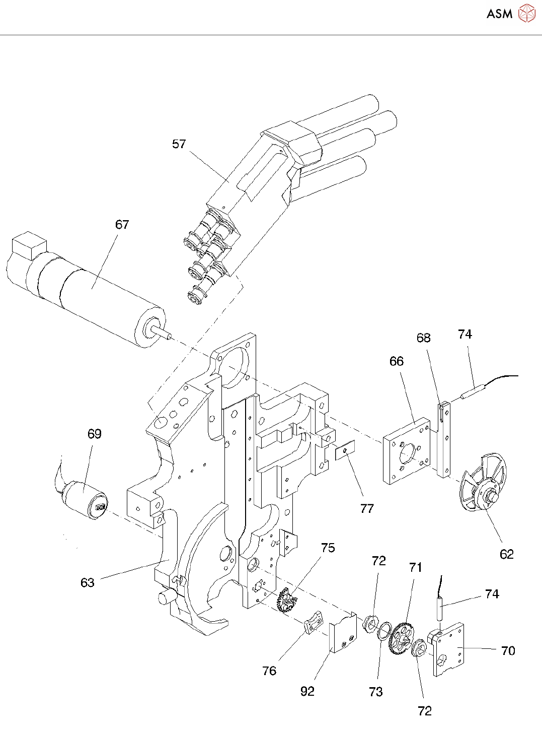
Page 6 / 20 18.11.2021

Revolver head S15 (booster compatible)
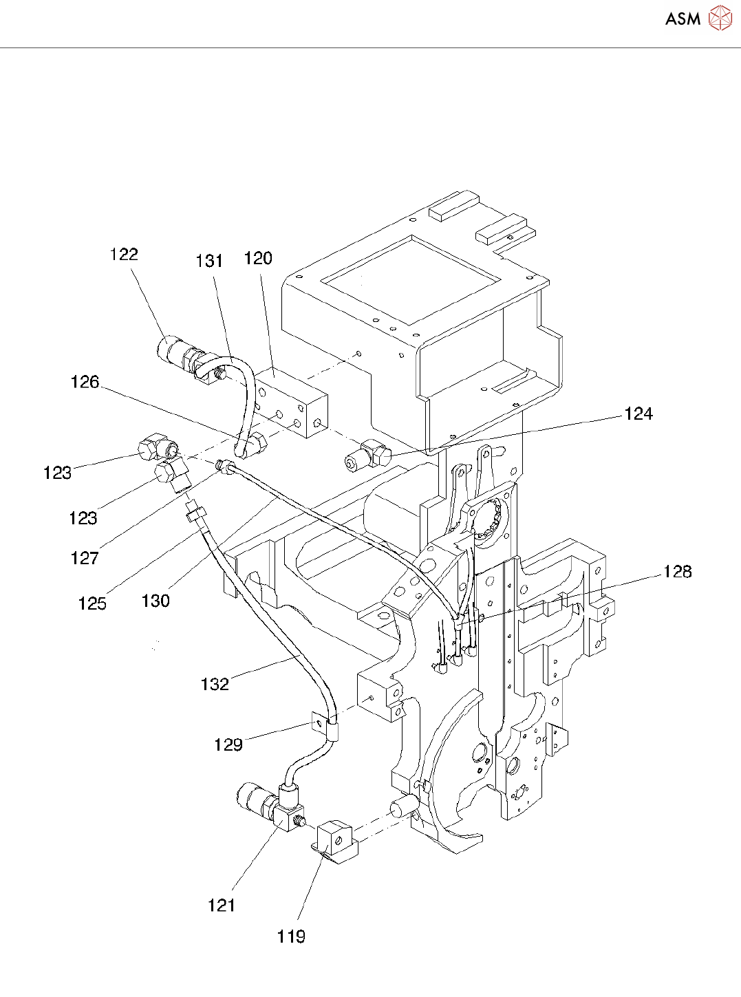
Page 7 / 20 18.11.2021

Revolver head S15 (booster compatible)
Page 8 / 20 18.11.2021