PTS-JIGFIFEEDER-11.pdf - 第21页
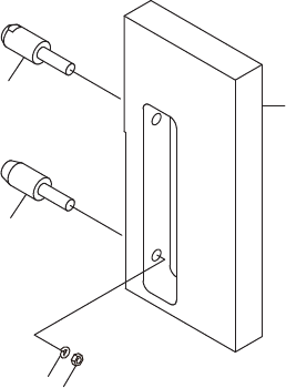
JIG, INSPECTION 治具 検査 AA87900 No. Drg.No. & Code No. QTY Description Rating Remarks 番号 図番 & コード番 号 個数 品名 規格 備考 1 PM1694 0 1 BODY 本体 2 PM1695 0 1 PIN ピン 3 PM1696 0 1 PIN ピン 4 N1080 A 2 NUT, HEX ナット 六角 M04 P=0 .7 …

1
2
3
4
5
ල᳨ᰝ
JIG, INSPECTION
AA87900
20
PTS- J I GFI FEEDER- 11

JIG, INSPECTION
治具 検査
AA87900
No. Drg.No. & Code No. QTY Description Rating Remarks
番号 図番 & コード番号 個数 品名 規格 備考
1 PM16940 1 BODY
本体
2 PM16950 1 PIN
ピン
3 PM16960 1 PIN
ピン
4 N1080A 2 NUT, HEX
ナット 六角
M04 P=0.7 1シュ(クロゾメ)
5 W1022A 2 WASHER, LOCK
ワッシャ スプリング
4M/M
21
PTS- J I GFI FEEDER- 11

1
6
7
2
3
4
5
ල᳨ᰝ
JIG, INSPECTION
AA87802
22
PTS- J I GFI FEEDER- 11