KE-2070_KE-2080_KE-2080R-Rev16.pdf - 第95页
- 88 - NOTE( 注記 ) *INSTALLATION POSITION AND D IRECTION VARY IF THE PWB TRANSFER REFERENCE IS DIFFERE NT. 基板搬送基準が異なると取付位置、方向が変わります。 REF.NO NOTE PART NO D E S C R I P T I O N 品 名 Qty 1 EA-950 0B01-00 CABLE BAND 束線バンド 1 2 …

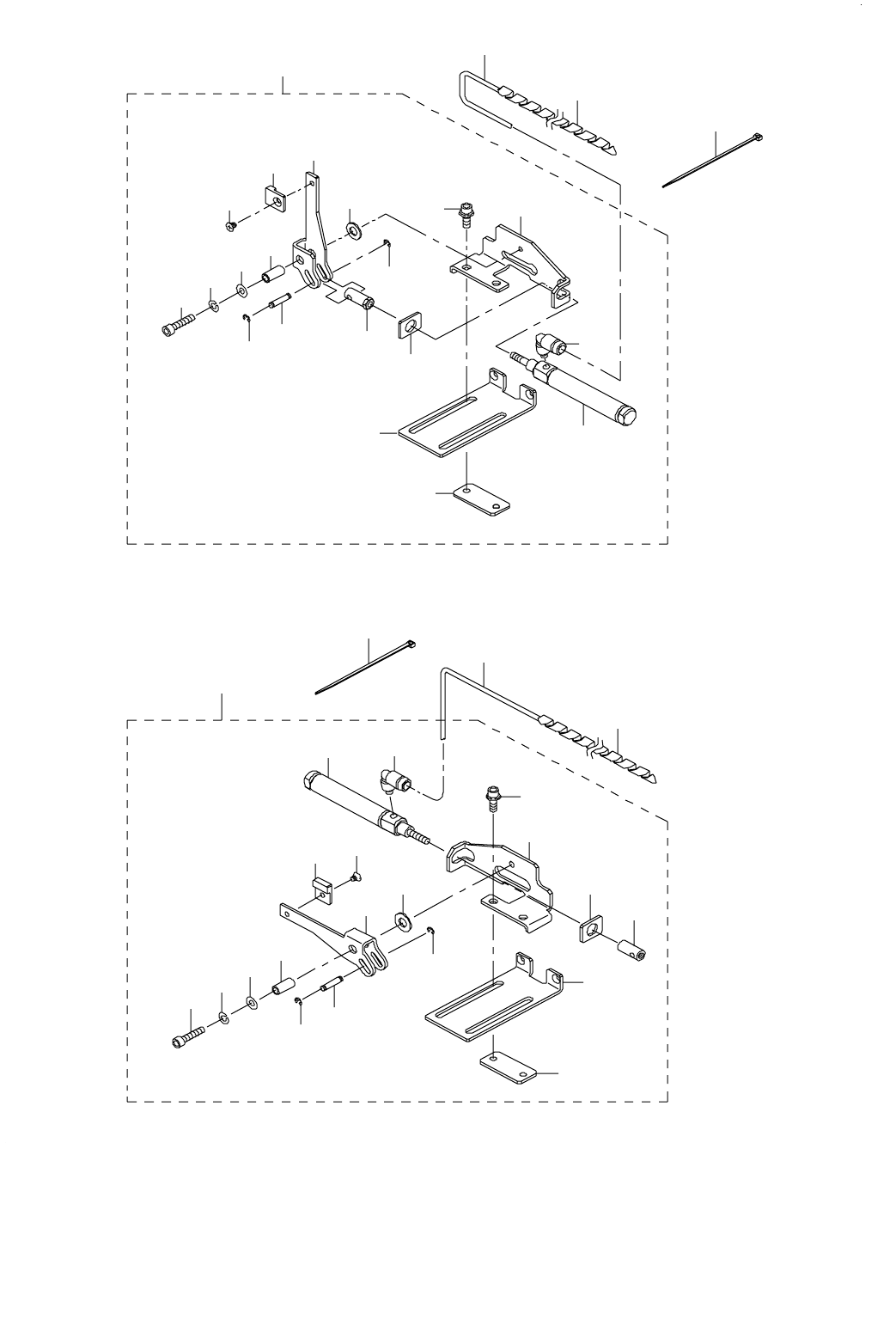
- 87 -
44. PWB CONVEYOR COMPONENTS (11)
基板搬送関係(11)
23
10
19
18
9
8
7
5
6
2
44
3
13
17
15
19
11
16
14
4
21
1
26
27
28
31
30
29
32
36
37
35
38
33
39
40
34
42
41
42
43
24
22
25
12
20

- 88 -
NOTE( 注記 ) *INSTALLATION POSITION AND DIRECTION VARY IF THE PWB TRANSFER
REFERENCE IS DIFFERENT.
基板搬送基準が異なると取付位置、方向が変わります。
REF.NO NOTE PART NO D E S C R I P T I O N
品 名
Qty
1 EA-9500B01-00 CABLE BAND
束線バンド
1
2 E2281-725-0A0 PUSHER XL ASM.
プッシャ XL 組
1
3 E2280-725-000 PUSHER X
プッシャ X
(1)
4 E2173-715-000 THRUST WASHER
スラストワッシャ
(1)
5 E2172-715-000 PUSHER SHAFT
プッシャ シャフト
(1)
6 WP-0430801-SC WASHER 4.3X9X0.8
平座金 4.3X9X0.8
(1)
7 WS-0410002-KN SPRING WASHER
ばね座金 M 4
(1)
8 SM-6041802-TN SCREW M4X0.7 L=18
六角穴ボルト M 4 X 0.7 L =18
(1)
9 E2233-725-000 STOPPER CHIP
ストッパチップ
(1)
10 SM-1030401-SE SCREW M3 L=4
皿ねじ M 3 X 0.5 L =4
(1)
11 E2281-725-000 PUSHER CYLINDER BRACKET XL
プッシャシリンダブラケット XL
(1)
12 E2284-725-000 HOLD PLATE B
ホールドプレート B
(1)
13 E2283-725-000 PUSHER CYLINDER SUPPER
プッシャシリンダサポート
(1)
14 SL-6041042-TN BOLT
座金付き六角穴ボルト
(2)
15 PA-1002101-A0 AIR CYLINDER
エアシリンダ
(1)
16 PJ-3040405-11 ELBOW UNION
エルボユニオン
(1)
17 E2177-715-000 CYLINDER ARM X
シリンダアーム X
(1)
18 E4843-760-000 CYLINDER PIN
シリンダーピン
(1)
19 RE-0250000-K0 E-RING 2.5
E 形止め輪 2.5
(2)
20 E2116-725-000 PUSHER STOPPER PLATE
プッシャストッパプレート
(1)
21 BT-0400251-EA URETHANE TUBE BLUE 4X2.5
ポリウレタン チューブ 青 4 X 2.5
1.8
22 BT-0400251-EA URETHANE TUBE BLUE 4X2.5
ポリウレタン チューブ 青 4 X 2.5
1.8
23 EA-9500B01-00 CABLE BAND
束線バンド
1
24 HX-0031400-00 SPIRAL TABE
スパイラル チューブ
0.6
25 E2282-725-0A0 PUSHER XR ASM.
プッシャ XR 組
1
26 E2280-725-000 PUSHER X
プッシャ X
(1)
27 E2173-715-000 THRUST WASHER
スラストワッシャ
(1)
28 E2172-715-000 PUSHER SHAFT
プッシャ シャフト
(1)
29 WP-0430801-SC WASHER 4.3X9X0.8
平座金 4.3X9X0.8
(1)
30 WS-0410002-KN SPRING WASHER
ばね座金 M 4
(1)
31 SM-6041802-TN SCREW M4X0.7 L=18
六角穴ボルト M 4 X 0.7 L =18
(1)
32 E2233-725-000 STOPPER CHIP
ストッパチップ
(1)
33 SM-1030401-SE SCREW M3 L=4
皿ねじ M 3 X 0.5 L =4
(1)
34 E2282-725-000 PUSHER CYLINDER BRACKET XR
プッシャシリンダブラケット XR
(1)
35 E2284-725-000 HOLD PLATE B
ホールドプレート B
(1)
36 E2283-725-000 PUSHER CYLINDER SUPPER
プッシャシリンダサポート
(1)
37 SL-6041042-TN BOLT
座金付き六角穴ボルト
(2)
38 PA-1002101-A0 AIR CYLINDER
エアシリンダ
(1)
39 PJ-3040405-11 ELBOW UNION
エルボユニオン
(1)
40 E2177-715-000 CYLINDER ARM X
シリンダアーム X
(1)
41 E4843-760-000 CYLINDER PIN
シリンダ−ピン
(1)
42 RE-0250000-K0 E-RING 2.5
E 形止め輪 2.5
(2)
43 E2116-725-000 PUSHER STOPPER PLATE
プッシャストッパプレート
(1)
44 HX-0031400-00 SPIRAL TABE
スパイラル チューブ
0.6

- 89 -
45. PWB CONVEYOR COMPONENTS (12)
基板搬送関係(12)
15
6
7
8
9
10
11
12
13
14
30
21
22
23
24
25
19
19
18
17
26
28
26
27
29
33
35
42
36
38
39
41
40
50
45
38
46
46
47
48
3
4
91
53
54
55
90
65
56
60
49
64
59
34
62
63
1
2
51
52
86
75
78
80
81
82
76
77
72
73
68
69
20
31
74
89
86
89
84
88
88
66
61
70
71
85
79
83
87
44
37
5
32
57
58
67
16
43