MPAV2B Parts list(Mechanical20090625).pdf - 第129页
イラスト No. REF No. PART No. PART NAME REMAR KS Q'TY 21 シグナルタワー 部(赤/黄/緑) SIGNAL TOWE R SECT.(RED/YELLOW /GREEN) 部 品 名 品 番 個数 備 考 1 1048152040 SIGNAL TOWER UNIT シグ ナルタワーユニット N610015433AB N41 1 N224LNQY-539 SIGNAL LIGH…

シグナルタワー部(赤/黄/緑)
SIGNAL TOWER SECT.(RED/YELLOW/GREEN)
21
F10481-52-040_C
M109

イラスト
No.
REF
No.
PART No.
PART NAME
REMARKS
Q'TY
21
シグナルタワー部(赤/黄/緑)
SIGNAL TOWER SECT.(RED/YELLOW/GREEN)
部 品 名 品 番 個数
備 考
1 1048152040
SIGNAL TOWER UNIT シグ
ナルタワーユニット
N610015433AB
N41
1
N224LNQY-539
SIGNAL LIGHT シグナルライト LNQYRYG00M4
V 1
1
N331RYGHDCL
CABLE チュウケイケーブル RYGHDCL
V 2 1 N230F714-048
FUSE ヒュース
゙
F-7142,125V,0.1A
V 3 1 N224LNQY-654
GLOBE(RED) グローフ
゙(アカ)
LNQYRYG00LGR
V 4
1
N224LNQY-655
GLOBE(YELLOW) グローブ(キ) LNQYRYG00LGY
V 5
1
N224LNQY-653
GLOBE(GREEN) グローブ(ミドリ) LNQYRYG00LGG
M110
F10481-52-040_C

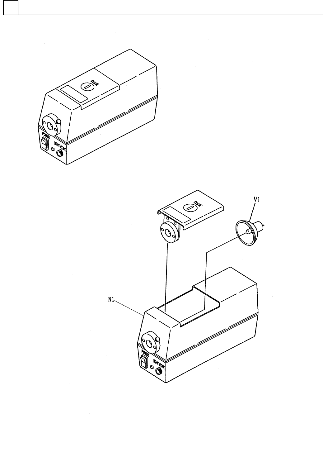
ハロゲン光源部
HALOGEN LIGHT SOURCE SECT.
22
F10459-15-120_A
M111