MPAV2B Parts list(Mechanical20090625).pdf - 第175页
イラスト No. REF No. PART No. PART NAME REMAR KS Q'TY 7 トレイシャトル部 (1) TRAY SHUTTL E SECT.(1) 部 品 名 品 番 個数 備 考 1 1045957300 TRAY SHUTTLE UNIT トレイシャトルユニット 304 1 1047052421 SOLENOID VALV E ソレノイドバル ブ 305 1 104595730501 PL…

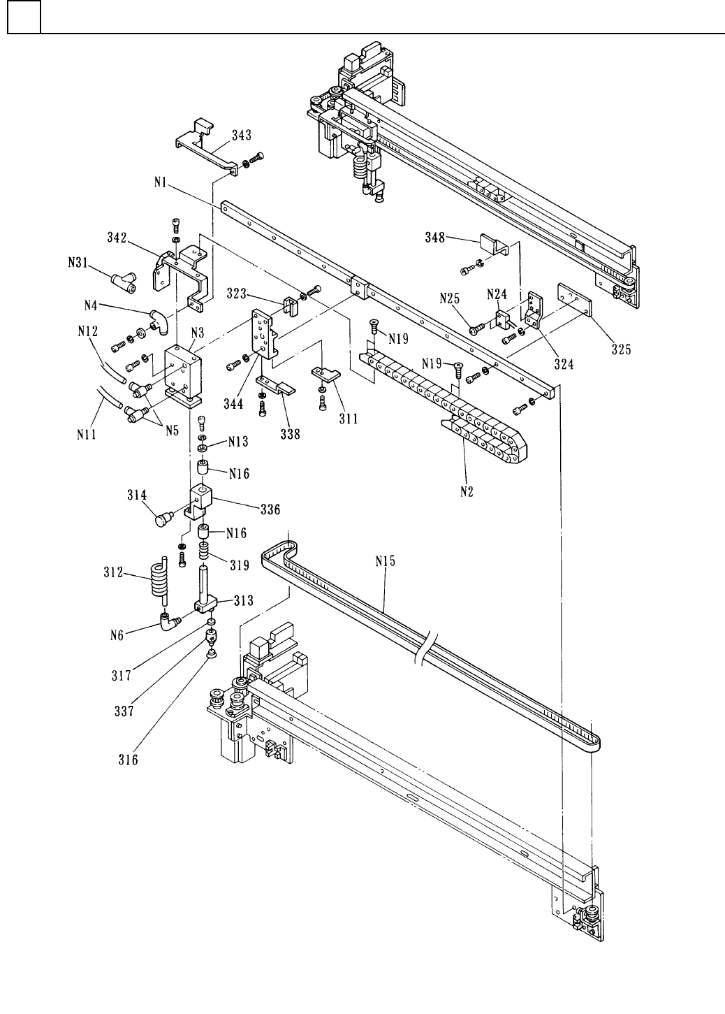
トレイシャトル部(1)
TRAY SHUTTLE SECT.(1)
7
F10459-57-300-AH-1
M37

イラスト
No.
REF
No.
PART No.
PART NAME
REMARKS
Q'TY
7
トレイシャトル部(1)
TRAY SHUTTLE SECT.(1)
部 品 名 品 番 個数
備 考
1 1045957300
TRAY SHUTTLE UNIT トレイシャトルユニット
304
1
1047052421
SOLENOID VALVE ソレノイドバルブ
305
1
104595730501
PLATE プレート
307 1 1047052613
SHAFT シャフト
322 1 104595732201
BRACKET ブラケット
329
1
1045957329
SHAFT シャフト
331
1
1045957331
SHAFT シャフト
332 2 1045957332
PULLEY(TIMING) プ
ーリー(タイミング)
333 1 1045957333
BRACKET ブラケット
339
1
104595733902
BRACKET ブラケット
340 1 1045957340
PULLEY(TIMING) プーリー(タイミング)
341 1 1045957341
DOG FOR SENSOR センサト
゙グ
345
1
1045957345
BRACKET ブラケット
346
1
1045957346
PLATE プレート
347 2 1045957347
PLATE プレート
349 1 104595734901
BRACKET(CONNECTOR) ブラケット
(コネクタ)
350
1
1045957350
BRACKET ブラケット
N 7
3
N310PML24
SENSOR センサ PM-L24
N 8 1 N606PF569HAC
MOTOR モータ PF569H-AC
N 9 1 N454ZX10-053
EJECTOR FOR VACUUM シンクウエシ
゙ェクタ
ZX1071-Q35L-DP23C-X327
N10
1
N310P921B
SENSOR センサ P921B
N14
4
XLCNMF148ZZ
BALL BEARING ボールベアリング MF148ZZ
N17 3 XUB8FP
RETAINING RING C-TYPE C カ
゙タジクヨウトメワ
8,STEEL,P.C
N18 4 XPJ5A12FW
PARALLEL PIN ヘイコウヒ
゚ン
5X12,m6A,STEEL
N21
6
XWA2BFY
SPRING WASHER バネザガネ 2,2-TYPE,STEEL,Z.C.T
N22 1 N447DP220MS
SENSOR センサ DP2-20-MS
N23 1 N431KJY0401S
FITTING ツキ
゙テ
KJY04-01S
N26
1
N310P917
AMPLIFIER アンプ P917
N27
1
XSN3+5FY
PAN HEAD SCREW ナベコネジ M3X5,+,STEEL,Z.C.T
N29 2 XLCNF608ZZ
BALL BEARING ボールベアリング F608ZZ
N30 4 XPJ6A15FW
PARALLEL PIN ヘイコウヒ
゚ン
6X15,m6A,STEEL
N32
6
XVE2B6FY
HEX. SOCKET HEAD CAP BOLT ロッカクアナツキボルト M2X6,STEEL,Z.C.T
M38
F10459-57-300-AH-1

トレイシャトル部(2)
TRAY SHUTTLE SECT.(2)
7
F10459-57-300-AH-2
M39