CM402-M Parts list-mechanical20150105.pdf - 第84页
9 ラインカ メラ Line Camera パー ツレイ アウト Kit No. キ ット 品番 Kit Name キ ット 名称 KXFX036BA00 セクション No . PARTS LAYOUT Section No. - - M65 ( KKXFX036BA00-05 )

Ref
No.
Remarks
R
1
Q't
y
8
コンベア
幅寄
せ
部
Conveyor Width Adjustment Section
イラスト
No.
Part No.
品 名品番 数量
R
2
パーツリスト
Kit No.
キット品
番
Kit Name
キット名称
KXFX04JWA00
Part Name
備 考
セクションNo.
PARTS LIST
Section No.
R
3
PIN
4
1 KXFB0210A00
PLATE
2
2 N210043799AA
BRACKET
1
3 N210043800AA
BRACKET
1
4 KXFB0EMHA00
BRACKET
1
5 KXFB0EM9A00
BRACKET
1
6 KXFB0EMJA00
BRACKET
1
7 KXFB0EMAA00
PULLEY
2
8 N510024786AA R101-0320C2-821305-F-PK
SPACER
2
9 N510017038AA 3382330-90160
BEARING
2
10 N510024787AA 6000ZZ
MOTOR
1
11 KXF07R6AA00
S
KH56KM2-651
COUPLING
1
12 KXF0DWP1A00 MSF-25-D6.35XD8 CM402(DDA)
BEARING
4
13 KXF03G0AA00 SFB38-10
BALL-SCREW
2
14 N510032967AA XSTR01204C1DFC7-386-P0(NA120506)
SHAFT
2
15 N510032400AA SF16314M05B
BUSH
2
16 N510016960AA LMF16LUU
PH-SENSOR
1
17 KXF0DL0AA01 PM-K53B-C1(DA KXF0DL0AA01)
BOLT
2
18 N510018901AA
Hexagon head bolt Best class M8X120-6g 4T A2J (Trivalent)
BOLT
2
19 N510018902AA
Hexagon head bolt Best class M8X20-6g 4T A2J(Trivalent)
NUT
2
20 N510017879AA
Hexagon nut Type-3 Best class M8-6H-4T A2J (Trivalent)
GREASE-NIPPLE
2
21 KXF0CSNAA00 GPA6A
BOLT
2
22 N510017536AA
Hexagon socket button head screw M4X8-10.9 A2J (Trivalent)
BOLT
1
23 N510017328AA
Hexagon socket head cap screw M3X35-10.9 A2J (Trivalent) Full thread
WASHER
2
24 N510018471AA
Iron round plain washer4X13X1.0(chromeite) A2J (Trivalent)
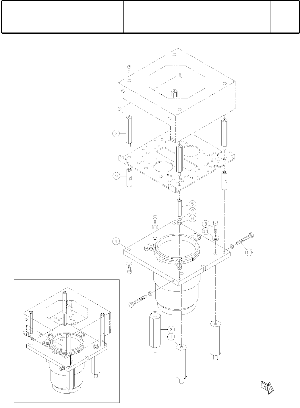
M64

9
ラインカメラ
Line Camera
パーツレイアウト
Kit No.
キット
品番
Kit Name
キット
名称
KXFX036BA00
セクション
No
.
PARTS LAYOUT
Section No.
-
-
M65
( KKXFX036BA00-05 )

Ref
No.
Remarks
R
1
Q'ty
9
ラインカメラ
Line Camera
イラスト
No.
Part No.
品 名品番 数量
R
2
パーツリスト
Kit No.
キット
品番
Kit Name
キット名称
KXFX036BA00
Part Name
備 考
セクション
No
.
PARTS LIST
Section No.
R
3
POST
2
1 KXFB02NHA00
POST
1
2 KXFB02NJA01
POST
4
3 KXFB022ZA00
LENS
1
4 KXF0DVFAB01 KOM-F4IR(DA KXF0DVFAB01)
SPACER
2
5 N510008558AA ASF-535E
WASHER
2
6 KXF0BCCAA00 MSRB5.5-1.0
WASHER
2
7 KXF0CJ9AA00 MSRB5.5-0.5
BOLT
2
8 KXFB04K8A00
POST
2
9 KXFB04LDA00
BOLT
2
10 N510018857AA
Hexagon head bolt Best class M4X30-6g 4T A2J (Trivalent) Full thread
WASHER
2
11 KXF0DY0GA00 WSSB13-6-3
M66
-
-
( KKXFX036BA00-05 )