P-329-009_SIGMA-G5SII.pdf - 第203页
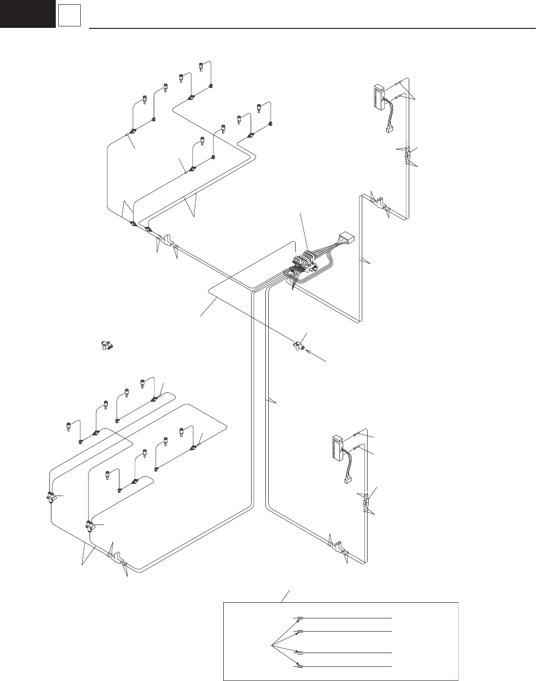
– 197 – SIN GLE C ONVEY OR SE CT ION 2006-009 No. Part No. Part Name Qty . Detail Y amaha Hitachi A01 KYB-M919L-00 0917C304 TUBE_D32 1 A02 KYB-M919J-00 0917C302 TUBE_D6 1 A03 KYB-M91AH-00 1005AB03 PIPE_FITTINGS 1 A04 KYB…

– 196 –
H1
2006-009
11 Air Piping
A03
A04
A03
A04
A04
A04
A04
A04
A04
A04
A04
A04
A04
A04
A04
A04
PCB Stoper (L)
From Main Body
PCB Z Clump(R)
A04
A04
A04
A04
PCB Stoper (R)
PCB Z Clump(L)
See Fig. H1-2
Key No.112
A01
A01
A01
A02
A04
A06
A06
A01
B0832
B0833
B0830
B0831
A05
Cablevoyor
L250
Fix L-side board stop
L650
L450
L950
Mov L-side board stop
Fix R-side board stop
Mov R-side board stop
A01
A04
A04

– 197 –
SINGLE CONVEYOR SECTION
2006-009
No.
Part No.
Part Name Qty. Detail
Yamaha Hitachi
A01 KYB-M919L-00 0917C304 TUBE_D32 1
A02 KYB-M919J-00 0917C302 TUBE_D6 1
A03 KYB-M91AH-00 1005AB03 PIPE_FITTINGS 1
A04 KYB-M919M-00 0917C305 TUBE_D4.1 1
A05 KYB-M919V-00 0919I00K TUBE D4 4
A06 KYX-M91PC-00 - JOINT 2
