P-327-002_SIGMA-F8主机部品分解图.pdf - 第136页
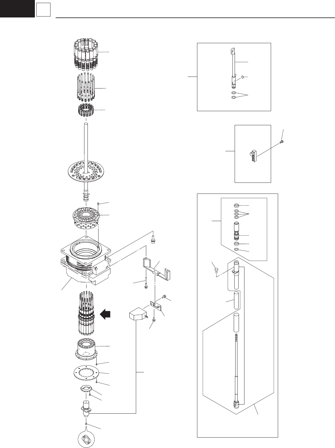
– 130 – G1 5 Nozzle Shaft, V accum Filter 1509-002 496 490 496 490 450 431 447 430 A 486 486 486 474 42 5 406 407 411 420 433 426 405 407 411 432 494 409 413 421 466 421 428 444 476 445 DET AIL A See Fig. G1-6 Key No.501…

– 129 –
HIGH SPEED HEAD (DDH V9)
1509-002
No.
Part No.
Part Name Qty. Detail
Yamaha Hitachi
302 KYA-M7019-00 1006D30M MOTOR_NS 1 M32
303 KYA-M701C-00 1006D325 MOTOR_NL 1 M33
304 KYA-M701N-00 1006331F ASSY_NS_MOTOR 1
305 KYA-M701P-00 1006331G ASSY_NL_MOTOR 1
310 KYB-M7031-00 1006331K ASSY_NL_BALL_SCREW 1
312 KYB-M700M-00 0916DK3Q BALL_SCREW_NL 1
313 KYB-M702N-00 10013K0M ASSY_NS_T-PULLEY 1
314 KYB-M704C-00 223Q0769 PULLEY_TIMING 1
315 KYB-M704B-00 223Q0711 PULLEY_TIMING 1
316 KYB-M705K-00 223L0358 BELT_TIMING 1
327 91312-03020 221AA011 BOLT,HEX.SOCKET HEAD 1
338 KYB-M7042-00 211G3396 BLOCK 1
340 KYB-M7041-00 211D9619 PLATE 1
341 KYB-M702J-00 0916DK3F SENSOR_DOG_NL 1
343 KYA-M700A-00 1006D30W BASE_HEAD 1
352 KYB-M700R-00 1001D309 SUPPORT_UNIT_NL 1
353 KYB-M702H-00 0916DK3D BLOCK_NL_BEARING 1
354 KYB-M702P-00 1001D308 SPRING_COMP_NL 1
355 KYB-M702G-00 0916DK3C BLOCK_NL_SPRING 1
365 KYB-M700N-00 0916DK3S BEARING_NL 1
370 KYB-M702C-00 0916DK19 COUPLING 1
371 KYA-M700Y-00 10063004 ASSY,SENSOR B0210 1 B0210
376 90112-02J004 221AA121 BOLT,HEX.SOCKET HEAD 2
378 90112-02J010 221AB014 BOLT,HEX.SOCKET HEAD 1
379 90112-2AJ006 221AA145 BOLT,HEX.SOCKET HEAD 2
380 90112-2AJ010 221AA321 BOLT,HEX.SOCKET HEAD 3
381 90112-2AJ016 221AA322 BOLT,HEX.SOCKET HEAD 1
383 91312-03008 221AA006 BOLT,HEX.SOCKET HEAD 1
384 91312-03010 221AA007 BOLT,HEX.SOCKET HEAD 5
385 91312-03012 221AA008 BOLT,HEX.SOCKET HEAD 4
387 91312-05016 221AA031 BOLT,HEX.SOCKET HEAD 2
391 90990-02J019 221CA026 SCREW,SET 2
392 90189-02J2A6 221FA003 NUT,HEXAGON 1
393 95302-03600 221FA005 NUT,HEXAGON 2
3A1 90171-02J2A6 221HA102 WASHER,PLAIN 1
3A3 92902-03200 221HA103 WASHER,PLAIN 4
3A6 KYB-M7045-00 221A0468 BOLT_HEX-SCT 4
3A9 92902-06200 221HA106 WASHER,PLAIN 4

– 131 –
HIGH SPEED HEAD (DDH V9)
1509-002
No.
Part No.
Part Name Qty. Detail
Yamaha Hitachi
405 KYB-M701U-00 23D10016 ACCESSORY_SV 15 Y0401-0415
406 KYB-M704D-00 225B0572 AIR_CLEAN_EQPT 30
407 KYB-M701W-00 09163RA1 ASSY_FILTER-HH 15
409 KYB-M700V-00 1006331V ASSY_NOZZLE_SHAFT 15
411 KYA-M701U-00 1006331T ASSY_BLOCK_TOP 15
413 KYA-M7017-00 1006D30J SENSOR_PELEC 1 U03, B0413T, B0413R
420 KYB-M7035-00 1006331Y ASSY_SEAL_HOLDER 15
421 KYB-M704E-00 226A0279 SEAL 30
425 90990-01J114 221AA330 BOLT,HEX.SOCKET HEAD 30
426 KYB-M702B-00 0916D338 SEAL 30
428 KYB-M704F-00 226A0286 SEAL 15
429 KYA-M7000-00 0916DK13 ROTOR_UPPER 1
430 KYA-M700J-00 1006D30F ROTOR_LOWER 1
431 KYA-M7024-00 1006D306 BRACKET_LN_SENS 1
432 KYB-M702A-00 0916D31G DISK 1
433 KYB-M701R-00 216B1811 HOLDER 15
444 KYB-M702R-00 1001DK1L SPRING_COMP_NOZ 15
445 KYB-M7028-00 0916D31E SEAL 45
447 KYB-M7029-00 0916D31F DISK 1
450 KYA-M7025-00 1006D307 BLOCK_LINE_SENS 1
466 KYB-M702F-00 0916DK2D HOLDER 15
474 90990-01J117 221AA332 BOLT,HEX.SOCKET HEAD 2
476 90112-02J004 221AA121 BOLT,HEX.SOCKET HEAD 18
486 90990-01J031 221A0332 BOLT,HEX.SOCKET HEAD 8
490 91317-03008 221AA202 BOLT HEX.SOCKET HEAD 4
494 91317-03035 221AA206 BOLT,HEX.SOCKET HEAD 2
496 92907-03200 221HA290 WASHER,PLAIN 4
