Revolver head S15 (booster compatible)_20211119_035843.pdf - 第10页
Revolver head S15 (booster compatible) Page 10 / 20 19.11.2021

Revolver head S15 (booster compatible)
Page 9 / 20 19.11.2021

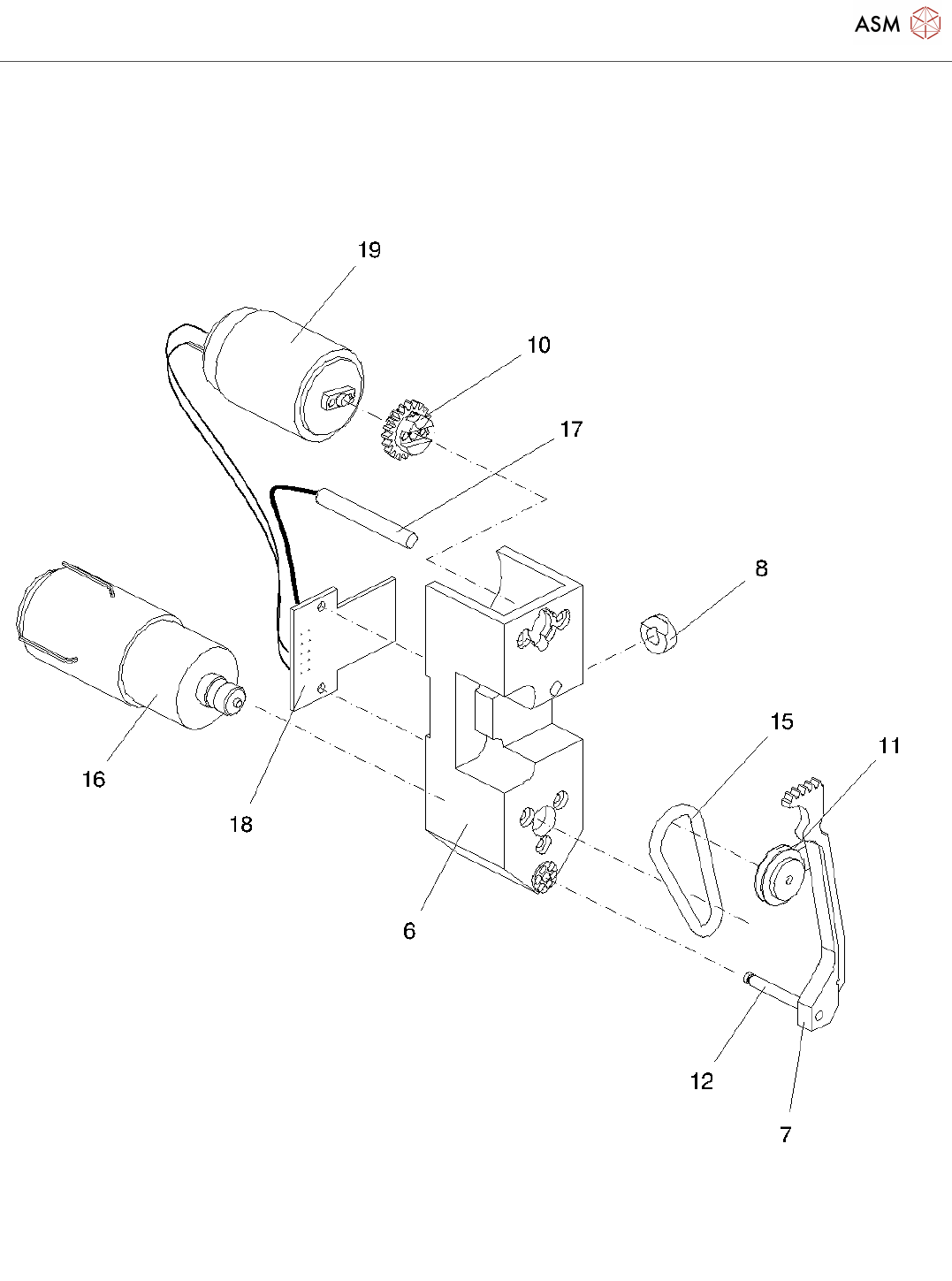
Revolver head S15 (booster compatible)
Page 10 / 20 19.11.2021

Revolver head S15 (booster compatible)
Page 11 / 20 19.11.2021